Запчасти Case IH AF4088 (74.140.AM[04]) - TAILINGS ELEVATOR ASSY (74) - CLEANING

Схема запчастей Case IH AF4088 - (74.140.AM[04]) - TAILINGS ELEVATOR ASSY (74) - CLEANING
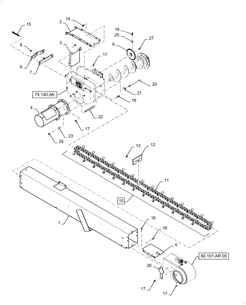
22
3
17
19
14
8
17
10
74.140.ak
1
13
2
11
4
12
20
7
5
27
23
6
24
18
15
16
80.101.ar 05
17
25
16
21
26
17
9
FIT
1:1
100%

Артикул

Название

Примечание

Количество

1

47425536

Weld Assy, Tailings Elevator

HOUSING

1шт.

2

47425571

Top Tailings Elevator Head

SUPPORT

1шт.

3

47425580

Tailings Elevator Head

COVER

1шт.

4

47425587

Weld Assy, Tailings Delivery Auger

TUBE

1шт.

5

47425592

End, False

BOTTOM

1шт.

6

47426042

Tightener Bolt

CLAMP

1шт.

7

47426044

Weld Assy, Tightener Bolt

SUPPORT

1шт.

8

87547587

LOCK NUT,Hex, M10 x 1.5, Cl 10

1шт.

9

47961130

Weld Assy, Elevator Drive, Use from 2016

SPROCKET

1шт.

10

1303114C91

ELEVATOR CHAIN,C550, 112 Links x 41.4mm = 4636.8mm

Conveyor Assy, Incl 11 - 13

1шт.

11

NSS

NOT SOLD SEPARAT

Chain, Incl in 10

1шт.

12

1303116C1

RUBBER FLIGHT

27шт.

13

185315C1

RIVET

54шт.

14

87656137

BOLT,Flange Hex, M8 x 20mm, Cl 10.9

Flange

18шт.

15

9837937

BOLT,Hex, M12 x 1.75 x 100mm, Cl 8.8

2шт.

16

847-3820

SERRATED SCREW,M8 x 20mm, Cl 10.9

14шт.

17

86507066

FLANGE NUT,M8 x 1.25, Cl 10

42шт.

18

87030775

BOLT,M8 x 38.1mm, Cl 10.9

Flange

6шт.

19

300484

SET SCREW

3шт.

20

87690472

BOLT,Hex, M8 x 180mm, Cl 8.8

1шт.

21

47558577

Unloader Housing Lower

WASHER

1шт.

22

47440448

SPACER

1шт.

23

86624184

WASHER,9mm ID x 16mm OD x 1.6mm Thk

3шт.

24

86629542

NUT,M8 x 1.25, Cl 8.8

1шт.

25

84807411

THIN NUT,Thin, M10 x 1.5, Cl 04

Jam

3шт.

26

47682632

Bracket RH, Rear Shield

SUPPORT

1шт.

27

47845070

SQUARE KEY

Use from 2016

1шт.

Выбрано товаров: 0