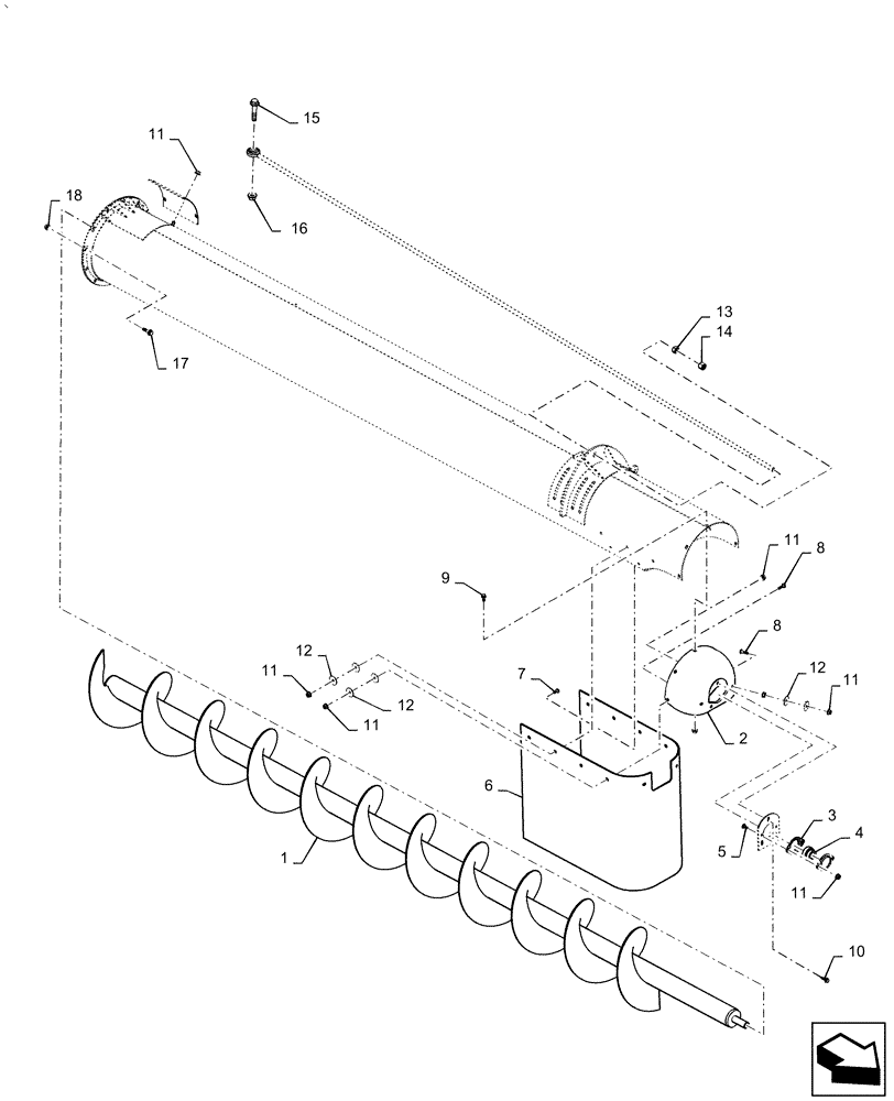
Запчасти Case IH AF4088 (80.180.AQ[01]) - AUGER ASSY UNLOADER (80) - CROP STORAGE/UNLOADING

Схема запчастей Case IH AF4088 - (80.180.AQ[01]) - AUGER ASSY UNLOADER (80) - CROP STORAGE/UNLOADING
12
1
11
4
8
11
10
14
17
18
7
13
9
6
11
12
5
11
12
8
16
11
3
2
11
15
FIT
1:1
100%

Артикул

Название

Примечание

Количество

1

47633797

Assy, Unloader

AUGER

1шт.

2

182837C2

CAP

Unloader Tube Outer

1шт.

3

50591

FLANGE,52mm

Spherical Bearing Housing

2шт.

4

325103

BALL BEARING,25mm ID x 52mm OD x 15mm W

1шт.

5

87682383

CARRIAGE BOLT,M8 x 1.25 x 20mm, Cl 10.9

2шт.

6

47462560

Unloader Down Spout

SHEET

1шт.

7

847-3820

SERRATED SCREW,M8 x 20mm, Cl 10.9

6шт.

8

847-3830

SERRATED SCREW,Sl Truss, M8 x 30mm, Cl 10.9

4шт.

9

87656137

BOLT,Flange Hex, M8 x 20mm, Cl 10.9

Flange

3шт.

10

87698833

BOLT,M8 x 33.1mm, Cl 10.9

3шт.

11

86507066

FLANGE NUT,M8 x 1.25, Cl 10

Plated

24шт.

12

86625239

WASHER,0.34" ID x 1.5" OD x 0.06" Thk

20шт.

13

84378145

NUT

Wheel

1шт.

14

12574921

NUT,Prevailing Torque, M16, 1.5mm Pitch, 18.00mm High, Cl 10, ZND

1шт.

15

87646188

FLANGE BOLT,M16 x 95.4mm, Cl 10.9

1шт.

16

87016581

FLANGE NUT,M16 x 2, CI 10

Prevailing Torque

1шт.

17

87698838

FLANGE BOLT,M10 x 35mm, Full Thd, Cl 10.9

12шт.

18

86050279

FLANGE NUT,M10 x 1.5, Cl 10

12шт.

Выбрано товаров: 18