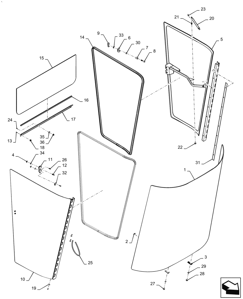
Запчасти Case IH AF4088 (90.156.AL[01]) - WINDSHIELD, GLASS, HEATER ONLY, USE FOR 2016 (90) - PLATFORM, CAB, BODYWORK AND DECALS

Схема запчастей Case IH AF4088 - (90.156.AL[01]) - WINDSHIELD, GLASS, HEATER ONLY, USE FOR 2016 (90) - PLATFORM, CAB, BODYWORK AND DECALS
24
1
19
12
29
30
9
33
21
6
22
15
35
25
28
11
5
34
17
36
14
32
7
23
31
3
27
10
8
2
13
18
4
16
20
26
FIT
1:1
100%

Артикул

Название

Примечание

Количество

1

47791944

Glass

WINDSHIELD

1шт.

2

97268C1

SPACER

Bonded Glass, Use for 2015

32шт.

2

97268C1

SPACER

Bonded Glass, Use from 2016

24шт.

3

117707A3

CLAMP

4шт.

4

825-5148

SERRATED NUT,M8, Flg Ser

3шт.

5

47797940

LH

DOOR

1шт.

6

117716A1

PROTECTOR

Guard

1шт.

7

117717A2

SPACER

1шт.

8

814-12060

BOLT,Hex, M12 x 1.75 x 60mm, Cl 8.8

1шт.

9

117718A1

PLATE

1шт.

10

47797943

RH Assy

DOOR

1шт.

11

117723A2

SUPPORT

Bracket

1шт.

12

117724A1

PIN,10mm OD x 37.8mm L

1шт.

13

117067A1

SELF-TAP SCREW,Pan Hd, #10-24 x 3/4"

Use for 2015

4шт.

14

234089A1

DOOR SEAL

Use for 2015

2шт.

14

234089A1

DOOR SEAL

Use from 2016

1шт.

15

47791952

Cab

GLASS

1шт.

16

118185A1

PROTECTOR

Isolator, Window

1шт.

17

117726A1

SUPPORT

Bracket

1шт.

18

231-51409

SERRATED NUT,Flg, USR, #10-24

Use for 2015

4шт.

19

495-31022

WASHER,#10

Use for 2015

16шт.

20

144006A1

GAS STRUT,381mm Extended, 240mm Compressed

Damper

1шт.

21

F44882

BALL

Stud

2шт.

22

231-1445

NUT,5/16"-18, GB

Privilege Torque

2шт.

23

F44883

CLIP,DIN 71805 - S10

2шт.

24

47548184

Use for 2015

SCREW,Hex Head, M5 x 0.8 x 12mm

1шт.

24

47548184

Use from 2016

SCREW,Hex Head, M5 x 0.8 x 12mm

20шт.

25

84059889

CHAIN,800mm L

Pull

1шт.

26

613-8020

BOLT,Hex, M8 x 1.25 x 20mm, Cl 8.8, Full Thd

2шт.

27

43362

NUT,M8 x 1.25, Cl 10

4шт.

28

829-1408

NUT,Hex, M8 x 1.25, Cl 10.9

Use for 2015

4шт.

29

492-11010

LOCK WASHER,#10

Use for 2015

4шт.

30

495-81017

WASHER,13.49mm ID x 19.05mm OD x 3.4mm Thk

1шт.

31

193316A1

SHIM

1шт.

32

47664275

BRACKET

1шт.

33

496-21053

WASHER,17/32" x 1 1/16" x .134"

1шт.

34

87016

WASHER,0.41" ID x 0.81" OD x 0.07" Thk

Use from 2016

8шт.

35

88612

WASHER,0.22mm ID x 0.5mm OD x 0.05mm Thk

Use from 2016

20шт.

36

86512495

FLANGE NUT,Hex, M5, Cl 8

Use from 2016

4шт.

Выбрано товаров: 39