Запчасти Case IH 9010 (39.110.02[01]) - HITCH, TRAILER - 7010/8010 (39) - FRAMES AND BALLASTING

Схема запчастей Case IH 9010 - (39.110.02[01]) - HITCH, TRAILER - 7010/8010 (39) - FRAMES AND BALLASTING
4
14
3
17
11
4
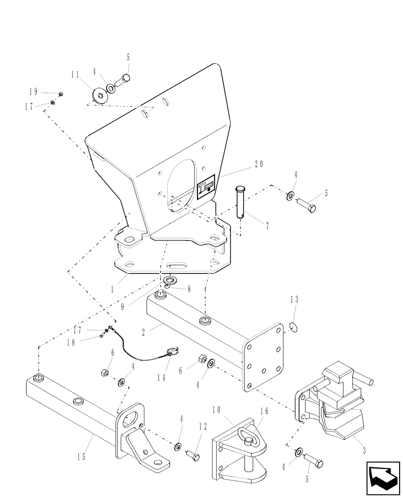
1
12
5
4
4
9
15
4
16
20
7
19
13
5
2
4
6
5
10
8
17
18
6
FIT
1:1
100%

Артикул

Название

Примечание

Количество

84083387

DIA KIT, HARVESTER

Auto-Rotating Hitch, Includes: Refs 1 Thru 20, As Indicated

1шт.

For NA Only

1шт.

84083385

DIA KIT, HARVESTER

Auto-Rotating Hitch, Includes: Refs 1 Thru 20, As Indicated

1шт.

For EU Only

1шт.

84084745

HITCH

Kit, Fixed, Includes: Refs 1 Thru 20, As Indicated

1шт.

For NA Only

1шт.

84083386

DIA KIT, HARVESTER

Fixed, Includes: 84084745

1шт.

For NA Only

1шт.

84083384

DIA KIT, HARVESTER

Fixed, Includes: Refs 1 Thru 20, As Indicated

1шт.

For EU Only

1шт.

1

87109776

HITCH

Incudes: Decal

1шт.

2

87105060

TUBE

Hitch

1шт.

For EU (Fixed Or Auto-Rotating) OR NA Auto-Rotating Hitch

1шт.

3

84400986

HITCH

Automatic

1шт.

4

140048

BELLEVILLE WASHER,M16 Bolt Size x 32mm OD x 2.8mm Thk

14шт.

5

120091

SCREW,Hex, M16 x 60mm, Cl 8.8

10шт.

6

100020

NUT,M16 x 2.0, Cl 8

4шт.

7

86984254

CLEVIS PIN,24mm OD x 135mm L

2шт.

8

9515820

COTTER PIN,M10.5 x 24mm OD x 3mm Thk

1шт.

9

140022

WASHER,26mm ID x 44mm OD x 4mm Thk

2шт.

10

84400985

HITCH

1шт.

For EU Only

1шт.

Fixed Hitch

1шт.

11

337522

WASHER,17.5mm ID x 56mm OD x 5mm Thk

2шт.

12

43168

BOLT,Hex, M16 x 40mm, Cl 8.8

2шт.

13

84334828

DECAL

100 Hour

1шт.

Used With Ref 3 Only

1шт.

14

87108028

LOCK PIN

Includes: Tether

1шт.

15

87107917

TRAILER HITCH

1шт.

Fixed Hitch

1шт.

For NA Only

1шт.

16

84817651

HITCH PIN

1шт.

For EU Only

1шт.

17

86625263

WASHER,9mm ID x 20mm OD x 1.6mm Thk

2шт.

18

43127

BOLT,Hex, M8 x 1.25 x 25mm, Cl 8.8

1шт.

19

9706690

NUT,M8 x 1.25, Cl 8

1шт.

20

84433130

DECAL

Maximum Weight

1шт.

Выбрано товаров: 37