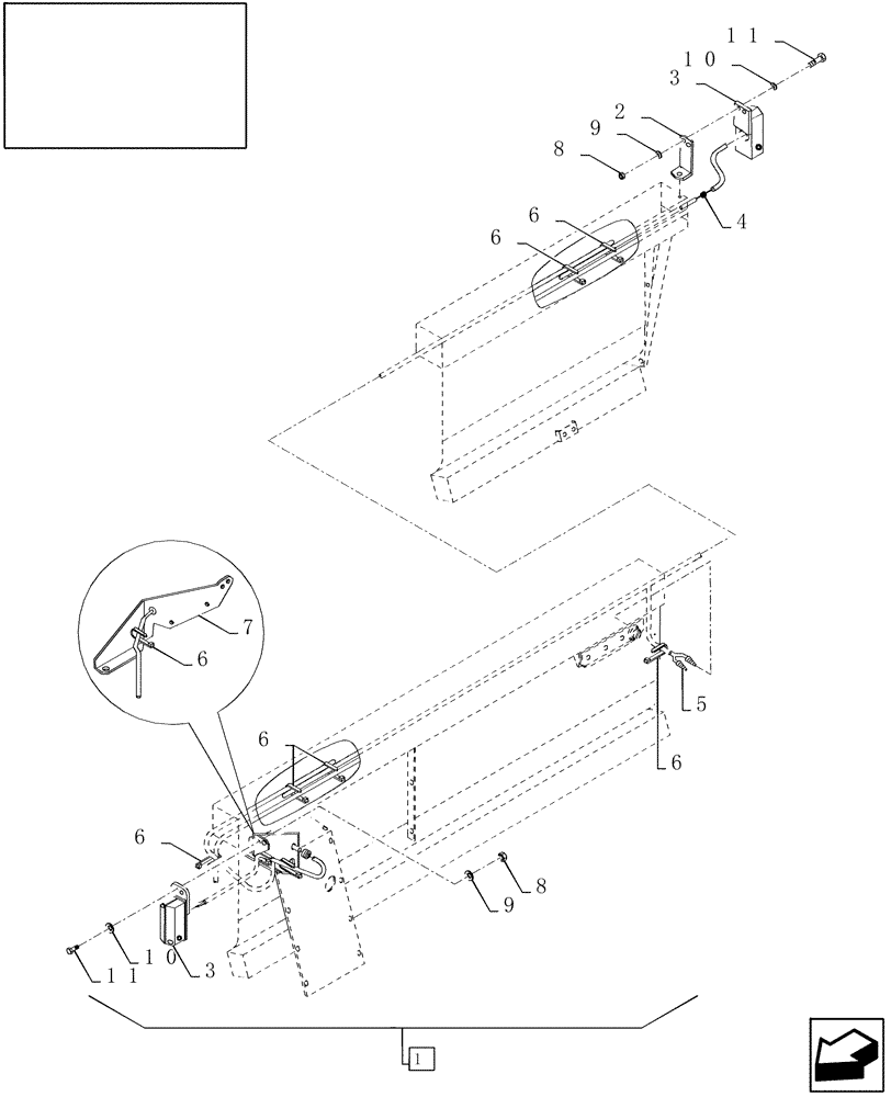
Запчасти Case IH 9010 (55.100.26) - GRAIN HEADER ILLUMINATION (55) - ELECTRICAL SYSTEMS

Схема запчастей Case IH 9010 - (55.100.26) - GRAIN HEADER ILLUMINATION (55) - ELECTRICAL SYSTEMS
10
9
8
6
7
11
9
6
2
6
6
8
3
6
4
6
5
10
1
3
11
FIT
1:1
100%

Артикул

Название

Примечание

Количество

1

84050562

DIA KIT, HARVESTER

, Serial Range: (2-11)

1шт.

2

84077733

BRACKET

1шт.

3

449531

POSITION LAMP,Red

2шт.

4

335315

GROMMET

2шт.

5

84432334

WIRE HARNESS

Grain Head Illumination

1шт.

6

86566989

CABLE TIE,208mm L

CABLE STRAP

9шт.

7

84432804

SUPPORT

1шт.

8

353308

NUT,M6 x 1.0, Cl 8

4шт.

9

322357

BELLEVILLE WASHER,M6 Bolt Size x 14mm OD x 1.3mm Thk

4шт.

10

140015

WASHER,6.4mm ID x 14mm OD x 1.6mm Thk

4шт.

11

120100

BOLT,M6 x 20mm, Cl 8.8

4шт.

Выбрано товаров: 11