Запчасти Case IH 9010 (74.110.03) - GRAIN PAN DRIVE (74) - CLEANING

Схема запчастей Case IH 9010 - (74.110.03) - GRAIN PAN DRIVE (74) - CLEANING
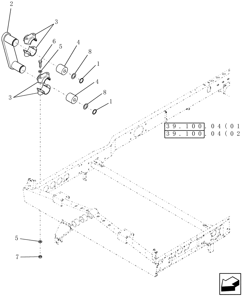
3
2
4
4
1
5
5
3
7
8
39.100.04(01)
1
39.100.04(02)
6
8
FIT
1:1
100%

Артикул

Название

Примечание

Количество

1

300627

SNAP RING,M19, External

4шт.

Used W/Prior Arm 87314038

1шт.

2

87486176

ARM

Includes: Ref 4, 87391745

2шт.

3

320033

BEARING HALF

8шт.

4

84000052

RUBBER BUSHING,14mm ID x 40mm OD x 38mm L

4шт.

Used W/Prior Arm 87314038

1шт.

4

87391745

RUBBER BUSHING,19mm ID x 42.7mm OD x 40mm L

Used W/Arm 87486176

4шт.

5

322358

BELLEVILLE WASHER,M8 Bolt Size x 18mm OD x 1.4mm Thk

16шт.

6

120062

BOLT,Hex, M8 x 70mm, Cl 8.8

8шт.

7

86629542

NUT,M8 x 1.25, Cl 8.8

8шт.

8

84032520

WASHER,19.5mm ID x 29mm OD x 1mm Thk

4шт.

Used W/Prior Arm 87314038

1шт.

Выбрано товаров: 12