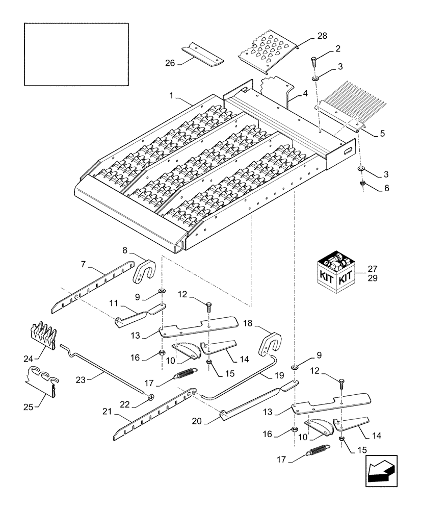
Запчасти Case IH 9010 (74.114.01[02]) - UPPER SIEVES - 8010/9010 (74) - CLEANING

Схема запчастей Case IH 9010 - (74.114.01[02]) - UPPER SIEVES - 8010/9010 (74) - CLEANING
28
17
13
27
20
29
14
18
23
19
2
3
6
9
7
1
25
13
9
10
15
8
10
17
12
26
22
24
3
16
15
14
4
12
21
11
5
16
FIT
1:1
100%

Артикул

Название

Примечание

Количество

1

47389898

SIEVE

Up, Wide, CLOSZ , 1-1/8"(7 to 24) - GALVANIZED

2шт.

Part Is Not Remote Ready; Refer To Ref 29

1шт.

1

87109830

SIEVE

1-1/8" Closz, Glavanized, Not Remote Ready

2шт.

1

87109834

SIEVE

Corn, 1-5/8"(7 to 24) - GALVANIZED

2шт.

Part Is Not Remote Ready; Refer To Ref 27

1шт.

1

87109838

SIEVE

CLOSZ Slat, 1-5/8"(7 to 24) - GALVANIZED

2шт.

Part Is Not Remote Ready; Refer To Ref 27

1шт.

1

87109842

SIEVE

Peterson, 1-1/8"(7 to 24) - GALVANIZED

2шт.

Part Is Not Remote Ready; Refer To Ref 27

1шт.

2

120100

BOLT,M6 x 20mm, Cl 8.8

1шт.

2

86508568

BOLT,Hex, M6 x 1 x 16mm, Cl 8.8

1шт.

3

412653

BELLEVILLE WASHER,M6 Bolt Size x 12mm OD x 1.2mm Thk

1шт.

4

84320875

SEAL,300mm W x 764mm OAL

1шт.

5

84100961

RAKE,151mm L

2шт.

6

9706755

NUT,M6, Cl 8

1шт.

7

84056237

ADJUSTING PLATE

1шт.

For 1-1/8" Sieve Only

1шт.

7

84056235

ADJUSTING PLATE

1шт.

For 1-5/8" Sieve Only

1шт.

8

84056254

INDICATOR

1шт.

For 1-1/8" Sieve Only

1шт.

8

84056253

INDICATOR

1шт.

For 1-5/8" Sieve Only

1шт.

9

378243

WASHER,8.4mm ID x 21mm OD x 1.6mm Thk

2шт.

10

426565

QUADRANT

2шт.

11

84053320

LEVER

1шт.

For 1-1/8" Sieve Only

1шт.

11

84056678

PLATE

1шт.

For 1-5/8" Sieve Only

1шт.

12

86508568

BOLT,Hex, M6 x 1 x 16mm, Cl 8.8

2шт.

13

9817781

HANDLE

2шт.

14

432187

HANDLE

2шт.

15

353308

NUT,M6 x 1.0, Cl 8

2шт.

16

86629542

NUT,M8 x 1.25, Cl 8.8

Prevailing Torque

2шт.

17

449942

SPRING

2шт.

18

84056802

INDICATOR

1шт.

For 1-1/8" Sieve Only

1шт.

19

84056247

ROD

1шт.

For 1-1/8" Sieve Only

1шт.

20

84053321

LEVER

1шт.

For 1-1/8" Sieve Only

1шт.

21

84056236

ADJUSTING PLATE

1шт.

For 1-1/8" Sieve Only

1шт.

22

398561

CLIP

6шт.

23

453189

WIRE

1шт.

24

445569

BAR,HC 1-1/8" X 240mm overall length

HC 1 1/8"-240

47шт.

For 1-1/8" Sieve Only

1шт.

24

324715

BAR,HC 1-1/8" x 230mm overall length

HC 1 1/8"-230

94шт.

24

445569

BAR,HC 1-1/8" X 240mm overall length

HC 1 1/8"-240

235шт.

24

80445568

BAR,HC 1-5/8" X 240mm overall length

HC 1 5/8"-240

33шт.

24

80396505

BAR,HC 1-5/8" X 230mm overall length

HC 1 5/8"-230

66шт.

24

80445568

BAR,HC 1-5/8" X 240mm overall length

HC 1 5/8"-240

165шт.

25

89832566

BAR,Peterson 240mm overall length

HC 1 1/8"-240

47шт.

25

89832565

BAR,Peterson 230mm overall length

HC 1 1/8"-230

94шт.

25

89832566

BAR,Peterson 240mm overall length

HC 1 1/8"-240

235шт.

26

84100993

PLATE

2шт.

27

84084984

SIEVE,Kit, UPPER HC 1-1/8"

Kit, HC, 1-1/8"; Includes: Ref 1, 87109830 (2), Ref 2, 86508568 (8), Ref 3, 412653 (16), Ref 5, 84100961 (2), Ref 6, 9706755 (8)

1шт.

27

84084981

DIA KIT, HARVESTER

Kit, PET, 1-1/8"; Includes: Ref 1, 87109842 (2), Ref 2, 86508568 (8), Ref 3, 412653 (16), Ref 5, 84100961 (2), Ref 6, 9706755 (8)

1шт.

27

84084324

DIA KIT, HARVESTER

Closz, 1-5/8"; Includes: Ref 1, 87109838 (2), Ref 2, 86508568 (8), Ref 3, 412653 (16), Ref 5, 84100961 (2), Ref 6, 9706755 (8)

1шт.

28

453266

SIEVE EXTENSION

Optional Graepel Sieve Extension - 784 mm Long

2шт.

28

430384

PLATE

Optional Graepel Sieve Extension - 1316 mm Long

1шт.

29

84084664

DIA KIT, HARVESTER

Chaffer, Adj, 1-5/8"; Includes: Ref 1, 87109834 (2), Ref 2, 120100 (8), Ref 3 (16), Ref 4 (2), Ref 5, 84100961 (2), Ref 6 (8), Plus Remote Plates & Hardware

1шт.

Выбрано товаров: 62