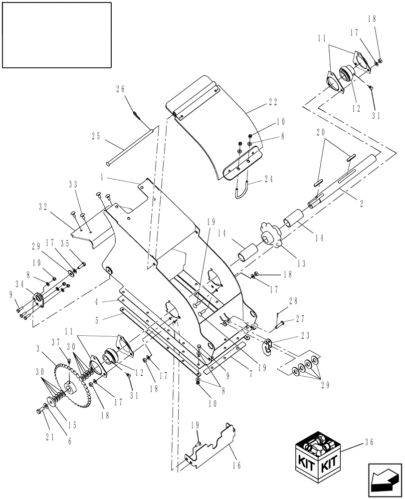
Запчасти Case IH 9010 (80.101.08) - ELEVATOR HEAD (80) - CROP STORAGE/UNLOADING

Схема запчастей Case IH 9010 - (80.101.08) - ELEVATOR HEAD (80) - CROP STORAGE/UNLOADING
6
5
24
18
33
28
11
37
16
14
1
34
30
8
30
8
13
29
8
4
17
3
21
10
32
20
22
2
31
18
19
27
17
31
36
17
18
23
14
10
19
9
25
18
12
15
9
17
35
26
12
29
11
7
19
17
10
FIT
1:1
100%

Артикул

Название

Примечание

Количество

1

87584809

FRAME

1шт.

1

87733833

FRAME

Extended Wear

1шт.

2

86998178

SHAFT

1шт.

3

87748377

SPROCKET ASSY.

Driven

1шт.

4

87283706

SEAL

1шт.

5

86998906

PLATE

2шт.

6

140046

BELLEVILLE WASHER,M12 Bolt Size x 27mm OD x 1.8mm Thk

1шт.

7

86998908

PLATE

1шт.

8

322358

BELLEVILLE WASHER,M8 Bolt Size x 18mm OD x 1.4mm Thk

28 (Std Wear), 32 (Ext Wear)

1шт.

9

43127

BOLT,Hex, M8 x 1.25 x 25mm, Cl 8.8

19шт.

10

86629542

NUT,M8 x 1.25, Cl 8.8

15 (Std Wear), 19 (Ext Wear)

1шт.

11

86620026

FLANGED BEARING

4шт.

12

87605590

BEARING ASSY,35mm ID x 72mm OD x 19mm W

& Locking Collar

2шт.

13

87283438

SPROCKET

Drive

1шт.

14

86998922

SPACER,36.45mm ID x 42.92mm OD x 83mm L

Spacer, Elevator Head

2шт.

15

87023036

WASHER,0.53" ID x 2" OD x 0.25" Thk

1шт.

16

86998886

PLATE

Strip-Off

1шт.

17

140045

BELLEVILLE WASHER,M10 Bolt Size x 22mm OD x 1.6mm Thk

12шт.

18

100016

NUT,M10 x 1.5, Cl 8

10шт.

19

86512446

CARRIAGE BOLT,M10 x 1.5 x 30mm, Cl 8.8

10шт.

20

170012

KEY,8mm W x 50mm OAL

2шт.

21

300388

BOLT,Hex, M12 x 1.75 x 25mm, Cl 8.8

1шт.

22

87109213

COVER

Top

1шт.

22

87733829

COVER ASSY

Top; Extended Wear

1шт.

23

86581559

HANDLE

1шт.

24

84989315

U-BOLT,M8 x 1.25 x 26mm Threaded x 63.5mm W x 90.4mm OAL

1шт.

25

86998942

PIN

1шт.

26

216698

COTTER PIN,0.125" OD x 1.75" L

1шт.

27

9507095

CLEVIS PIN,10mm OD x 40mm L

1шт.

28

280251

COTTER PIN,3/32" OD x 1" OAL

1шт.

29

140042

WASHER,11mm ID x 34mm OD x 3mm Thk

6шт.

30

87584813

WASHER,30.5mm ID x 51mm OD x 1.17mm Thk

8/ARшт.

31

87016482

SET SCREW,M10 x 10mm

2шт.

32

87733824

WEAR PLATE

Extended

1шт.

33

86512420

CARRIAGE BOLT,Rnd Head, M8 x 1.25 x 20mm, Full Thd, Cl 8.8

4шт.

34

87678426

PIVOT ASSY.

2шт.

35

43140

BOLT,Hex, M10 x 1.5 x 30mm, Cl 8.8

2шт.

36

87753012

DIA KIT, HARVESTER

Elevator Head Extended Wear

1шт.

Includes: Refs 1, 4, 5(2), 7, 8(38), 9(19), 10(25), 17(2), 22, 23, 24(1), 25(2), 26(2), 27(1), 28(1), 29(6), 32, 33(4), 34(2), 35(2), Plus Instructions

1шт.

37

380530

SET SCREW,Hex, M8 x 10mm

1шт.

Выбрано товаров: 40