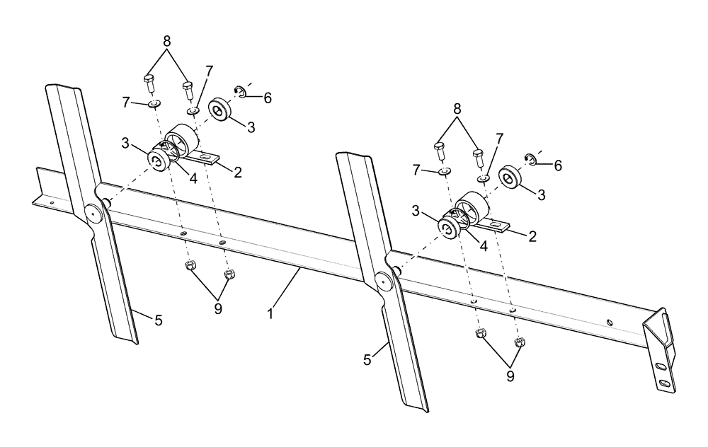
Запчасти Case IH AFX8010 (B.50.A.32.65) - CHAFF WIPER ASSEMBLY B - Power Production

Схема запчастей Case IH AFX8010 - (B.50.A.32.65) - CHAFF WIPER ASSEMBLY B - Power Production
3
7
7
8
3
7
2
3
9
3
1
2
5
6
4
7
8
5
6
9
4
FIT
1:1
100%

Артикул

Название

Примечание

Количество

1

86976177

SUPPORT

1шт.

2

604599

SUPPORT

2шт.

3

308803

BALL BEARING

4шт.

4

300642

CIRCLIP,M35 x 1.5mm W, Internal

2шт.

5

86976959

FAN BLADE

BLADE

2шт.

6

NNA301615

SNAP RING

2шт.

7

322358

BELLEVILLE WASHER,M8 Bolt Size x 18mm OD x 1.4mm Thk

4шт.

8

120104

BOLT,Hex, M8 x 1.25 x 20mm, Cl 8.8

4шт.

9

832-46408

NUT,M8 x 1.25, Cl 8

4шт.

Выбрано товаров: 9