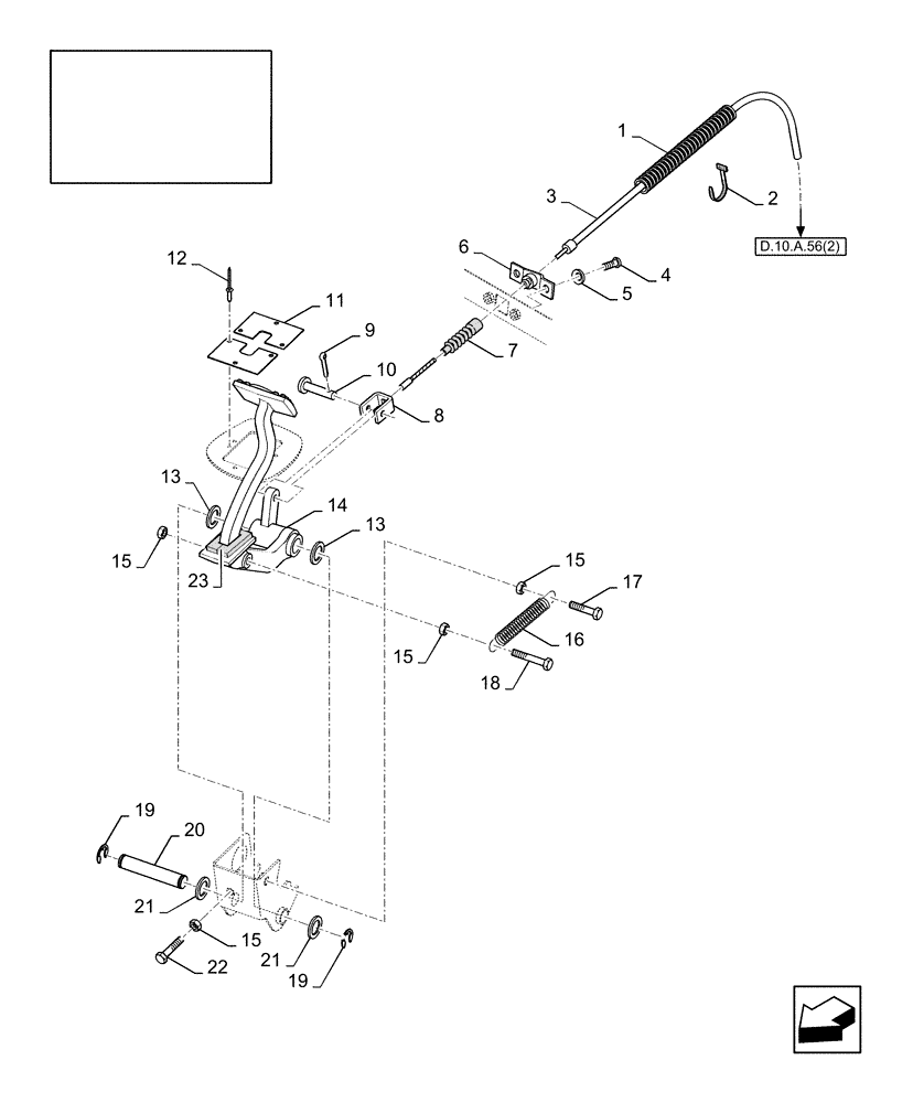
Запчасти Case IH AFX8010 (D.10.A.56[1]) - DIFFERENTIAL LOCK CONTROL C - Power Train

Схема запчастей Case IH AFX8010 - (D.10.A.56[1]) - DIFFERENTIAL LOCK CONTROL C - Power Train
22
3
13
13
1
6
9
15
2
5
18
10
15
12
23
15
21
20
8
19
4
11
14
21
15
7
19
16
d.10.a.56(2)
17
FIT
1:1
100%

Артикул

Название

Примечание

Количество

1

9507812

CONDUIT

Protection

1шт.

2

323597

CABLE TIE,165mm OAL x 9mm Thk

CABLE STRAP

1шт.

3

9508257

CABLE,3980mm L

1шт.

4

120100

BOLT,M6 x 20mm, Cl 8.8

2шт.

5

322357

BELLEVILLE WASHER,M6 Bolt Size x 14mm OD x 1.3mm Thk

2шт.

6

84064224

BRACKET

1шт.

7

427705

COVER

1шт.

8

388340

YOKE

1шт.

9

86977785

COTTER PIN,M1.6 x 20mm

1шт.

10

376876

CLEVIS PIN,6mm OD x 30mm L

1шт.

11

84064130

PLATE

2шт.

12

425519

RIVET,Pop, 3.96mm OD x 8.6mm L

6шт.

13

393062

WASHER,17mm ID x 45mm OD x 1mm Thk

2шт.

14

84334950

PEDAL

1шт.

15

9706690

NUT,M8 x 1.25, Cl 8

4шт.

16

354039

SPRING

1шт.

17

43128

BOLT,M8 x 1.25 x 30mm, Cl 8.8

1шт.

18

87015731

BOLT,M8 x 1.25 x 55.45mm OAL, Cl 8.8, Full Thd

1шт.

19

84062118

CIRCLIP,M12 ID x 13mm OD, External

2шт.

20

84064170

PIN

1шт.

21

9513615

WASHER,16.5mm ID x 34mm OD x 0.5mm Thk

2шт.

22

43129

BOLT,Hex, M8 x 1.25 x 40mm, LH Thd, Cl 8.8

1шт.

23

9819826

INSULATION

1шт.

Выбрано товаров: 23