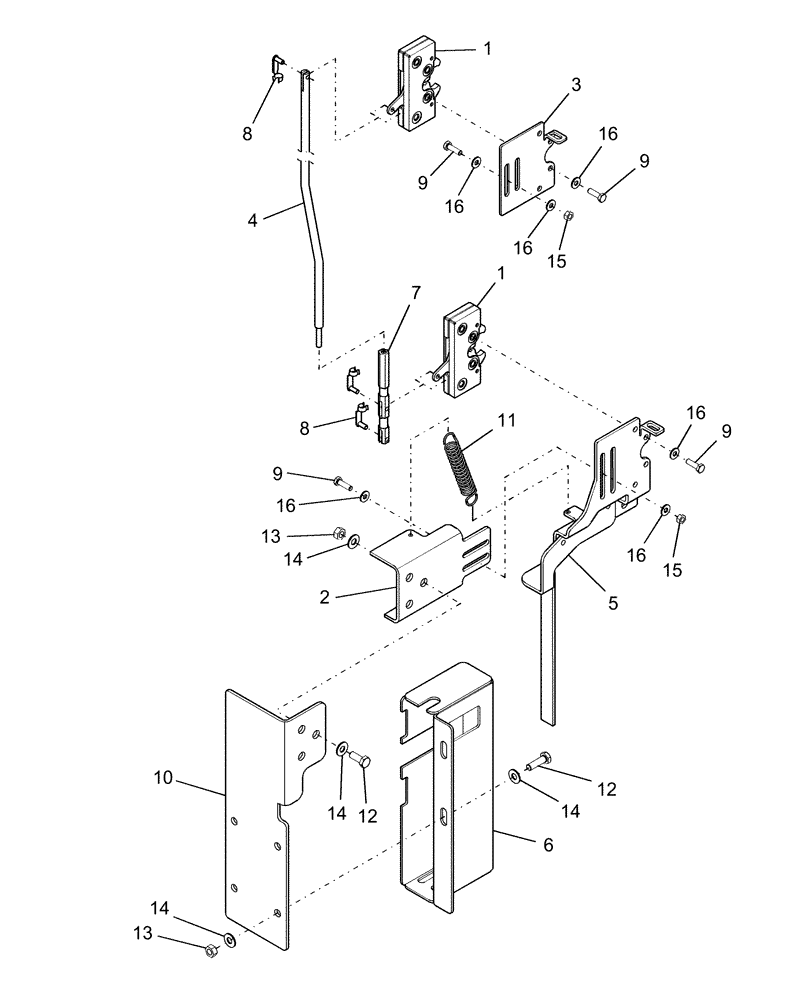
Запчасти Case IH AFX8010 (E.20.A.70[12]) - LATCH, SIDE, DUAL - EU - P.I.N. & AFTER E - Body and Structure

Схема запчастей Case IH AFX8010 - (E.20.A.70[12]) - LATCH, SIDE, DUAL - EU - P.I.N. & AFTER E - Body and Structure
8
16
7
14
14
9
10
9
8
9
9
5
1
15
16
11
3
12
14
4
2
1
13
14
16
16
16
12
6
15
13
16
FIT
1:1
100%

Артикул

Название

Примечание

Количество

1

87282640

LATCH

2шт.

2

87282594

BRACKET

1шт.

3

87282458

BRACKET

Upper

1шт.

4

87282457

ROD

LH

1шт.

5

87282489

LEVER

LH

1шт.

6

87282462

COVER

LH

1шт.

7

87282456

CLEVIS

Dual Latch

1шт.

8

87282455

LOCK PIN

3шт.

9

120100

BOLT,M6 x 20mm, Cl 8.8

8шт.

10

87280155

BRACKET

Door, LH

1шт.

11

87109697

SPRING

Extension

1шт.

12

120104

BOLT,Hex, M8 x 1.25 x 20mm, Cl 8.8

7шт.

13

9706690

NUT,M8 x 1.25, Cl 8

7шт.

14

322358

BELLEVILLE WASHER,M8 Bolt Size x 18mm OD x 1.4mm Thk

14шт.

15

9706755

NUT,M6, Cl 8

4шт.

16

322357

BELLEVILLE WASHER,M6 Bolt Size x 14mm OD x 1.3mm Thk

12шт.

17

87282181

BRACKET

1шт.

Выбрано товаров: 17