Запчасти Case IH AFX8010 (E.30.A.70[2]) - FRAME, ENGINE E - Body and Structure

Схема запчастей Case IH AFX8010 - (E.30.A.70[2]) - FRAME, ENGINE E - Body and Structure
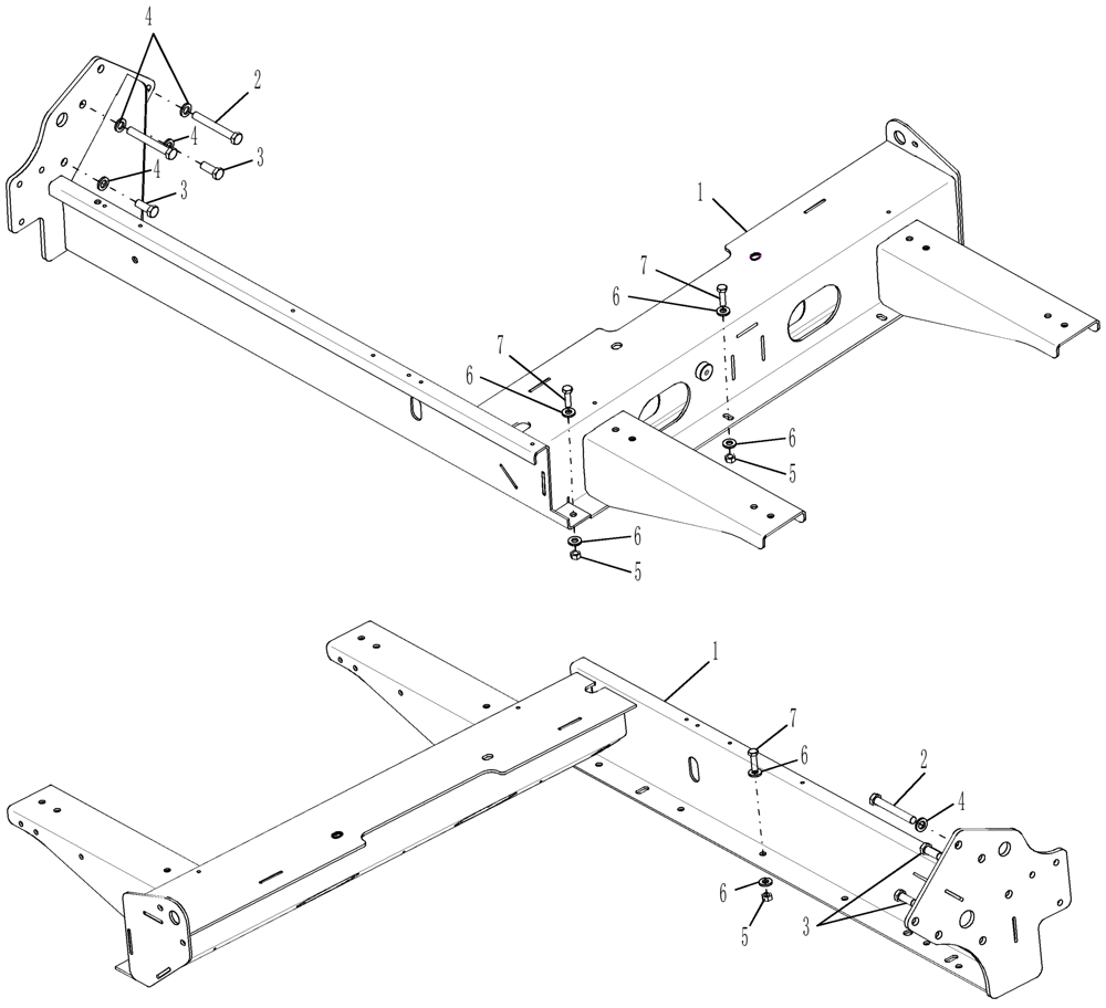
1
6
5
7
4
4
5
6
3
7
4
2
4
6
7
2
1
6
6
3
3
5
6
FIT
1:1
100%

Артикул

Название

Примечание

Количество

1

87108613

FRAME

Engine Compartment

1шт.

1

87282107

FRAME

Tier 2

1шт.

1

87510712

FRAME

Tier 3

1шт.

1

87351473

FRAME

Used With New Fuel Tank 87351468 - Replaces 87510712

1шт.

2

321246

BOLT,Hex, M16 x 2 x 120mm, Cl 8.8

3шт.

3

43168

BOLT,Hex, M16 x 40mm, Cl 8.8

3шт.

4

86625266

WASHER,17.5mm ID x 30mm OD x 4mm Thk

6шт.

5

9706685

NUT,M12 x 1.75, Cl 8

12шт.

6

86625256

WASHER,13.3mm ID x 28.5mm OD x 4mm Thk

24шт.

7

86629541

BOLT,Hex, M12 x 1.75 x 40mm, Cl 8.8

12шт.

Выбрано товаров: 10