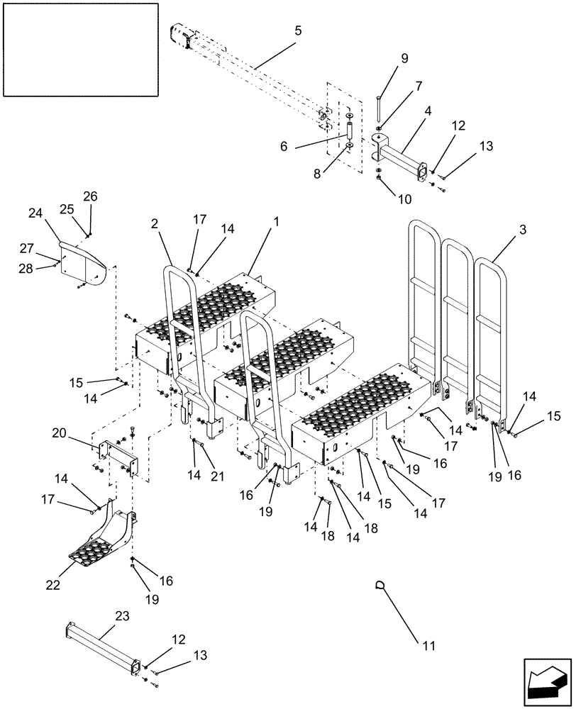
Запчасти Case IH AFX8010 (E.34.A.70[4]) - PLATFORM EXTENSIONS - PIN HAJ105201NA/HAJ103201EU AND AFTER E - Body and Structure

Схема запчастей Case IH AFX8010 - (E.34.A.70[4]) - PLATFORM EXTENSIONS - PIN HAJ105201NA/HAJ103201EU AND AFTER E - Body and Structure
11
14
19
12
18
14
19
10
14
14
2
16
12
23
14
8
13
14
9
22
16
20
18
17
19
15
24
21
7
27
6
17
13
1
19
25
16
14
15
14
3
26
5
14
28
17
4
14
16
17
15
FIT
1:1
100%

Артикул

Название

Примечание

Количество

84083290

DIA KIT, HARVESTER

250 mm Platform Extension

1шт.

84083181

DIA KIT, HARVESTER

250 mm Platform Extension

1шт.

Europe Only

1шт.

84083291

DIA KIT, HARVESTER

500 mm Platform Extensions

1шт.

84083366

DIA KIT, HARVESTER

500 mm Platform Extensions

1шт.

Europe Only

1шт.

84083292

DIA KIT, HARVESTER

750 mm Platform Extensions

1шт.

1

87109473

PLATFORM

1шт.

2

87109929

HANDRAIL

1шт.

3

87280493

HANDRAIL

1шт.

4

87109737

SUPPORT

1шт.

5

87109713

, Years: -09-FEB-04

1шт.

5

87283303

WARNING LIGHT

Used W/250 mm Extension, Start Year: 09-FEB-04

1шт.

5

87109717

, Years: -09-FEB-04

1шт.

5

87283302

WARNING LIGHT

Used W/500 mm Extensions, Start Year: 09-FEB-04

1шт.

5

87109721

, Years: -09-FEB-04

1шт.

5

87283301

SUPPORT

Used W/750 mm Extensions, Start Year: 09-FEB-04

1шт.

6

87105383

SPACER,12.7mm ID x 25.4mm OD x 96.4mm L

1шт.

7

140046

BELLEVILLE WASHER,M12 Bolt Size x 27mm OD x 1.8mm Thk

2шт.

8

86997936

WASHER,12.7mm ID x 38.1mm OD x 3.18mm Thk

2шт.

9

385427

BOLT,Hex, M12 x 1.75 x 150mm, Cl 8.8

1шт.

10

9706685

NUT,M12 x 1.75, Cl 8

1шт.

11

86566989

CABLE TIE,208mm L

CABLE STRAP

3шт.

12

322358

BELLEVILLE WASHER,M8 Bolt Size x 18mm OD x 1.4mm Thk

2шт.

13

120104

BOLT,Hex, M8 x 1.25 x 20mm, Cl 8.8

2шт.

14

86511323

WASHER,10.5mm ID x 20mm OD x 2mm Thk

1шт.

15

43139

BOLT,M10 x 1.5 x 25mm, Cl 8.8

1шт.

16

140045

BELLEVILLE WASHER,M10 Bolt Size x 22mm OD x 1.6mm Thk

1шт.

17

43138

BOLT,Hex, M10 x 1.5 x 20mm, Cl 8.8

1шт.

18

43140

BOLT,Hex, M10 x 1.5 x 30mm, Cl 8.8

1шт.

19

100016

NUT,M10 x 1.5, Cl 8

1шт.

20

87428462

SUPPORT

LH Step

1шт.

21

120068

BOLT,Hex, M10 x 40mm, Cl 8.8

1шт.

22

87281023

STEP

Access

1шт.

23

87281175

EXTENSION

Extension, 500 mm - EU Only

1шт.

24

87109591

COVER

Chin Guard - EU Only

1шт.

25

322357

BELLEVILLE WASHER,M6 Bolt Size x 14mm OD x 1.3mm Thk

EU Only

3шт.

26

86500688

NUT,Hex, M6 x 1.0, Cl 10.9

EU Only

3шт.

27

86588450

WASHER,6.6mm ID x 12mm OD x 1.6mm Thk

EU Only

3шт.

28

120100

BOLT,M6 x 20mm, Cl 8.8

EU Only

3шт.

Выбрано товаров: 40