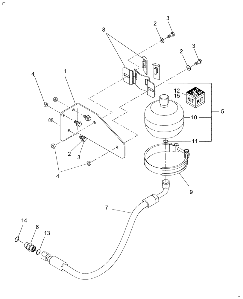
Запчасти Case IH AFX8010 (G.10.A.30) - ACCUMULATOR - RIDE CONTROL G - Tool Positioning

Схема запчастей Case IH AFX8010 - (G.10.A.30) - ACCUMULATOR - RIDE CONTROL G - Tool Positioning
1
10
12
3
4
2
8
2
3
2
14
11
15
3
9
6
5
4
13
7
FIT
1:1
100%

Артикул

Название

Примечание

Количество

84083383

KIT

Ride Control Accumulator

1шт.

1

87105672

BRACKET

1шт.

2

322358

BELLEVILLE WASHER,M8 Bolt Size x 18mm OD x 1.4mm Thk

5шт.

3

120104

BOLT,Hex, M8 x 1.25 x 20mm, Cl 8.8

5шт.

4

9706690

NUT,M8 x 1.25, Cl 8

5шт.

5

86976987

ACCUMULATOR

Hydraulic System, Includes Ref. 10, 11 & 12

1шт.

6

86579676

HYD CONNECTOR,13/16" - 16 ORFS x M18 x 1.5 ORB

1шт.

7

87105677

HOSE

To Ride Control Accumulator; L = 610mm

1шт.

8

NSS

NOT SOLD SEPARAT

Bracket; See Ref. 15

1шт.

9

NSS

NOT SOLD SEPARAT

Clamp; See Ref. 15

1шт.

10

87105673

ACCUMULATOR

1шт.

11

9992298

O-RING,0.07" Thk x 0.489" ID, -14, Cl 6, 90 Duro

1шт.

12

87106501

KIT

Charging Valve

1шт.

13

86598101

O-RING,2.2mm Thk x 15.3mm ID, Cl 6, 90 Duro

1шт.

14

9992298

O-RING,0.07" Thk x 0.489" ID, -14, Cl 6, 90 Duro

1шт.

15

84133868

CLAMP

Clamp; Includes: Ref.s 8 & 9

1шт.

Выбрано товаров: 16