Запчасти Case IH AFX8010 (K.60.B.42[2]) - CLUTCH ASSEMBLY, ELEVATOR HOUSING K - Crop Processing

Схема запчастей Case IH AFX8010 - (K.60.B.42[2]) - CLUTCH ASSEMBLY, ELEVATOR HOUSING K - Crop Processing
8
9
6
7
5
3
4
2
1
FIT
1:1
100%

Артикул

Название

Примечание

Количество

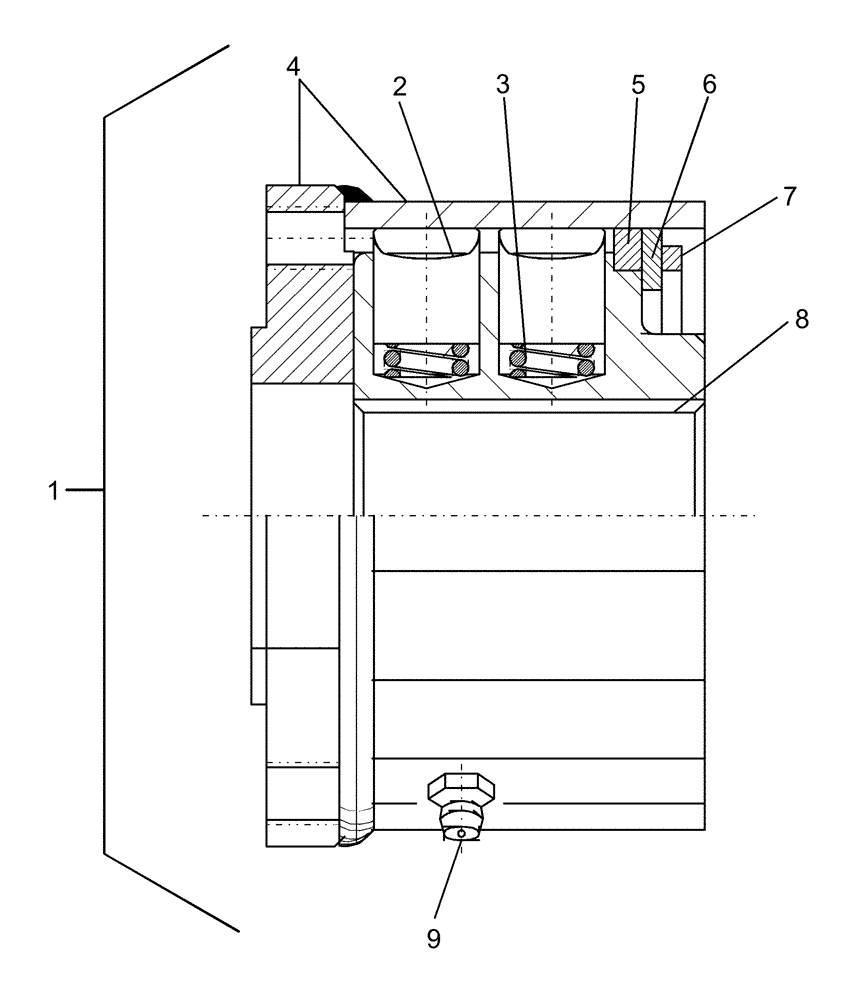
1

86975811

CLUTCH ASSEMBLY

Includes: Ref. 2 thru 9, Serial Range: -HAJ106892

1шт.

1

87527860

CLUTCH ASSEMBLY

Includes: Ref. 2 thru 9, Start Serial: HAJ106893

1шт.

2

275246

CAM

16шт.

3

386510

SPRING,Compression, 13mm OD X 13.2mm L

Outer

16шт.

3

297908A1

SPRING

Inner, Start Serial: HAJ106893

14шт.

4

NSS

NOT SOLD SEPARAT

Housing, Clutch

1шт.

5

428144

SEALING RING

1шт.

6

86636027

DISC

1шт.

7

300633

SNAP RING,M80, Internal

Retainer

1шт.

8

NSS

NOT SOLD SEPARAT

Hub, 1-3/8", 21 Spline

1шт.

9

84447449

LUBE NIPPLE,M8.2 x 1

1шт.

Выбрано товаров: 11