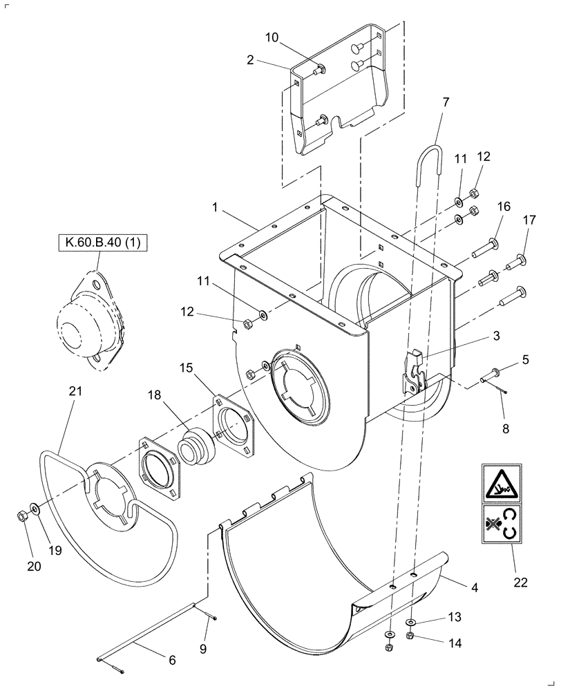
Запчасти Case IH AFX8010 (K.60.B.52[4]) - BOTTOM BOOT, CLEAN GRAIN ELEVATOR - P.I.N. HAJ106401 & AFTER K - Crop Processing

Схема запчастей Case IH AFX8010 - (K.60.B.52[4]) - BOTTOM BOOT, CLEAN GRAIN ELEVATOR - P.I.N. HAJ106401 & AFTER K - Crop Processing
10
12
8
2
k.60.b.40 (1)
18
3
13
11
9
22
15
19
1
4
11
17
12
14
20
6
5
16
7
21
FIT
1:1
100%

Артикул

Название

Примечание

Количество

1

87282146

BOOT

1шт.

1

87284082

BOOT

1шт.

For EU Only

1шт.

2

87282158

PLATE

Plate, Strip Off

1шт.

3

86581559

HANDLE

1шт.

4

87282183

DOOR

1шт.

5

9507095

CLEVIS PIN,10mm OD x 40mm L

1шт.

6

86998877

PIN

1шт.

7

84989315

U-BOLT,M8 x 1.25 x 26mm Threaded x 63.5mm W x 90.4mm OAL

1шт.

8

280251

COTTER PIN,3/32" OD x 1" OAL

1шт.

9

80755

COTTER PIN,1/8" OD x 1" L

2шт.

10

120041

CARRIAGE BOLT,M10 x 20mm, Cl 8.8

4шт.

11

140045

BELLEVILLE WASHER,M10 Bolt Size x 22mm OD x 1.6mm Thk

4шт.

12

100016

NUT,M10 x 1.5, Cl 8

4шт.

13

378243

WASHER,8.4mm ID x 21mm OD x 1.6mm Thk

2шт.

14

832-46408

NUT,M8 x 1.25, Cl 8

2шт.

15

1307583C1

FLANGED BEARING

Bearing

2шт.

16

412097

CARRIAGE BOLT,Short Sq Nk, M12 x 1.75 x 60mm, Cl 8.8

2шт.

17

811-12040

CARRIAGE BOLT,Sht Sq Nk, M12 x 1.75 x 40mm, Cl 8.8

2шт.

18

87283097

BEARING, ROLLER, CYL,40 mm ID x 80 mm OD x 56.3 mm

1шт.

19

140046

BELLEVILLE WASHER,M12 Bolt Size x 27mm OD x 1.8mm Thk

4шт.

20

9706685

NUT,M12 x 1.75, Cl 8

4шт.

21

87283086

Guard - Germany Only

1шт.

22

84004734

WARNING DECAL

Do Not Open or Remove Safety Shields while Engine is Running

1шт.

Выбрано товаров: 24