Запчасти Case IH AFX8010 (K.62.B.41[3]) - ECCENTRIC AND SHAKER SHOE DRIVE K - Crop Processing

Схема запчастей Case IH AFX8010 - (K.62.B.41[3]) - ECCENTRIC AND SHAKER SHOE DRIVE K - Crop Processing
17
1
24
2
25
18
11
7
2
21
11
13
13
18
8
14
4
17
16
5
7
14
12
k.62.b.41(1)
k.62.b.42
16
9
12
15
k.62.b.40(2)
6
3
8
16
20
19
9
4
15
22
10
10
6
1
3
FIT
1:1
100%

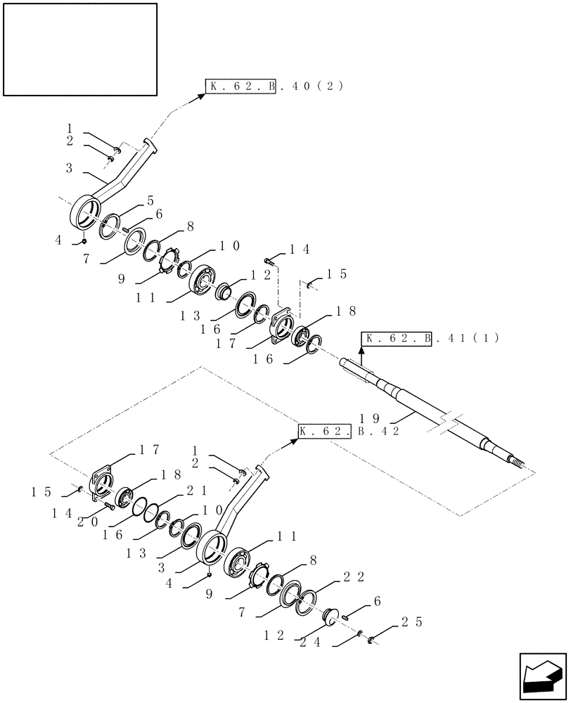
Артикул

Название

Примечание

Количество

1

140018

WASHER,13.5mm ID x 24mm OD x 2.5mm Thk

4шт.

2

100038

NUT,M12 x 1.75, Cl 8

4шт.

3

84320634

ARM

2шт.

3

87317702

ARM

2шт.

Enhanced Cleaning

1шт.

Also Included In Enhanced Cleaning Kit; See Fig. K.62.B.63

1шт.

4

321204

LUBE NIPPLE,M6 x 1.0 x 16mm OAL

2шт.

5

370014

SNAP RING,M130, Internal

2шт.

6

9817851

KEY,8mm OD x 32mm OAL

2шт.

7

9832769

BEARING COVER

2шт.

8

448736

FELT SEAL,85mm ID x 98mm OD x 5mm Thk

SEALRING Seal

2шт.

9

9831118

BEARING COVER,100 mm ID x 129.5 mm OD x 6.5 mm

Bearing Cover

2шт.

10

89832771

LOCKING RING

2шт.

10

370010

SNAP RING,M100, External

2шт.

Enhanced Cleaning

1шт.

Also Included In Enhanced Cleaning Kit; See Fig. K.62.B.63

1шт.

11

9833081

BALL BEARING,85mm ID x 130mm OD x 22mm W

2шт.

11

87315721

BALL BEARING,100mm ID x 150mm OD x 24mm W

2шт.

Enhanced Cleaning

1шт.

Also Included In Enhanced Cleaning Kit; See Fig. K.62.B.63

1шт.

12

9832765

ECCENTRIC,38.3mm ID x 85mm OD x 38mm W

2шт.

12

87316081

ECCENTRIC

2шт.

Enhanced Cleaning

1шт.

Also Included In Enhanced Cleaning Kit; See Fig. K.62.B.63

1шт.

13

9832772

RING,91.5mm ID x 130mm OD x 0.5mm Thk

2шт.

14

9706687

BOLT,M12 x 1.75 x 30mm, Cl 8.8

8шт.

15

140046

BELLEVILLE WASHER,M12 Bolt Size x 27mm OD x 1.8mm Thk

8шт.

16

370013

SNAP RING,M90 x 3mm Thk, Internal

3шт.

17

84320474

BEARING HOUSING

2шт.

18

913716

BALL BEARING,40mm ID x 90mm OD x 23mm W

2шт.

19

86980613

SHAFT

1шт.

20

80435045

SHIM

2шт.

21

80448780

SHIM

2шт.

22

370014

SNAP RING,M130, Internal

2шт.

22

11077476

SNAP RING,M150, Internal

2шт.

Enhanced Cleaning

1шт.

Also Included In Enhanced Cleaning Kit; See Fig. K.62.B.63

1шт.

23

Reference Not Used

1шт.

24

378247

WASHER,21mm ID x 39mm OD x 3mm Thk

1шт.

25

320771

NUT,Thin, M20 x 1.5, Cl 04

1шт.

Выбрано товаров: 40