Запчасти Case IH AFX8010 (K.64.C.49[1]) - STRAWCHOPPER DRIVE - TENSIONER K - Crop Processing

Схема запчастей Case IH AFX8010 - (K.64.C.49[1]) - STRAWCHOPPER DRIVE - TENSIONER K - Crop Processing
3
20
3
4
12
2
7
18
8
4
6
1
2
11
15
22
14
6
10
22
9
16
7
8
19
21
17
9
5
5
13
FIT
1:1
100%

Артикул

Название

Примечание

Количество

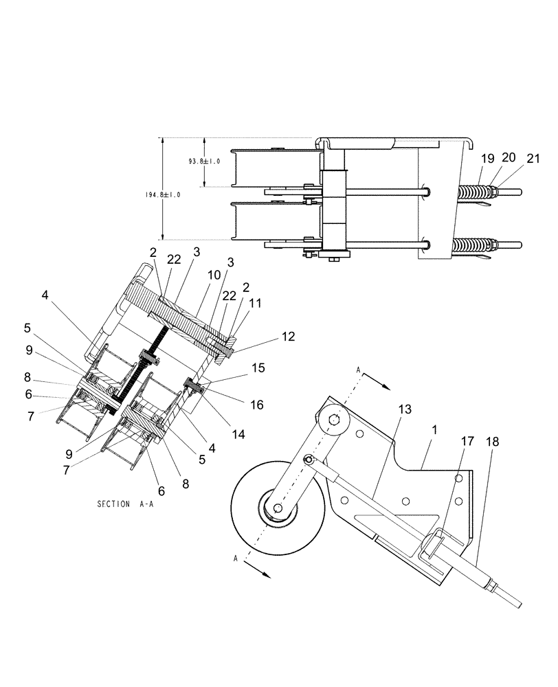
1

87107122

BRACKET

1шт.

2

27317

WASHER,26mm ID x 51mm OD x 1.17mm Thk

(Shim)

1шт.

3

86976291

SWINGING DRAWBAR

Idler - Includes (2) Ref. 22

2шт.

4

84072441

IDLER,180mm OD

2шт.

5

370011

CIRCLIP,M52 x 2mm Thk, Internal

4шт.

6

84057966

BALL BEARING,25mm ID x 52mm OD x 15mm W

4шт.

7

84057817

BUSHING,16.5mm ID x 32mm OD x 53.8mm L

2шт.

8

120093

BOLT,M16 x 2.0 x 90.18mm, Cl 8.8

2шт.

9

140048

BELLEVILLE WASHER,M16 Bolt Size x 32mm OD x 2.8mm Thk

2шт.

10

86976292

SPACER

1шт.

11

84073172

WASHER,13mm ID x 60mm OD x 12mm Thk

1шт.

12

9706687

BOLT,M12 x 1.75 x 30mm, Cl 8.8

1шт.

13

86975966

ROD,501.5mm OAL

2шт.

14

390040

COTTER PIN,10mm OD x 39mm L

2шт.

15

9820489

WASHER

M10

2шт.

16

130003

COTTER PIN,3mm OD x 30mm OAL

2шт.

17

86560521

PIVOT,13mm ID x 50mm OD x 25.4mm Thk

2шт.

18

86596885

INDICATOR

2шт.

19

84814905

SPRING

2шт.

20

140018

WASHER,13.5mm ID x 24mm OD x 2.5mm Thk

2шт.

21

412126

NUT,M12 x 1.75

2шт.

22

84057311

BUSHING,25mm ID x 28mm OD x 20mm L

4шт.

Выбрано товаров: 22