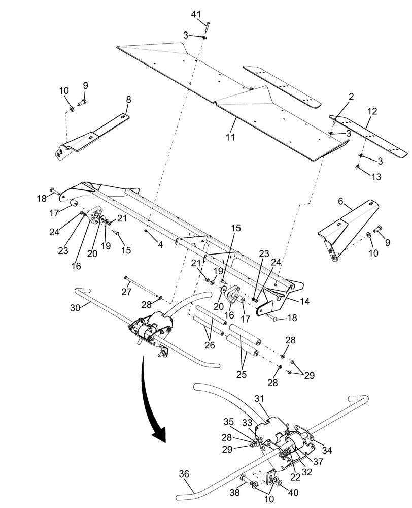
Запчасти Case IH AFX8010 (K.64.D.62[1]) - OSCILLATING CHAFFER PAN K - Crop Processing

Схема запчастей Case IH AFX8010 - (K.64.D.62[1]) - OSCILLATING CHAFFER PAN K - Crop Processing
15
21
16
34
22
29
37
24
21
38
17
29
9
28
32
30
18
10
18
12
20
6
4
28
17
26
35
11
10
36
13
33
25
3
14
8
28
3
27
15
40
24
41
19
20
3
9
16
23
19
28
2
10
31
23
FIT
1:1
100%

Артикул

Название

Примечание

Количество

2

43128

BOLT,M8 x 1.25 x 30mm, Cl 8.8

6шт.

3

80140041

WASHER

M8

20шт.

4

9628098

NUT,M8 x 1.25, Cl 10

8шт.

6

87281225

BRACKET

LH

1шт.

8

87281226

BRACKET

RH

1шт.

9

43168

BOLT,Hex, M16 x 40mm, Cl 8.8

4шт.

10

140048

BELLEVILLE WASHER,M16 Bolt Size x 32mm OD x 2.8mm Thk

8шт.

11

87000126

SHEET

1шт.

12

87000125

SHEET

2шт.

13

84807781

WING NUT,M8

6шт.

14

87108990

FRAME

1шт.

15

43139

BOLT,M10 x 1.5 x 25mm, Cl 8.8

6шт.

16

87105202

BUSHING

2шт.

17

87000413

BUSHING,12.7mm ID x 31.75mm OD x 32mm L

2шт.

18

412097

CARRIAGE BOLT,Short Sq Nk, M12 x 1.75 x 60mm, Cl 8.8

2шт.

19

140046

BELLEVILLE WASHER,M12 Bolt Size x 27mm OD x 1.8mm Thk

2шт.

20

9511052

WASHER,13.5mm ID x 44mm OD x 4mm Thk

2шт.

21

9706685

NUT,M12 x 1.75, Cl 8

2шт.

22

43140

BOLT,Hex, M10 x 1.5 x 30mm, Cl 8.8

7шт.

23

80140017

WASHER

M10

6шт.

24

86512554

NUT,M10 x 1.5, Cl 10

6шт.

25

NS

NOT SERVICED

Roller

2шт.

When Replacement Is Necessary, Must Install Chaffer Pan Upgrade Kit - Refer To Fig. K.64.D.62[2]

1шт.

26

NS

NOT SERVICED

Bushing

2шт.

When Replacement Is Necessary, Must Install Chaffer Pan Upgrade Kit - Refer To Fig. K.64.D.62[2]

1шт.

27

412004

BOLT,Hex, M10 x 1.5 x 260mm, Cl 8.8

2шт.

28

140045

BELLEVILLE WASHER,M10 Bolt Size x 22mm OD x 1.6mm Thk

18шт.

29

100016

NUT,M10 x 1.5, Cl 8

9шт.

30

86999517

SUPPORT

1шт.

31

NS

NOT SERVICED

Bracket

1шт.

When Replacement Is Necessary, Must Install Chaffer Pan Upgrade Kit - Refer To Fig. K.64.D.62[2]

1шт.

32

86999506

BRACKET

1шт.

33

86997386

BUSHING,11.15mm ID x 22.23mm OD x 8mm L

2шт.

34

86999529

PLATE

2шт.

35

80140042

WASHER

M10

2шт.

36

86999516

LATCH

1шт.

37

86638213

SPRING

1шт.

38

614-16050

BOLT,Hex, M16 x 2 x 50mm, Cl 8.8, Full Thd

2шт.

39

140048

BELLEVILLE WASHER,M16 Bolt Size x 32mm OD x 2.8mm Thk

6шт.

40

825-1416

NUT,M16, Cl 8

1шт.

41

43130

BOLT,Hex, M8 x 1.25 x 50mm, Cl 8.8

8шт.

Выбрано товаров: 41