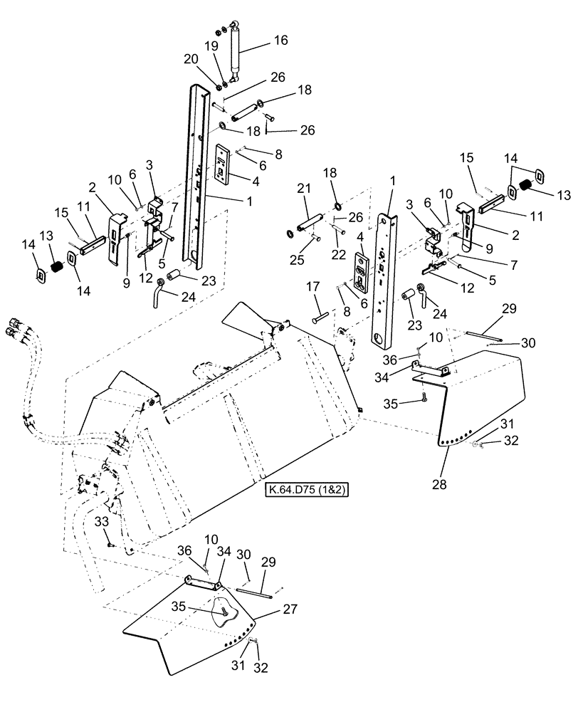
Запчасти Case IH AFX8010 (K.64.D.64) - STRAW SPREADER SUPPORT & DEFLECTORS, PIN HAJ105247 AND AFTER K - Crop Processing

Схема запчастей Case IH AFX8010 - (K.64.D.64) - STRAW SPREADER SUPPORT & DEFLECTORS, PIN HAJ105247 AND AFTER K - Crop Processing
31
6
5
14
28
22
15
7
13
27
6
10
31
9
3
8
26
24
32
1
34
3
18
20
29
4
6
6
10
26
26
7
12
21
35
36
14
1
29
25
16
24
33
2
11
18
10
17
18
35
5
11
15
13
8
32
19
36
12
34
10
14
4
30
23
23
2
30
9
FIT
1:1
100%

Артикул

Название

Примечание

Количество

1

87283152

SUPPORT

RH

1шт.

1

87283150

SUPPORT

LH

1шт.

2

87283067

HANDLE

2шт.

3

87283065

BRACKET

2шт.

4

87283070

SLIDING PAD

2шт.

5

87301316

CLEVIS PIN,M12 x 75mm OAL

2шт.

6

140016

WASHER,M8 x 16mm OD x 1.6mm Thk

20шт.

7

87016659

COTTER PIN,M2.5 x 20mm OAL

2шт.

8

43128

BOLT,M8 x 1.25 x 30mm, Cl 8.8

10шт.

9

87283313

SPRING

2шт.

10

86629542

NUT,M8 x 1.25, Cl 8.8

10шт.

11

87283063

LOCKING BAR

Spreader Lock

2шт.

12

87283062

TRIGGER

2шт.

13

87283233

SPRING

Compression

2шт.

14

87283069

LOCK WASHER

4шт.

15

86625115

PIN,M6 x 40mm OAL

4шт.

16

87000505

CYLINDER ASSY.

Straw Spreader

1шт.

17

334070

CARRIAGE BOLT,Sht Sq Nk, M12 x 1.75 x 90mm, Cl 8.8

2шт.

18

86624170

WASHER,1.03" ID x 1.5" OD x 0.12" Thk

4шт.

19

140045

BELLEVILLE WASHER,M10 Bolt Size x 22mm OD x 1.6mm Thk

2шт.

20

100016

NUT,M10 x 1.5, Cl 8

2шт.

21

87283167

PIN

Spreader Pivot

2шт.

22

87035064

CLEVIS PIN,12mm OD x 70mm L

2шт.

23

87108659

BUSHING

2шт.

24

87108661

HANDLE

2шт.

25

321018

CLEVIS PIN,12mm OD x 44mm L

2шт.

26

87016659

COTTER PIN,M2.5 x 20mm OAL

4шт.

27

87108654

DEFLECTOR

LH

1шт.

28

87108656

DEFLECTOR

RH

1шт.

29

86997515

ROD

2шт.

30

130007

COTTER PIN,M4 x 25

4шт.

31

140041

WASHER,M8 x 28mm OD x 3mm Thk

2шт.

32

84807781

WING NUT,M8

2шт.

33

43465

CARRIAGE BOLT,Short NK, M8 x 30, Cl8.8, Full Thd

2шт.

34

87000289

BRACKET

2шт.

35

86979019

RIVET,Pop, 1/4" x .625"

8шт.

Выбрано товаров: 36