Запчасти Case IH AFX8010 (A.40.A[1]) - WARNING LIGHT ASSY. - L.H. PLATFORM - NA ONLY A - Distribution Systems

Схема запчастей Case IH AFX8010 - (A.40.A[1]) - WARNING LIGHT ASSY. - L.H. PLATFORM - NA ONLY A - Distribution Systems
2
6
9
8
8
3
11
10
12
7
1
13
4
5
FIT
1:1
100%

Артикул

Название

Примечание

Количество

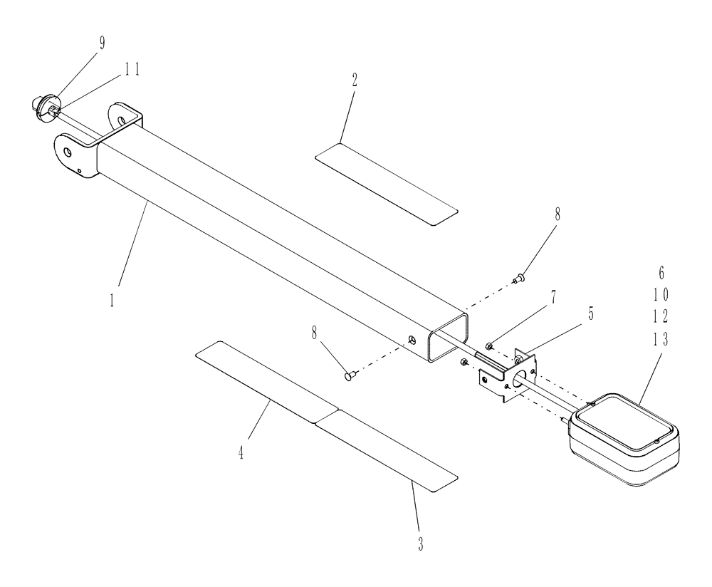
1

87109527

ARM

Standard

1шт.

1

87105380

ARM

1шт.

Used with Oversize and Dual Tires

1шт.

2

87105392

REFLECTOR

Yellow

1шт.

3

87105393

REFLECTOR

Red

1шт.

4

87105394

REFLECTOR

Orange

1шт.

5

87105372

BRACKET

1шт.

6

87000916

WARNING LIGHT

, Years: -09-FEB-04

1шт.

6

87283034

WARNING LIGHT

Includes Ref. 10 - 13, Start Year: 09-FEB-04

1шт.

7

86508813

NUT,M5, Cl 8

2шт.

8

86511855

SCREW,Flat, M6 x 1.0 x 12mm OAL, Cl 4.8

2шт.

9

87015294

GROMMET,1/2" ID x 1-1/2" OD x 0.438" Thk

1шт.

10

232212A1

LENS,135.8mm L x 90mm W, Amber

Amber

2шт.

11

222136A1

ELEC CONNECTOR,Male, 2 Pin

1шт.

12

233561A1

O-RING,0.07" Thk x 4379" ID, -48, 70 Duro

Seal

2шт.

13

529068

BULB,#1156, 12V, 21W

1шт.

Выбрано товаров: 16