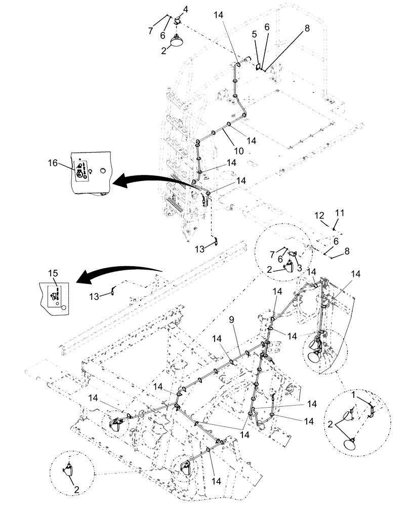
Запчасти Case IH AFX8010 (A.40.A.85[3]) - DELUXE SERVICE LIGHTING A - Distribution Systems

Схема запчастей Case IH AFX8010 - (A.40.A.85[3]) - DELUXE SERVICE LIGHTING A - Distribution Systems
14
9
14
11
14
14
6
1
6
10
16
13
14
7
2
13
14
6
2
14
4
14
15
14
14
14
14
14
7
5
8
14
12
2
14
2
8
6
3
FIT
1:1
100%

Артикул

Название

Примечание

Количество

1

87105346

BRACKET

1шт.

2

87001315

WORK LAMP,Halogen, 12V, 37.5W, Clear

5шт.

3

87105352

BRACKET

1шт.

4

87107537

BRACKET

1шт.

5

87107539

PLATE

1шт.

6

322358

BELLEVILLE WASHER,M8 Bolt Size x 18mm OD x 1.4mm Thk

8шт.

7

9706690

NUT,M8 x 1.25, Cl 8

4шт.

8

120104

BOLT,Hex, M8 x 1.25 x 20mm, Cl 8.8

4шт.

9

87109354

WIRE HARNESS

Underpanel Lights

1шт.

10

87109355

WIRE HARNESS

Engine Deck Lights

1шт.

11

86590413

BASE,15.87mm W x 22.22mm OAL x 9.9mm Thk

Base, Wire Tie

1шт.

12

325911

RIVET,Pop, 4.75mm OD x 7.4mm L

1шт.

13

86627353

SWITCH

391062A1

2шт.

14

86566989

CABLE TIE,208mm L

CABLE STRAP Nylon

42шт.

15

87015175

DECAL

Light Switch

1шт.

16

87013946

DECAL

Light Switch

1шт.

17

87107077

BULB,Halogen, 12V, 37.5W

5шт.

Выбрано товаров: 17