Запчасти Case IH AFX8010 (A.50.A.96.95[2]) - MOISTURE SENSOR - PIN HAJ106962 AND AFTER A - Distribution Systems

Схема запчастей Case IH AFX8010 - (A.50.A.96.95[2]) - MOISTURE SENSOR - PIN HAJ106962 AND AFTER A - Distribution Systems
7
9
12
16
3
8
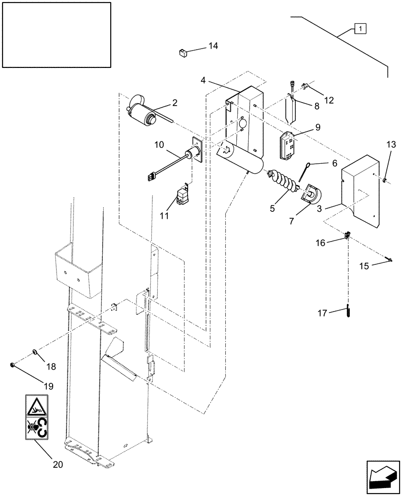
1
6
18
11
4
5
15
19
13
2
20
10
17
14
FIT
1:1
100%

Артикул

Название

Примечание

Количество

1

87534936

SENSOR

Moisture; Includes: (2 Thru 17)

1шт.

2

84435827

WIPER MOTOR,12V

1шт.

3

87536585

COVER

1шт.

4

84435325

HOUSING

1шт.

5

84435828

AUGER

1шт.

6

84435829

PIN,6.35mm OD x 114.3mm L

2шт.

7

84435830

BLOCK

1шт.

8

87534933

SENSOR

Sensor, Moisture

1шт.

9

84435831

PRINTED CIRCUIT BOAR

1шт.

10

84435833

SWITCH ASSY

1шт.

11

84435874

RELAY

1шт.

12

84814892

WING NUT,M6 x 1.0

2шт.

13

86512440

NUT,M6, Cl 10

7шт.

14

84320044

FUSE,5 Amp

1шт.

15

445394

RIVET,Pop, 3/16" x 1/2" OAL

1шт.

16

86590413

BASE,15.87mm W x 22.22mm OAL x 9.9mm Thk

1шт.

17

86566989

CABLE TIE,208mm L

CABLE STRAP

1шт.

18

322357

BELLEVILLE WASHER,M6 Bolt Size x 14mm OD x 1.3mm Thk

5шт.

19

9706755

NUT,M6, Cl 8

5шт.

20

84004736

DANGER DECAL

1шт.

Выбрано товаров: 20