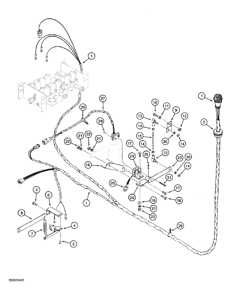
Запчасти Case IH 1680 (04-01) - COMBINE HARNESS, FOR 1600 COMBINES (04) - ELECTRICAL SYSTEMS

Схема запчастей Case IH 1680 - (04-01) - COMBINE HARNESS, FOR 1600 COMBINES (04) - ELECTRICAL SYSTEMS
20
18
7
8
28
2
12
14
11
14
25
30
22
29
19
1
29
26
10
23
14
22
27
21
4
15
17
3
14
13
13
21
1
22
21
5
31
17
6
16
24
30
9
1
FIT
1:1
100%

Артикул

Название

Примечание

Количество

1

100277A1

HARNESS

1шт.

2

198824C1

GROMMET,12.7mm ID x 41.1mm OD x 26.9mm Thk

1шт.

3

413-616

BOLT,Hex, 3/8" - 16 x 1", Gr 5

- hex, 3/8 NC x 1 inch

1шт.

4

101420A1

SWITCH

1шт.

5

281-1458

SELF-TAP SCREW,Hex Wash Hd, #10 x 1/2"

SCREW, No. 10 x 1/2 in

2шт.

6

101421A1

SUPPORT

1шт.

7

101423A1

SPRING

1шт.

8

100300A1

SUPPORT

1шт.

9

100294A1

SUPPORT

1шт.

10

413-512

BOLT,Hex, 5/16" - 18 x 3/4", Gr 5

5/16 x 3/4 in

1шт.

11

492-11031

LOCK WASHER,5/16"

WASHER, LOCK, 5/16"

1шт.

12

425-105

NUT,5/16"-18, G5

1шт.

13

100282A1

BALL JOINT

1/4 NF

2шт.

14

425-114

NUT,1/4"-28, G5

4шт.

15

100281A1

STUD

1шт.

16

100289A1

ANGLE

2шт.

17

413-512

BOLT,Hex, 5/16" - 18 x 3/4", Gr 5

5/16 x 3/4 in

4шт.

18

413-516

BOLT,Hex, 5/16" - 18 x 1", Gr 5

5/16 x 1 in

1шт.

19

495-11034

WASHER,5/16", SAE

5/16" SAE

1шт.

20

100293A1

SUPPORT

1шт.

21

492-11031

LOCK WASHER,5/16"

WASHER, LOCK, 5/16"

5шт.

22

425-105

NUT,5/16"-18, G5

5шт.

23

100296A1

ARM ASSY.

1шт.

24

100297A1

BRACKET

1шт.

25

38-3806

PIN,3.17mm OD x 9.53mm L, Coiled

1шт.

26

108651A1

WASHER

1шт.

27

100283A1

POTENTIOMETER,4000 Ohm

1шт.

28

1970588C1

SCREW

No. 8 x 3/4 in

2шт.

29

702093C1

CABLE TIE

STRAP

1шт.

30

492-11025

LOCK WASHER,1/4"

WASHER, LOCK, 1/4"

2шт.

31

38-3820

PIN,1/8" x 1 1/4", Coiled

safety 1/8" x 1 1/4", Coiled

1шт.

Выбрано товаров: 31