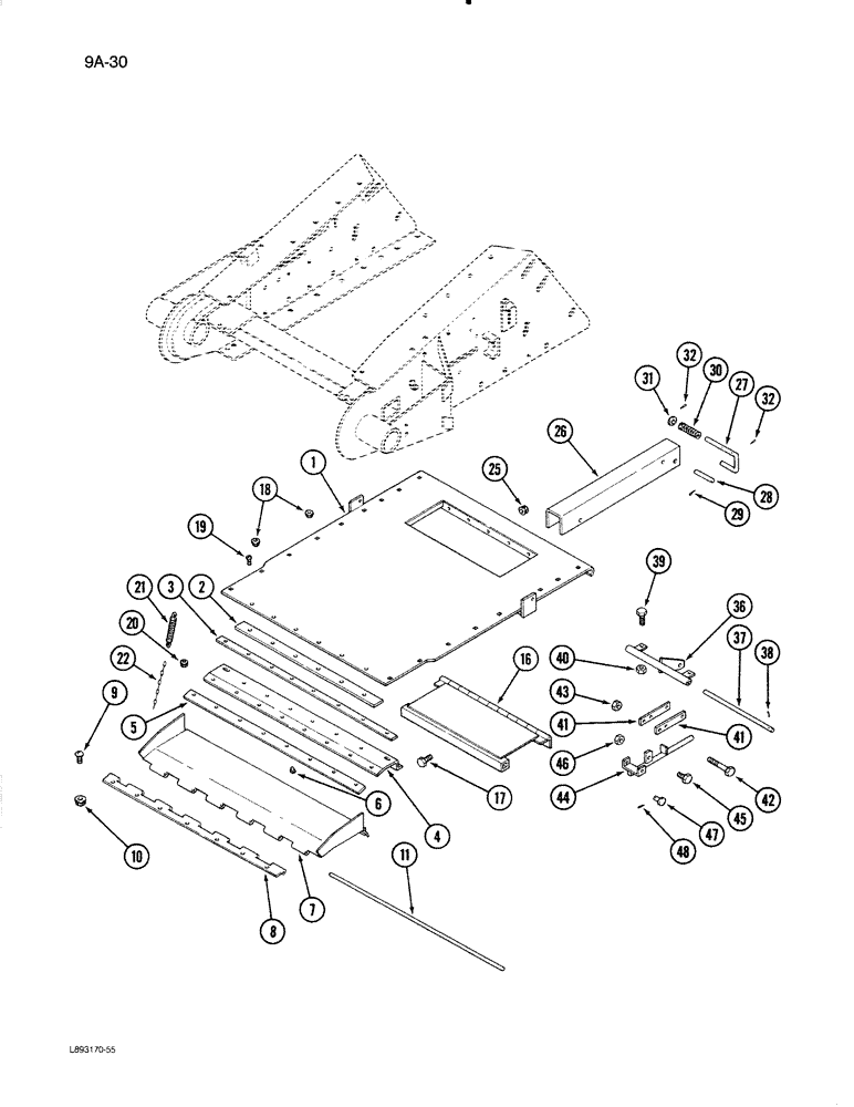
Запчасти Case IH 1670 (9A-30) - 1304946C2 FEEDER (13) - FEEDER

Схема запчастей Case IH 1670 - (9A-30) - 1304946C2 FEEDER (13) - FEEDER
39
32
30
27
9
7
6
36
17
5
46
47
32
16
38
2
22
21
41
28
40
4
8
19
10
31
45
11
3
18
20
25
43
41
1
48
44
26
29
37
42
FIT
1:1
100%

Артикул

Название

Примечание

Количество

1

1304946C2

SUPPORT

PLATFORM - feeder bottom

1шт.

2

1319965C1

BAR

- spacing, support

1шт.

3

197429C1

SEALING STRIP

- seal, door

1шт.

4

1319961C1

SUPPORT

- bottom, feeder rear

1шт.

5

1319963C1

SEAL

SEAL - rear, feeder

1шт.

6

499453C1

RIVET

- 5 x 18 mm

1шт.

7

193363C3

DOOR SEAL

DOOR - feeder bottom

1шт.

8

193364C2

HINGE

- feed plate

1шт.

9

477-73816

SERRATED SCREW,Sl Truss Hd, 3/8" x 1"

- slotted truss head, 3/8 NC x 1 inch

7шт.

10

482256R1

BEARING LOCK NUT,Flg, USR, 3/8"-16

- hex flange lock, 3/8 inch NC

7шт.

11

159012C1

ROD

- hinge, door

1шт.

16

1304940C2

DOOR

- feeder bottom

1шт.

17

154273C1

BOLT,Hex Serr, 3/8" - 16 x 1", Spcl

- hex flange lock, 3/8 NC x 1 inch

6шт.

18

1319840C1

FLANGE NUT,Flg, 3/8"-16, G8

- hex flange, 3/8 inch NC

2шт.

19

155945

SCREW,Cross Flat Hd, #10 - 24 x 3/4"

1шт.

20

196922C1

LOCK NUT

- hex lock, No. 10

1шт.

21

635503R1

SPRING,148.8mm Free Length

- latch, lower door

2шт.

22

167570C1

CHAIN,203.2mm L

- latch, lower door

2шт.

25

482256R1

BEARING LOCK NUT,Flg, USR, 3/8"-16

- hex flange lock, 3/8 inch NC

6шт.

26

197554C3

CHANNEL

- lock, lift cylinder

1шт.

27

197849C1

ROD

- lock, cylinder

1шт.

28

23948R1

HEADED PIN,3/8" x 3 1/4"

PIN, HEADED, 3/8" x 3 1/4"

1шт.

29

586591R1

COTTER PIN

PIN - cotter, hair type, 1/8 inch diameter

1шт.

30

M296

SPRING

- compression

1шт.

31

28588R1

WASHER

- flat, 11/32 x 11/16 x 3/64 inch

1шт.

32

21858R1

COTTER PIN,1/8" x 1/2"

1/8" x 1/2"

1шт.

36

1304958C2

TUBE

- door latch

1шт.

37

1304953C1

ROD

- latch pivot

1шт.

38

132-310

COTTER PIN,1/8" x 1"

PIN, SPLIT (COTTER), 1/8" x 1"

2шт.

39

413-620

BOLT,Hex, 3/8" - 16 x 1-1/4", Gr 5

- hex, 3/8 NC x 1-1/4 inch

2шт.

40

129-103

NUT,Hex, 3/8" - 16, Gr 5

NUT, 3/8"-16, G5

2шт.

41

1304956C1

BAR

LINK - connecting

2шт.

42

113-267

BOLT,Hex, 3/8" - 16 x 4", Gr 5

1шт.

43

9413979

LOCK NUT,3/8"-16, GC

NUT - hex lock, 3/8 inch NC

1шт.

44

1304951C1

SUPPORT

HANDLE - door latch

1шт.

45

413-616

BOLT,Hex, 3/8" - 16 x 1", Gr 5

- hex, 3/8 NC x 1 inch

1шт.

46

9413979

LOCK NUT,3/8"-16, GC

NUT - hex lock, 3/8 inch NC

1шт.

47

21888R1

HEADED PIN,3/8" x 3/4", G2

PIN - clevis, 3/8 x 3/4 inch

2шт.

48

132-310

COTTER PIN,1/8" x 1"

PIN, SPLIT (COTTER), 1/8" x 1"

2шт.

Выбрано товаров: 39