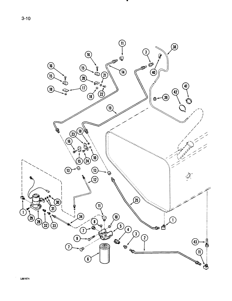
Запчасти Case IH 1670 (3-10) - FUEL LINES AND FUEL FILTER, DTI466C ENGINE (02) - FUEL SYSTEM

Схема запчастей Case IH 1670 - (3-10) - FUEL LINES AND FUEL FILTER, DTI466C ENGINE (02) - FUEL SYSTEM
25
18
15
13
1
15
7
39
11
26
16
3
14
30
8
10
24
15
41
16
6
17
20
10
18
32
16
31
11
21
9
43
5
22
18
19
33
11
23
13
40
3
2
7
1
12
38
28
42
4
34
FIT
1:1
100%

Артикул

Название

Примечание

Количество

1

144535R1

ELBOW

- fuel line lower tubes

2шт.

2

1315507C1

FUEL TUBE,0.375" OD, 662.9, 292.1 mm Length

TUBE ASSEMBLY - fuel line, filter base to tank

1шт.

3

222-1016

HYD CONNECTOR,5/8"-18 Inv Fl x 1/4" NPT

CONNECTOR, HYD., , Inverted flared tube, 3/8" 5/8"-18 Inv Fl x 1/4" NPT

2шт.

4

1315522C1

FAUCET

VALVE ASSEMBLY - fuel shutoff

1шт.

5

612277C2

FILTER HEAD

BASE ASSEMBLY - fuel filter

1шт.

6

A184776

FUEL FILTER

FILTER ASSEMBLY - fuel

1шт.

7

20988R1

PLUG,Hex Hd, 1/4"-18, Brass

- hex head pipe, 1/4-18 inch

2шт.

8

444614

PLUG,Hex Hd, 1/8"-27, Brass

- hex head pipe, 1/8-27 inch

1шт.

9

113-167

BOLT,Hex, 5/16" - 18 x 4", Gr 5

2шт.

10

938017R1

FLANGE NUT,Flg, USR, 5/16"-18

- hex flange lock, 5/16 inch NC

3шт.

11

193004

ELBOW

- 90 degree inverted flared tube, 3/8 inch

2шт.

12

1977001C1

HYD TUBE

TUBE ASSEMBLY - fuel line, lower supply

1шт.

13

442338

UNION

- inverted flared tube, 3/8 inch

2шт.

14

198009C1

FUEL TUBE

TUBE ASSEMBLY - fuel line pressure upper

1шт.

15

183825C1

CLAMP

- fuel line tube

3шт.

16

113-17

BOLT,Hex, 1/4" - 20 x 1-1/4", Gr 5

3шт.

17

198462C1

PLATE

- fuel line upper tubes support

1шт.

18

938016R1

FLANGE NUT,Flg, USR, 1/4"-20

- hex flange lock, 1/4 inch NC

3шт.

19

198008C1

FUEL TUBE

TUBE ASSEMBLY - fuel line return upper

1шт.

20

196518C1

SUPPORT TUBE

ANGLE - fuel line upper tubes support

1шт.

21

192-20

LOCK WASHER,Helical Spring, 0.318" ID, CST, ZND

WASHER, LOCK, 5/16"

1шт.

22

113-102

BOLT,Hex, 5/16" - 18 x 3/4", Gr 5

Hex, 5/16"-18 x 3/4", G5, Full Thd

1шт.

23

1977005C1

SUPPORT

- tube, lower fuel

1шт.

24

161945C1

SERRATED SCREW,Sl Truss Hd, 5/16" - 18 x 1"

- slotted truss head, 5/16 NC x 1 inch

1шт.

25

183653C2

FUEL TUBE

TUBE ASSEMBLY - fuel line return lower

1шт.

28

196503C1

PUMP

ASSEMBLY - fuel, electric

1шт.

29

151446C1

SERRATED SCREW,Flg Lock, Sl Truss Hd, 5/16" - 18 x 1 1/4"

BOLT - slotted truss head, 5/16 NC x 1-1/4 inch

2шт.

30

938017R1

FLANGE NUT,Flg, USR, 5/16"-18

- hex flange lock, 5/16 inch NC

2шт.

31

25553R1

WASHER,13/32" x 1 1/8" x .134", HDN

- flat, 13/32 x 1-1/4 x 9/64 inch

2шт.

32

217-42

REDUCER,3/8" - 18 NPT x 1/4" - 18 NPT

ADAPTER - reducer, 3/8 to 1/4 inch

1шт.

33

222-1016

HYD CONNECTOR,5/8"-18 Inv Fl x 1/4" NPT

CONNECTOR, HYD., , Inverted flared tube, 3/8" 5/8"-18 Inv Fl x 1/4" NPT

1шт.

34

1977000C1

HYD TUBE,0.375" OD

TUBE ASSEMBLY - filter to pump

1шт.

38

NSS

NOT SOLD SEPARAT

TUBE - vent, 3175 mm (Order 174813C1 and, Serial Range: cut-length)

1шт.

174813C1

SLAT

TUBE - bulk roll, 50 foot

1шт.

39

195803C1

GROMMET

- tube, 3/8 inch OD

1шт.

40

362120R1

CLAMP,9.53mm ID, 10.32mm Bolt Hole, P Type

CLIP - tube

3шт.

41

214-274

HOSE CLAMP,#04, 0.25" - 0.62", Type F Worm

retaining #4, 0.25/0.62 Type F Worm

1шт.

42

533959R1

CABLE TIE,.135" x 11"

STRAP - retaining

1шт.

43

179381C1

SIEVE

STRAINER - fuel tank

1шт.

Выбрано товаров: 0