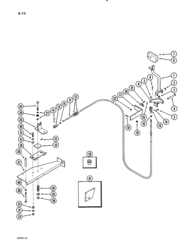
Запчасти Case IH 1670 (6-14) - PROPULSION CONTROL (03) - POWER TRAIN

Схема запчастей Case IH 1670 - (6-14) - PROPULSION CONTROL (03) - POWER TRAIN
33
12
27
29
2
32
31
15
22
41
25
16
8
35
28
18
26
16
30
6
15
24
40
32
1
23
17
5
11
13
20
13
14
19
4
3
21
36
7
39
37
10
31
14
9
3
38
FIT
1:1
100%

Артикул

Название

Примечание

Количество

1

183508C93

LEVER

ARM - propulsion control

1шт.

2

224871C1

BUSHING

- control arm

1шт.

3

366613R1

SPRING

DISK - tension spring

2шт.

4

19876R1

PIN

- hardened clevis, 1/2 inch

1шт.

5

132-310

COTTER PIN,1/8" x 1"

PIN, SPLIT (COTTER), 1/8" x 1"

1шт.

6

1301180C92

HANDLE

- propulsion control arm, Includes: Ref. 7

1шт.

7

28002R1

HEX SOC SCREW,#6 - 32 x 1/2"

SCREW - hex socket head, No. 6 x 1/2 inch

3шт.

8

1267441C1

SUPPORT ASSY.

SUPPORT - lever pivot

1шт.

9

132-336

COTTER PIN,1/8" x 1 1/2"

PIN, SPLIT (COTTER), 1/8" x 1 1/2"

1шт.

10

198826C1

GROMMET,19.05mm ID x 41.1mm OD x 26.9mm Thk

- hydrostatic drive control cable

2шт.

11

1339382C1

CABLE,4877mm L

- hydrostatic drive control

1шт.

12

86637933

JAM NUT,5/16" - 24, Gr 5

2шт.

13

144242

CLEVIS

IS - control cable

2шт.

14

16616R1

CLEVIS PIN,5/16" x .940"

PIN - clevis, 5/16 x 15/16 inch

2шт.

15

132-321

COTTER PIN,3/32" x 1"

PIN - cotter, 3/32 x 3/4 inch

2шт.

16

195-102

WASHER,1/4"

NUT - hex, 5/16 inch NF

2шт.

17

193281C1

ANGLE

- control cable mounting

1шт.

18

135270

SERRATED SCREW,5/16" - 18 x 3/4"

BOLT - slotted truss head, 5/16 NC x 3/4 inch

2шт.

19

938017R1

FLANGE NUT,Flg, USR, 5/16"-18

- hex flange lock, 5/16 inch NC

2шт.

20

195593C1

CLAMP

- control cable

1шт.

21

937875R1

SCREW,Serr, 1/4" - 20

- slotted truss head, 1/4 NC x 3/4 inch

2шт.

22

938016R1

FLANGE NUT,Flg, USR, 1/4"-20

- hex flange lock, 1/4 inch NC

2шт.

23

151917C94

ARM ASSY.

ARM - pump actuating

1шт.

24

113-329

BOLT,Hex, 7/16" - 14 x 3-1/4", Gr 5

- hex, 7/16 NC x 3-1/4 inch, Grade 8

1шт.

25

25846R1

WASHER

- flat, 15/32x 1 x 3/64 inch

1шт.

26

159688R91

THRUST BEARING

BEARING - actuating arm

1шт.

27

26272R1

WASHER,.469" x 59/64" x .105", HDN

- flat, hardened, 15/32 inch

2шт.

28

131-667

NUT,7/16"-14, GB

NUT - hex prevailing torque, 7/16 inch NC

1шт.

29

1301490C1

SUPPORT

- control arm

1шт.

30

113-208

BOLT,Hex, 3/8" - 16 x 1-1/4", Gr 5

2шт.

31

492-11038

LOCK WASHER,3/8"

2шт.

32

21403R1

WASHER

- flat, 13/32 x 1 x 1/8 inch

2шт.

33

129-103

NUT,Hex, 3/8" - 16, Gr 5

NUT, 3/8"-16, G5

2шт.

35

150627C1

FRICTION WASHER

- control arm friction

1шт.

36

28395H

SPRING

- control arm

1шт.

37

1301488C2

SUPPORT

- pump control

1шт.

38

14233L

SPACER,3/8" Pipe x 2 7/8"

- pump control support to pump

3шт.

39

113-267

BOLT,Hex, 3/8" - 16 x 4", Gr 5

3шт.

40

492-11038

LOCK WASHER,3/8"

3шт.

41

1317026C1

BAR

BRACKET - switch support

1шт.

Выбрано товаров: 40