Запчасти Case IH 1670 (4-70) - RADIO (06) - ELECTRICAL

Схема запчастей Case IH 1670 - (4-70) - RADIO (06) - ELECTRICAL
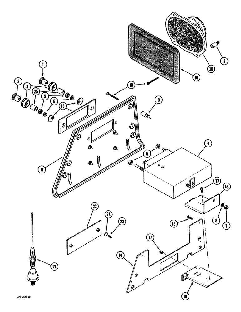
6
1
15
10
14
25
17
4
19
2
21
11
24
7
16
13
5
20
18
23
9
3
5
22
9
17
8
FIT
1:1
100%

Артикул

Название

Примечание

Количество

1

111381C1

KNOB

- volume control

1шт.

Part of Radio Installation P/N 84226C91

1шт.

2

111382C1

KNOB

- control, tuning

1шт.

Part of Radio Installation P/N 84226C91

1шт.

3

385532C1

KNOB

- control tone and balance

2шт.

Part of Radio Installation P/N 84226C91

1шт.

4

245344C91

RADIO

- AM, if used

1шт.

4

245160C91

RADIO

- AM-FM stereo, if used

1шт.

4

84067C91

RADIO

- AM-FM stereo with cassette tape player, if used

1шт.

5

142921C1

NUT

- hex, special

4шт.

6

142920C1

WASHER

- flat, 9.72 x 15.00 x 0.60 mm

2шт.

7

425-144

JAM NUT,Jam, 1/4"-20, G5

- hex, jam, 1/4 inch NC

1шт.

8

492-11025

LOCK WASHER,1/4"

WASHER, LOCK, 1/4"

1шт.

9

117995C1

PACKAGE

KIT - fasteners, toggle type (contains 5 fasteners)

3шт.

Part of Radio Installation P/N 84226C91

1шт.

10

1276052C1

SELF-TAP SCREW,Cross Oval Hd, #8 x 1 3/4"

SCREW - self-tapping, oval head, No. 8-18 x 1-3/4 inch

14шт.

11

1280182C2

PANEL

- radio trim

1шт.

13

84103C1

PANEL

- radio trim highlight

1шт.

Part of Radio Installation P/N 84226C91

1шт.

14

91484C1

PLATE

- radio support, rear slide

1шт.

Part of Radio Installation P/N 84226C91

1шт.

15

280-14510

SELF-TAP SCREW,Hex Wash Hd, #10 x 5/8"

SCREW - self-tapping, hex washer head, No. 10-16 x 5/8 inch

4шт.

16

84048C1

BRACKET

- radio rear support

1шт.

Part of Radio Installation P/N 84226C91

1шт.

17

280-1458

SELF-TAP SCREW,Hex Wash Hd, #10 x 1/2"

SCREW - self-tapping, hex washer head, No. 10-16 x 1/2 inch

2шт.

18

84049C1

BRACKET

- radio support

1шт.

Part of Radio Installation P/N 84226C91

1шт.

19

245806C1

PANEL

- speaker grille

2шт.

Part of Radio Installation P/N 84226C91

1шт.

20

245343C3

SPEAKER

- radio, 5 x 7 inch, 4 ohm (Replaces speaker 245343C2)

2шт.

Part of Radio Installation P/N 84226C91

1шт.

21

60-6490T1

ANTENNA

- radio

1шт.

Part of Radio Installation P/N 84226C91

1шт.

22

1321384C1

PANEL

- radio insert

1шт.

23

436746

SCREW

- machine, special, No. 10 NF x 1/4 inch

2шт.

24

195-513

WASHER,#10

- flat, 7/32 x 1/2 x 3/64 inch (Replaces washer 120391)

2шт.

25

84240C1

SPACER

- 3/8 x 5/8 x 3/4 inch

2шт.

Part of Radio Installation P/N 84226C91

1шт.

84226C91

KIT

- radio installation, cab, Includes: Ref. 1-3, 9, 13, 14, 18-21 and 25, plus mounting hardware and instructions

1шт.

Выбрано товаров: 39