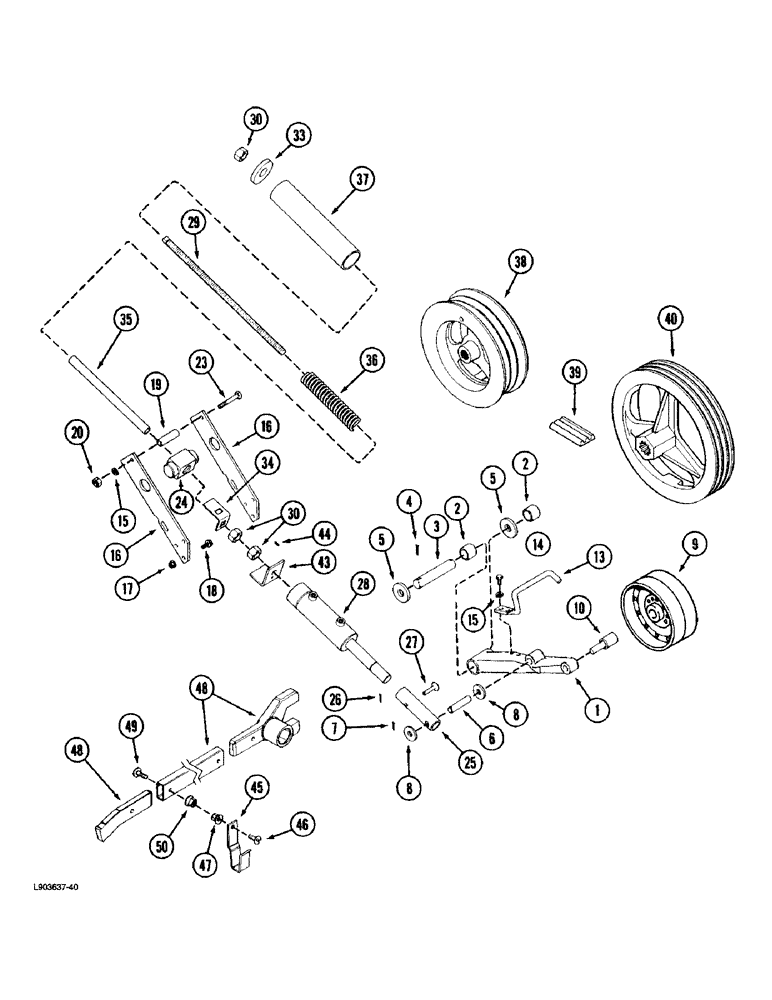
Запчасти Case IH 1670 (9A-14) - SEPARATOR DRIVE PULLEY AND IDLER (13) - FEEDER

Схема запчастей Case IH 1670 - (9A-14) - SEPARATOR DRIVE PULLEY AND IDLER (13) - FEEDER
2
5
48
16
9
47
48
46
10
28
40
13
5
43
8
3
35
29
30
15
1
50
20
17
16
24
34
37
33
39
44
7
14
2
49
18
36
25
8
45
15
38
23
19
4
27
26
6
30
FIT
1:1
100%

Артикул

Название

Примечание

Количество

1

195457C92

LEVER

ASSEMBLY - drive belt clutch (Replaces lever assembly 1347039C1), Includes: Ref. 2 and 6

1шт.

2

1302308C1

BUSHING,25.65mm ID x 31.85mm OD x 28.57mm L

- 1 ID x 1-1/4 O.D. x 1-1/8 inch wide

2шт.

3

1315229C2

PIN,25.4mm OD x 135mm L

- pivot

1шт.

4

432-1216

COTTER PIN,3/16" x 1"

1шт.

5

495-81176

WASHER,21/32" x 1" x .060"

- flat, 21/32 x 1 x 3/64 inch

2шт.

6

195459C1

PIN

- lever

1шт.

7

432-1224

COTTER PIN,3/16" x 1-1/2"

3/16" x 1 1/2"

2шт.

8

495-81073

WASHER,1-1/32" x 1-3/4" x .060" Thk

- flat, 1-1/32 x 1-3/4 x 1/16 inch

7шт.

9

174757C1

PULLEY

- idler, 8 inch O.D.

1шт.

10

559205R91

BEARING ASSY,15.92 mm ID x 30 mm OD x 82.55 mm

- drive belt idler pulley

1шт.

13

193284C1

ROD

- belt guide

1шт.

14

413-612

BOLT,Hex, 3/8" - 16 x 3/4", Gr 5

2шт.

15

492-11038

LOCK WASHER,3/8"

2шт.

16

194220C1

BAR

- cylinder anchor

2шт.

17

231-5146

FLANGE NUT,3/8"-16

6шт.

18

409-7620

BOLT,Hex Flg, 3/8" - 16 x 1 1/4", Spcl

- hex serrated flange, 3/8 NC x 1-1/4 inch

6шт.

19

196676C1

SPACER

- cylinder anchor bar

1шт.

20

425-106

NUT,3/8"-16, Cl 5

1шт.

21

492-11038

LOCK WASHER,3/8"

1шт.

23

413-656

BOLT,Hex, 3/8" - 16 x 3-1/2", Gr 5

- hex, 3/8 NC x 3-1/2 inch

1шт.

24

186747C1

PIVOT

- separator drive arm

1шт.

25

195432C1

TUBE,25.4 mm ID, 34.92 mm OD

BUSHING - cylinder extension

1шт.

26

432-612

COTTER PIN,3/32" x 3/4"

PIN , SPLIT (COTTER), 3/32" x 3/4"

1шт.

27

427-6178

CLEVIS PIN,9.53mm OD x 45.24mm L

PIN, CLEVIS, , Hardened (Replaces pin 52893H) 3/8" x 1.781"

1шт.

28

1346042C1

CYLINDER ASSY.

CYLINDER ASSEMBLY - separator clutch, parts list figure 8-70, if used

1шт.

28

133408C92

CYLINDER,Double Acting, 25.4mm Rod, 63.5mm Stroke

ASSEMBLY - separator clutch, parts list figure 8-70, if used

1шт.

29

1303058C1

ROD

- separator drive tightener

1шт.

30

425-1010

NUT,5/8"-11, G5

3шт.

33

495-81029

WASHER,0.66" ID x 2" OD x 0.12" Thk

- flat, 21/32 x 2 x 7/64 inch

1шт.

34

186748C1

BRACKET

ANGLE - drive tightener rod

1шт.

35

186744C1

TUBE,16.7 mm ID, 22.2 mm OD, 289.1 mm Length

SLEEVE - tightener rod

1шт.

36

186745C1

SPRING

- belt tightener

1шт.

37

186746C1

TUBE

HOUSING - belt tightener

1шт.

38

191461C1

PULLEY,110mm OD

- drive, 11 inch O.D.

1шт.

39

191241C2

BELT

Separator drive, 130 inch over center (Replaces belt 191241C1)

1шт.

40

191452C2

PULLEY

- separator jackshaft driven, parts list figure 9A-16

1шт.

43

186749C1

BRACKET

- tightener rod

1шт.

44

38-11612

LOCK PIN,1/4" x 3/4", Slotted

Pin, , replaces pin 18556R1 1/4" x 3/4", Slotted

1шт.

45

1979908C1

CLIP

- rocking wrench

2шт.

46

135270

SERRATED SCREW,5/16" - 18 x 3/4"

- slotted truss head, 5/16 NC x 3/4 inch, if used

1шт.

46

409-7516

BOLT,Hex Flg, 5/16" - 18 x 1", Spcl

If used Hex Flg, 5/16"-18 x 1", Serr

1шт.

47

231-5145

SERRATED NUT,Flg, USR, 5/16"-18

NUT - hex serrated flange, 5/16 inch NC

1шт.

48

1979527C1

WRENCH-HOOK

WRENCH - rocking

1шт.

49

179464C1

SERRATED SCREW,Sl Truss Hd, 3/8" - 16 x 1 1/4"

- slotted truss head, special, 3/8 NC x 1-1/4 inch

2шт.

50

231-5146

FLANGE NUT,3/8"-16

2шт.

Выбрано товаров: 45