Запчасти Case IH 1670 (9D-26) - ELEVATOR DRIVE JACKSHAFT, (CONT) (16) - GRAIN ELEVATORS & AUGERS

Схема запчастей Case IH 1670 - (9D-26) - ELEVATOR DRIVE JACKSHAFT, (CONT) (16) - GRAIN ELEVATORS & AUGERS
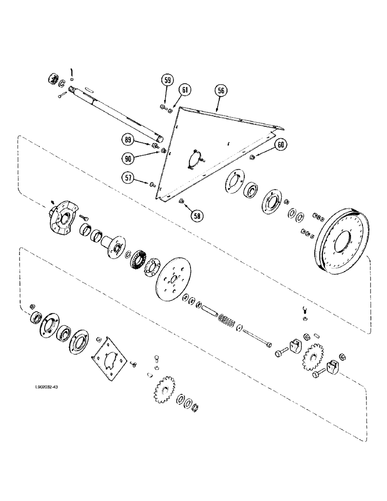
89
58
57
61
60
90
59
56
FIT
1:1
100%

Артикул

Название

Примечание

Количество

56

1317435C1

SUPPORT

- jackshaft bearing, continued from 9D-24

1шт.

57

135270

SERRATED SCREW,5/16" - 18 x 3/4"

- slotted truss head, 5/16 NC x 3/4 inch, if used

6шт.

57

409-7516

BOLT,Hex Flg, 5/16" - 18 x 1", Spcl

If used Hex Flg, 5/16"-18 x 1", Serr

6шт.

58

231-5145

SERRATED NUT,Flg, USR, 5/16"-18

NUT - hex serrated flange, 5/16 inch NC

6шт.

59

154273C1

BOLT,Hex Serr, 3/8" - 16 x 1", Spcl

- hex, self-locking, special, 3/8 NC x 1 inch

2шт.

60

231-5146

FLANGE NUT,3/8"-16

2шт.

61

425-146

JAM NUT,3/8" - 16, Gr 5

- hex, jam, 3/8 inch NC

1шт.

89

409-7516

BOLT,Hex Flg, 5/16" - 18 x 1", Spcl

1шт.

90

231-5145

SERRATED NUT,Flg, USR, 5/16"-18

NUT - hex serrated flange, 5/16 inch NC

1шт.

Выбрано товаров: 9