Запчасти Case IH 1670 (6-30) - HYDROSTATIC MOTOR, (CONT) (03) - POWER TRAIN

Схема запчастей Case IH 1670 - (6-30) - HYDROSTATIC MOTOR, (CONT) (03) - POWER TRAIN
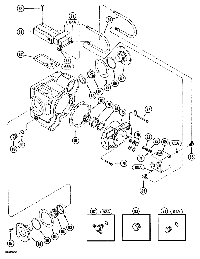
65
62
85
86
80
79
75
89
84
93
65a
86
65
94
76
61
65
65a
94a
70
73
64a
83
81
87
64
85
83
74
90
87
92
69
92a
65a
66
72
77
78
63
84
88
FIT
1:1
100%

Артикул

Название

Примечание

Количество

REF

INSTRUCTION

MOTOR ASSEMBLY - hydrostatic, continued, Includes: Ref. 61 - 85, 43 - 52 on fig. 6-28 and 1 - 39 on Fig. 6-26

1шт.

61

REF

INSTRUCTION

VALVE ASSEMBLY - control from 6-28, parts list figure 6-32

1шт.

62

145337C1

GASKET

- control valve

1шт.

63

413-528

BOLT,Hex, 5/16" - 18 x 1-3/4", Gr 5

6шт.

64

218-5133

ELBOW,45 Degree Elbow, 7/16" - 20 Male JIC x 7/16" - 20 Male ORB

- 45 degree, 7/16-20 inch flare x adj. O-ring boss

1шт.

64a

237-6004

O-RING,0.072" Thk x 0.351" ID, -904, Cl 6, 90 Duro

4-1, 90 Duro, .351" ID x .072" Thk, Includes Ref. 64A

1шт.

65

218-5103

90 ELBOW,90 Degree Elbow, 7/16" - 20 Male JIC x 7/16" - 20 Male ORB

- 90 degree, 7/16-20 inch flare x adj. O-ring boss, Includes: Ref. 65A

3шт.

65a

237-6004

O-RING,0.072" Thk x 0.351" ID, -904, Cl 6, 90 Duro

4-1, 90 Duro, .351" ID x .072" Thk

3шт.

66

175760C2

HYDRAULIC HOSE,6.35mm ID x 254mm L, SAE 100R2

HOSE - 10 inch (254 mm) long (Replaces hose 175760C1) (Use with 145336C92 valve)

2шт.

66

175760C2

HYDRAULIC HOSE,6.35mm ID x 254mm L, SAE 100R2

HOSE - 10 inch (254 mm) long (Replaces hose 175760C1) (Use with 1255068C91 valve)

1шт.

67

237-6004

O-RING,0.072" Thk x 0.351" ID, -904, Cl 6, 90 Duro

4-1, 90 Duro, .351" ID x .072" Thk

4шт.

69

1971433C1

VALVE

BLOCK ASSEMBLY - relief, parts list figure 6-34

1шт.

70

140747C91

SEAL KIT

- valve block seal, parts list figure 6-34

1шт.

72

140769C1

CHECK VALVE

VALVE - check

2шт.

73

238-6113

O-RING,0.103" Thk x 0.549" ID, -113, Cl 6, 90 Duro

2шт.

74

140770C1

RING

- backup

2шт.

75

NSS

NOT SOLD SEPARAT

HOUSING - end cover

1шт.

76

426-732

BOLT,Hex, 7/16" - 14 x 2", Gr 8

2шт.

77

413-748

BOLT,Hex, 7/16" - 14 x 3", Gr 5

6шт.

142398C91

SHIM KIT

KIT - shim, Includes: Ref. 78

1шт.

78

NSS

NOT SOLD SEPARAT

SHIM - bearing, 0.003 inch

1шт.

78

NSS

NOT SOLD SEPARAT

SHIM - bearing, 0.005 inch

1шт.

78

NSS

NOT SOLD SEPARAT

SHIM - bearing, 0.010 inch

1шт.

78

NSS

NOT SOLD SEPARAT

SHIM - bearing, 0.015 inch

1шт.

78

NSS

NOT SOLD SEPARAT

SHIM - bearing, 0.020 inch

1шт.

78

NSS

NOT SOLD SEPARAT

SHIM - bearing, 0.030 inch

1шт.

79

530741R1

BEARING CUP

CUP - tapered roller bearing, 2-17/32 inch O.D.

1шт.

80

400983R91

ROLLER BEARING,1.18775" ID x 2.5317" OD x 0.8478"

BEARING - tapered roller, 1-3/16 inch ID

1шт.

81

140756C2

GASKET

- end cover

1шт.

83

399934C1

BEARING CUP,73.43mm OD x 15.75mm W

CUP - tapered roller bearing, 2-57/64 inch O.D.

2шт.

84

399933C91

ROLLER BEARING,45.24mm ID x 19.81mm W

BEARING - tapered roller (Replaces bearing 400987C1)

2шт.

142386C91

SHIM KIT

KIT - shim, Includes: Ref. 85

1шт.

85

NSS

NOT SOLD SEPARAT

SHIM - trunnion, 0.002 inch (6 in kit)

1шт.

85

NSS

NOT SOLD SEPARAT

SHIM - trunnion, 0.005 inch (4 in kit)

1шт.

85

NSS

NOT SOLD SEPARAT

SHIM - trunnion, 0.010 inch (4 in kit)

1шт.

85

NSS

NOT SOLD SEPARAT

SHIM - trunnion, 0.015 inch (4 in kit)

1шт.

85

NSS

NOT SOLD SEPARAT

SHIM - trunnion, 0.025 inch (4 in kit)

1шт.

86

238-5234

O-RING,0.139" Thk x 2.984" ID, -234, Cl 5, 75 Duro

2шт.

87

NSS

NOT SOLD SEPARAT

TRUNNION - motor

2шт.

88

413-714

BOLT,Hex, 7/16" - 14 x 7/8", Gr 5

- hex, 7/16 NC x 7/8 inch

6шт.

89

218-5158

PLUG,Hex Hd, 1 1/16"-12 ORB

Includes: Ref. 90 Hex Hd, 1 1/16"-12 ORB

1шт.

90

237-6012

O-RING,0.116" Thk x 0.924" ID, -912, Cl 6, 90 Duro

12-1, 90 Duro, .924 ID x .116" Thk

1шт.

92

218-5180

TEE,7/16" - 20 Male JIC x 7/16" - 20 Male JIC x 7/16" - 20 Male ORB

- 7/16-20 inch adj O-ring boss x flare x flare (Replaces tee 9411115) (Use with 1255068C91 valve), Includes: Ref. 92A

1шт.

92a

237-6004

O-RING,0.072" Thk x 0.351" ID, -904, Cl 6, 90 Duro

4-1, 90 Duro, .351" ID x .072" Thk

1шт.

93

218-752

CAP,37 Degree, 7/16"-20

Hex (Use with 1255068C91 valve) 37º, 7/16"-20

1шт.

94

9672438

PLUG,7/16" - 20 ORB

(Use with 1255068C91 valve), Incl. Ref. 94A Hex Hd, 7/16"-20 ORB

1шт.

94a

237-6004

O-RING,0.072" Thk x 0.351" ID, -904, Cl 6, 90 Duro

4-1, 90 Duro, .351" ID x .072" Thk

1шт.

Выбрано товаров: 47