Запчасти Case IH 1670 (6-36) - TRANSMISSION GEAR SHIFT CONTROL (03) - POWER TRAIN

Схема запчастей Case IH 1670 - (6-36) - TRANSMISSION GEAR SHIFT CONTROL (03) - POWER TRAIN
5
19
15
12
17
10
16
6
23
12
12
29
27
28
21
13
8
14
19
3
22
11
9
1
18
7
30
20
4
12
7
19
18
16
25
2
24
13
26
17
14
FIT
1:1
100%

Артикул

Название

Примечание

Количество

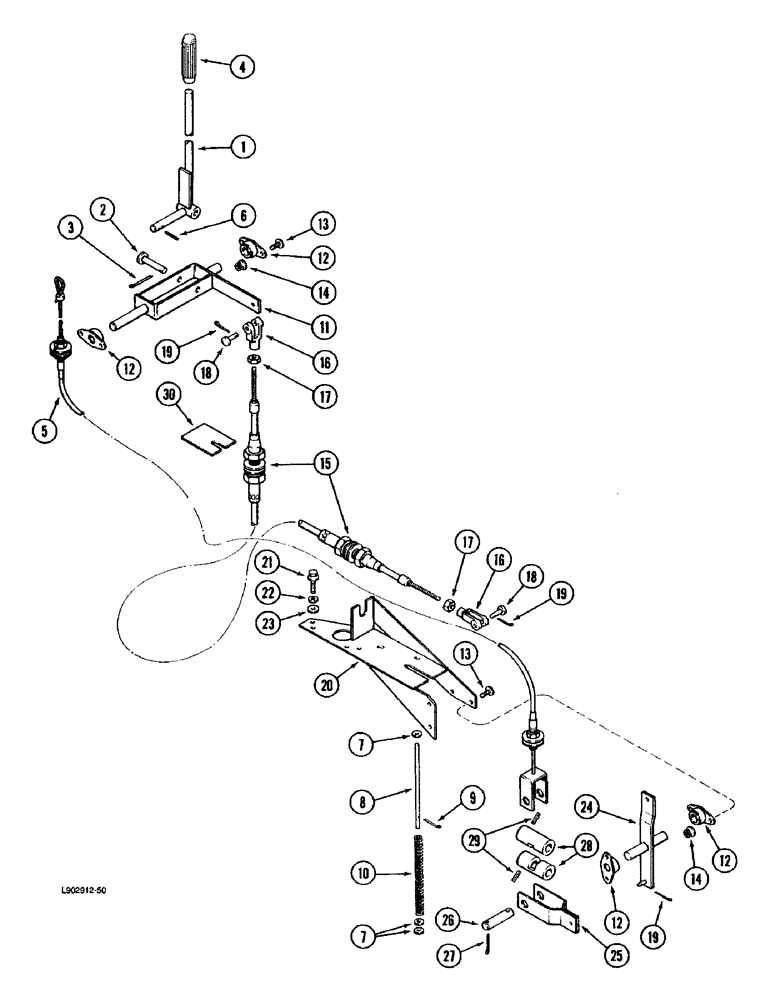
1

224865C1

LEVER

- gear shift

1шт.

2

439-5840

HEADED PIN,1/2" x 2 1/2"

PIN - headed, 1/2 x 2-1/2 inch

1шт.

3

432-1216

COTTER PIN,3/16" x 1"

1шт.

4

193194C2

HANDLE

GRIP - lever (Replaces grip 157473C1)

1шт.

5

1321289C3

CABLE

- transmission linkage

1шт.

6

138-80

LOCK PIN,5/32" x 1 3/8", Slotted

Pin, 5/32" x 1 3/8", Slotted

2шт.

7

495-81112

WASHER,.344" x 3/4" x .120"

- flat, 11/32 x 3/4 x 7/64 inch

3шт.

8

194445C1

ROD

- spring anchor

1шт.

9

432-812

COTTER PIN,3/4" OAL x 1/8" W

PIN, SPLIT (COTTER), , If used 1/8" x 3/4"

1шт.

10

47822D

SPRING

- shifting retractor

1шт.

11

1276181C1

BRACKET

SUPPORT - gear shift

1шт.

12

A63366

SPHERICAL BEARING,19mm ID

BEARING - pivot

4шт.

13

135270

SERRATED SCREW,5/16" - 18 x 3/4"

- slotted truss head, 5/16 NC x 3/4 inch, if used

8шт.

13

409-7516

BOLT,Hex Flg, 5/16" - 18 x 1", Spcl

If used Hex Flg, 5/16"-18 x 1", Serr

8шт.

14

231-5145

SERRATED NUT,Flg, USR, 5/16"-18

NUT - hex serrated flange, 5/16 inch NC

8шт.

15

1329390C1

CABLE ASSY.

CABLE - control

1шт.

16

213-126

ADJUSTABLE CLEVIS,3/8"-24 x 2 1/2"

CLEVIS - adjustable, 3/8 inch NF

2шт.

17

425-156

JAM NUT,Jam, 3/8"-24, G5

- hex, jam, 3/8 inch NF

2шт.

18

427-6106

CLEVIS PIN,9.53mm OD x 26.92mm L

PIN, CLEVIS, , Hardened 3/8" x 1 1/16"

2шт.

19

432-612

COTTER PIN,3/32" x 3/4"

PIN , SPLIT (COTTER), 3/32" x 3/4"

3шт.

20

194442C1

SUPPORT ASSY.

SUPPORT - shift linkage

1шт.

21

413-620

BOLT,Hex, 3/8" - 16 x 1-1/4", Gr 5

- hex, 3/8 NC x 1-1/4 inch

3шт.

22

492-11038

LOCK WASHER,3/8"

3шт.

23

495-11041

WASHER,0.406" ID x 0.812" OD x 0.065" W

(Flat, 13/32 x 13/16 x 1/16") 3/8", SAE

3шт.

24

194439C1

LEVER ASSY.

LEVER - shift, lower

1шт.

25

194437C1

LINK

- shift rail control

1шт.

26

195108C1

PIN

- shift lug

1шт.

27

432-824

COTTER PIN,1/8" x 1 1/2"

PIN, SPLIT (COTTER), 1/8" x 1-1/2"

1шт.

28

192689C1

PIN,34.93mm OD x 73.7mm L

- shift rail extension

2шт.

29

19689R1

PIN,1/4" x 1 1/4", Coiled

2шт.

30

196511C1

LARGE PLATE

SUPPORT - cable nut

1шт.

Выбрано товаров: 31