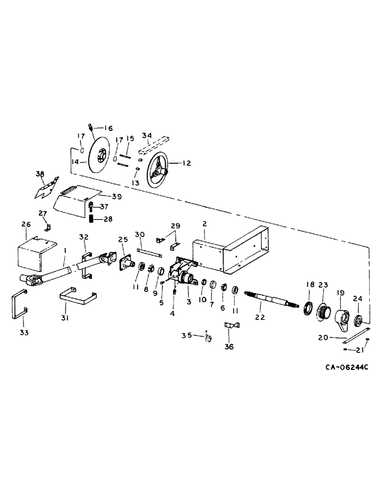
Запчасти Case IH 1482 (07-07) - DRIVE TRAIN, SEPARATOR DRIVE Drive Train

Схема запчастей Case IH 1482 - (07-07) - DRIVE TRAIN, SEPARATOR DRIVE Drive Train
34
18
17
38
20
12
30
6
13
23
3
7
32
17
11
10
19
29
8
36
11
14
22
5
21
39
16
31
27
25
24
26
9
4
15
28
37
35
33
FIT
1:1
100%

Артикул

Название

Примечание

Количество

1

184859C91

JOINT

ASSY, torque tube

1шт.

181903C1

YOKE

ASSY

1шт.

211259R1

FLANGE

YOKE, flange

1шт.

133137C91

KIT

CROSS KIT

1шт.

1305691C1

TUBE,3.5" OD, 79.88 mm Length

ASSY

1шт.

2

184845C1

SUPPORT

ASSY, rotor drive adjustment

1шт.

180175

BOLT,Hex, 1/2" - 13 x 1 1/4", Gr 5

1/2 x 1-1/4 type 5

1шт.

487374R1

BEARING LOCK NUT,Flg, USR, 1/2"-13

1/2 flange lock

1шт.

3

184842C2

CASE

jackshaft bearing

1шт.

180179

BOLT,Hex, 1/2" - 13 x 1 3/4", Gr 5

1/2 x 1-3/4 type 5

1шт.

120378

NUT,Hex, 1/2" - 13, Gr 5

NUT, 1/2"-13, G5

1шт.

120384

WASHER,1/2"

LOCK, 1/2"

1шт.

25555R1

WASHER,17/32" x 1 1/4" x .188", HDN

.531 x 1.250 x .188 phc hdn

1шт.

4

109461

LUBE NIPPLE,1/8"-27 x .66 lg

NIPPLE, LUBE, 1/8"-27 x .66 lg

2шт.

5

61991R91

BREATHER,1/8"-27 NPT, Short, w/washer

VALVE ASSY, bearing Case breather

2шт.

6

533726R91

BEARING

CONE, bearing jackshaft

1шт.

7

533727R1

BEARING, CUP

CUP, bearing jackshaft

1шт.

8

317705C91

ROLLER BEARING,47.638 mm ID x 25.6 mm

CONE, bearing

1шт.

9

317706C1

BEARING, CUP,88.925 mm OD x 25.6 mm

CUP, bearing

1шт.

10

184867C1

SEAL

jackshaft bearing inner

1шт.

11

338904R91

SEAL

SEAL, jackshaft bearing hub

2шт.

12

184837C91

PULLEY

ASSY, rotor drive stationary, 17.5 in. OD, 444.5 mm OD, Includes: Ref. 13

1шт.

26566R1

LOCK NUT

1 P/T lock type 5

1шт.

25847R1

WASHER

1.062 x 2.000 x .209 hdn

1шт.

13

194665C1

BUSHING

pulley

3шт.

14

184835C91

PULLEY

ASSY, rotor drive variable, 17.5 in. OD, 444.5 mm OD, Includes: Ref. 15

1шт.

15

191544C2

PIN,28.48mm OD x 127mm L

pulley

3шт.

16

219-86

LUBE NIPPLE,1/8" NPTF

FITTING, 1/8 str self-tap lub

1шт.

17

293726R1

O-RING,0.139" Thk x 2.234" ID, -228, Cl 5, 75 Duro

2-1/4 x 2-1/2 x 1/8

2шт.

18

184865C91

BEARING ASSY,4.75" ID x 6.375" OD x 0.984"

jackshaft thrust

1шт.

19

184832C2

HUB

variable pulley female

1шт.

20

184831C1

BAR

variable stop

1шт.

180126

BOLT,Hex, 3/8" - 16 x 1 1/2", Gr 5

3/8 x 1-1/2 type 5

1шт.

120377

NUT,3/8" - 16, Gr 5

1шт.

120394

WASHER,3/8", SAE

WASHER, .406 x .812 x .051

1шт.

21

117962

GROMMET,3/8" ID x 27/32" x .188"

rubber

2шт.

22

184844C1

SHAFT

separator drive jack

1шт.

23443R1

LOCK NUT,1"-8, GC

NUT, 1 P/T lock type 5

1шт.

26566R1

LOCK NUT

1 P/T lock type 5

1шт.

25847R1

WASHER

1.062 x 2.000 x .209 hdn

1шт.

23

184833C1

SPROCKET ASSY.

SPROCKET, variable pulley male, 25 T

1шт.

24

184866C91

BEARING ASSY,82.53mm ID x 132.08mm OD x 22.86mm W

jackshaft thrust

1шт.

25

184843C1

HUB

universal joint

1шт.

427566

BOLT,Hex, 1/2"-13 x 1 1/2", G8, Full Thd

1/2 x 1-1/2 type 8

1шт.

123174

LOCK WASHER,1/2"

1/2"

1шт.

23443R1

LOCK NUT,1"-8, GC

NUT, 1 P/T lock type 5

1шт.

25847R1

WASHER

1.062 x 2.000 x .209 hdn

1шт.

26

181882C1

SHIELD

ASSY, u-joint, Serial Range: -10000

1шт.

938016R1

FLANGE NUT,Flg, USR, 1/4"-20

1/4 flange lock

1шт.

937059R1

SCREW,Serr, M10 x 70mm, Cl 10.9

1/4-20 x 1/2 slt-truss-hd

1шт.

27

175681C1

SUPPORT, tube, Serial Range: -10000

1шт.

482256R1

BEARING LOCK NUT,Flg, USR, 3/8"-16

3/8 flange lock

1шт.

477-73812

SERRATED SCREW,Truss HD, 3/8" - 16 x 3/4"

3/8 x 3/4 znp slt-truss-hd

1шт.

28

M296

SPRING

front door latch

1шт.

29

1305033C1

ANGLE

torque tube guard

2шт.

30

1305031C1

BAR

torque tube guard

1шт.

31

1305032C1

STRAP

SUPPORT, torque tube guard

1шт.

938017R1

FLANGE NUT,Flg, USR, 5/16"-18

5/16 flange lock

1шт.

161945C1

SERRATED SCREW,Sl Truss Hd, 5/16" - 18 x 1"

5/16 x 1 znp slt-truss-hd

1шт.

32

1305034C1

STRAP

SUPPORT, lower torque guard

1шт.

33

1305035C2

STRAP

SUPPORT, lower torque guard

1шт.

482256R1

BEARING LOCK NUT,Flg, USR, 3/8"-16

3/8 flange lock

1шт.

163830C1

SCREW, 3/8 x 1 slt-truss-hd

1шт.

34

BELT, rotor variable drive, Refer to group 21 under rotor drive

1шт.

35

SWITCH, variable pulley limit, Refer to group 8 under electrical diagram, Shaft speed monitor control and variable speed motor

2шт.

36

1307304C1

SUPPORT

variable pulley limit switch

1шт.

161108C1

BOLT,Hex Serr, 1/4" - 20 x 1/2"

1/4 x 1/2 flange lock

1шт.

37

454502R1

LATCH

1шт.

648002

KNIFE

1/8" x 3/4"

1шт.

120394

WASHER,3/8", SAE

WASHER, .406 x .812 x .051

1шт.

38

1308413C1

SHIELD

SUPPORT, u-joint front, Start Serial: 10001

1шт.

487374R1

BEARING LOCK NUT,Flg, USR, 1/2"-13

1/2 flange lock

1шт.

39

1308409C2

SHIELD

SUPPORT, u-joint, Start Serial: 10001

1шт.

938016R1

FLANGE NUT,Flg, USR, 1/4"-20

1/4 flange lock

1шт.

937059R1

SCREW,Serr, M10 x 70mm, Cl 10.9

1/4-20 x 1/2 slt-truss-hd

1шт.

Выбрано товаров: 75