Запчасти Case IH 1482 (33-05) - FEEDER, ROCK TRAP (13) - FEEDER

Схема запчастей Case IH 1482 - (33-05) - FEEDER, ROCK TRAP (13) - FEEDER
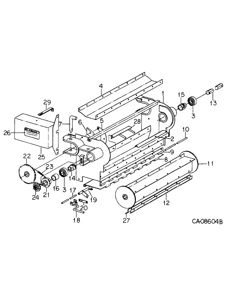
5
28
4
22
19
2
29
9
13
21
25
27
1
6
8
12
26
10
3
15
18
3
20
17
16
14
23
24
11
FIT
1:1
100%

Артикул

Название

Примечание

Количество

1

1327630C2

HOUSING ASSY.

HOUSING ASSY, rock trap, Replaces 1320235C2

1шт.

938017R1

FLANGE NUT,Flg, USR, 5/16"-18

5/16 flange lock

1шт.

155807C1

BOLT,Hex Serr, 5/16" - 18 x 1"

1шт.

446363

WASHER,5/16"

.375 x .875 x .064

1шт.

2

1320278C1

BRACKET

ANGLE, wear

1шт.

938017R1

FLANGE NUT,Flg, USR, 5/16"-18

5/16 flange lock

1шт.

135270

SERRATED SCREW,5/16" - 18 x 3/4"

5/16 x 3/4 znp slt-truss-hd

1шт.

3

179665C91

BALL BEARING,38.1mm Hex x 85mm OD x 30mm W

BEARING ASSY, rock trap beater

2шт.

4

1327926C1

COVER

SUPPORT, housing, Replaces 1320035C1

1шт.

938017R1

FLANGE NUT,Flg, USR, 5/16"-18

5/16 flange lock

1шт.

161945C1

SERRATED SCREW,Sl Truss Hd, 5/16" - 18 x 1"

5/16 x 1 znp slt-truss-hd

1шт.

154273C1

BOLT,Hex Serr, 3/8" - 16 x 1", Spcl

3/8-16 x 1 hex-hd lock

1шт.

482256R1

BEARING LOCK NUT,Flg, USR, 3/8"-16

3/8 flange lock

1шт.

5

1320254C1

PLATE

SUPPORT ASSY, seal backup

2шт.

938017R1

FLANGE NUT,Flg, USR, 5/16"-18

5/16 flange lock

1шт.

6

195202C1

SEAL

feeder

2шт.

7

192533C2

ROD

pivot

2шт.

486830R1

COTTER PIN

PIN, quick attachable cot.

2шт.

8

1324908C1

DOOR

ASSY, rock trap w/ hinge, Includes: Ref. 9

1шт.

9

1320119C1

HINGE

door

1шт.

938017R1

FLANGE NUT,Flg, USR, 5/16"-18

5/16 flange lock

1шт.

135270

SERRATED SCREW,5/16" - 18 x 3/4"

5/16 x 3/4 znp slt-truss-hd

1шт.

10

1320120C1

ROD

door hinge

1шт.

11

1319832C1

BEATER

ASSY, rock trap feed, 3 blade, Replaces 4 blade beater assy., 1324123C1

1шт.

12

1320102C1

BAR

EXTENSION, rock trap blade, Used w/ beater assy, 1324123C1

4шт.

154273C1

BOLT,Hex Serr, 3/8" - 16 x 1", Spcl

3/8-16 x 1 hex-hd lock

1шт.

9411655

LOCK NUT,3/8"-16, GB

NUT, 3/8 cad p/t lock type 5

1шт.

12

1324437C1

EXTENSION

rock trap blade, Used w/ beater assy, 1319832C1

3шт.

634979R1

CARRIAGE BOLT,Sht Sq Nk, 3/8" - 16 x 1 1/2"

BOLT, 3/8 x 1-1/2 crg type 5

1шт.

120382

LOCK WASHER,Helical Spring, 3/8"

WASHER, LOCK, 3/8"

1шт.

120377

NUT,3/8" - 16, Gr 5

1шт.

12

1320922C2

BLADE

rock trap extension, serrated

1шт.

Blades use per the numberof blades on the Beater Assy.(Some 3, Some 4)

1шт.

13

1320129C2

SHAFT

BAR, beater, shaft, 1474 mm, 389022a1 - 1500 mm

1шт.

137323

COTTER PIN,5/16" x 2 1/2"

Pin, Split (Cotter), 5/16" x 2 1/2"

1шт.

20705R1

WASHER

1.781 x 2.500 x .054

1шт.

609376R1

WASHER

1.781 x 2.500 x .105

1шт.

14

1320268C1

SPACER

ASSY, sprocket LH

1шт.

15

1320269C1

SPACER

ASSY, sprocket RH

1шт.

16

162172C1

SPACER

1.812 x 255 x 1.94

1шт.

17

1320115C1

ROD

door latch

1шт.

18481R1

COTTER PIN,3/16" x 1"

PIN, SPLIT (COTTER), 3/16" x 1"

1шт.

18

1320205C1

HANDLE

ASSY, door RH

1шт.

180173

BOLT,Hex, 1/2" - 13 x 1", Gr 5

1шт.

9413967

LOCK NUT,1/2"-13, GB

NUT, 1/2 cad p/t lock type 5

1шт.

19

1320267C2

TUBE ASSY.

TUBE ASSY, door RH, Order parts accessory, 1957365C1

1шт.

174608C2

BOLT,Hex, 3/8" - 16 x 1 1/2"

3/8 x 1-1/2 type 5

1шт.

120377

NUT,3/8" - 16, Gr 5

1шт.

20

1320128C1

LINK

BAR, connecting

2шт.

180122

BOLT,Hex, 3/8" - 16 x 1", Gr 5

3/8 x 1 znp type 5

1шт.

9411655

LOCK NUT,3/8"-16, GB

NUT, 3/8 cad p/t lock type 5

1шт.

21

1320095C3

DRIVE SPROCKET

SPROCKET ASSY, drive, 16T

1шт.

Sprockets to determine rock Beater Speed. SB 40-87

1шт.

22

1320095C3

DRIVE SPROCKET

SPROCKET ASSY, driven, 16T

1шт.

Sprockets to determine rock Beater Speed. SB 40-87

1шт.

22

1320110C3

SPROCKET

ASSY, driven, 33T

1шт.

23

CHAIN ASSY, drive, For use w/ 2 - 1320095C3 sprocket, Use 41 links from 10 ft roll marked 1793D and 1 connecting link 1786D

1шт.

1786D

LINK

#60H single pitch connecting

1шт.

23

CHAIN ASSY, drive, extension, For use w/ 1 - 1320095C3 and 1 - 1320110C3 sprocket, Use 7 links from 10 ft roll marked 1793D and 1 connecting link 1786D

1шт.

1786D

LINK

#60H single pitch connecting

1шт.

24

629972R91

DRIVE SPROCKET,15T

SPROCKET, beater drive chain, 15T, Replaces block, 582018R1

1шт.

18722R1

CARRIAGE BOLT,Sq Nk, 5/8" - 11 x 2 1/2", Gr 2

BOLT, 5/8 x 2-1/2 crg type 1

1шт.

280374

NUT,Hex, 5/8" - 11, Gr 5

5/8 type 5

1шт.

21783R1

SQ HOLE WASHER,41/64" x 1 1/2" x .105", Sq Hole

.656 x 1.500 x .090 sq/h

1шт.

21782R1

WASHER

.656 x 1.500 x .054

1шт.

492-11062

BEARING WASHER,5/8"

WASHER, LOCK, 5/8"

1шт.

25

1320609C93

GUARD

SHIELD ASSY, drive, Includes: Ref. 26

1шт.

487374R1

BEARING LOCK NUT,Flg, USR, 1/2"-13

1/2 flange lock

1шт.

174985C1

BOLT,Hex Serr, 1/2" - 13 x 1"

SCREW, 1/2-13 x 1.0 hex flange

1шт.

26

1320694C1

DECAL

PRODUCT GRAPHIC, danger, Replaces 176977C1

1шт.

27

1314150C1

ANGLE

beater reinforcing, Used only with four blade rock trap beater, 1324123C1

4шт.

154273C1

BOLT,Hex Serr, 3/8" - 16 x 1", Spcl

SCREW, 3/8-16 x 1 lock

1шт.

9411655

LOCK NUT,3/8"-16, GB

NUT, 3/8 cad p/t lock type 5

1шт.

28

1320776C1

SUPPORT

ASSY, rock trap angle

1шт.

29

1320325C1

SUPPORT ASSY.

BRACKET, drive shield

1шт.

135270

SERRATED SCREW,5/16" - 18 x 3/4"

5/16 x 3/4 znp slt-truss-hd

1шт.

938017R1

FLANGE NUT,Flg, USR, 5/16"-18

5/16 flange lock

1шт.

1957365C1

LATCH

PARTS ACCESSORY, rock trap latch retro-fit, Used to eliminate grain leakage at the rock trap door, Consists of:

1шт.

1324881C1

ANGLE

rock trap door, seal

1шт.

477-73812

SERRATED SCREW,Truss HD, 3/8" - 16 x 3/4"

3/8 x 3/4 znp slt-truss-hd

6шт.

482256R1

BEARING LOCK NUT,Flg, USR, 3/8"-16

3/8 flange lock

6шт.

1324765C1

SUPPORT TUBE,999 mm Length

TUBE ASSY, rock trap door RH

1шт.

174608C2

BOLT,Hex, 3/8" - 16 x 1 1/2"

3/8 x 1-1/2 type 5

4шт.

120377

NUT,3/8" - 16, Gr 5

4шт.

1957278C1

LATCH

PACKAGE, rock trap latch support

1шт.

1957278C1

LATCH

PACKAGE, rock trap latch support, Consists of:

1шт.

SUPPORT ASSY, latch center (NSS)

1шт.

180122

BOLT,Hex, 3/8" - 16 x 1", Gr 5

3/8 x 1 znd type 5

2шт.

9411655

LOCK NUT,3/8"-16, GB

NUT, 3/8 cad p/t lock type 5

2шт.

FOOTNOTE

1шт.

SB 18-87 Rock Trap Beater Shaft Bearing Failures

1шт.

FOOTNOTE

1шт.

SB 32-87 Reverse Rockshaft Door & Seal

1шт.

FOOTNOTE

1шт.

SB 32.1-87 Rock Trap Door Latch

1шт.

FOOTNOTE

1шт.

FOOTNOTE

1шт.

Ref #21&22 Sprockets to determine Rock Trap Beater Speed.

1шт.

FOOTNOTE

1шт.

Ref #12 Blades Use per the number of blades on the Beater Assy. (Some 3, Some 4)

1шт.

Выбрано товаров: 100