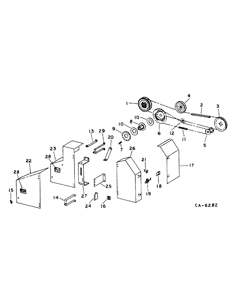
Запчасти Case IH 1482 (33-17) - FEEDER, AUGER AND KNIFE DRIVE (13) - FEEDER

Схема запчастей Case IH 1482 - (33-17) - FEEDER, AUGER AND KNIFE DRIVE (13) - FEEDER
29
10
1
17
14
5
2
24
4
28
9
10
13
7
27
18
23
19
28
26
8
15
25
11
12
22
21
6
3
16
20
FIT
1:1
100%

Артикул

Название

Примечание

Количество

1

182029C1

PULLEY

knife driven, 10-1/2 in. OD, 266.7 mm OD

1шт.

218446

NUT,Jam, 1 1/8"-7, G5

1-1/8 pln jam type 5

1шт.

2

552747R2

V-BELT

Knife drive, 99.67 in. OC, 2531.6 mm OC

1шт.

3

184815C1

PULLEY ASSY.

PULLEY ASSY, knife drive, 10-1/2 in. OD, 266.7 mm OD

1шт.

9635884

BOLT,Hex, 5/16" - 18 1", Full Thd, Gr 5

5/16 x 1 type 5

1шт.

120376

NUT,5/16"-18, G5

1шт.

80681

LOCK WASHER,5/16"

WASHER, LOCK, 5/16"

1шт.

4

674966R91

PULLEY,203.2mm Idler Dia x 222.25mm OD x 36.51mm W

W/ BEARING, knife idler, 8-3/4 in. OD, 222.3 mm OD

1шт.

18721R1

CARRIAGE BOLT,Sq Nk, 5/8" - 11 x 2 1/4", Gr 2

BOLT, 5/8 x 2-1/4 crg type 1

1шт.

124589

BALL STUD,Hex, 5/8" - 11 x 2", Gr 5

5/8 type 5

1шт.

21471R1

WASHER

.656 x 1.000 x .105

1шт.

668752R1

WASHER

.906 x 1.250 x .054

1шт.

5

177965C1

SPROCKET ASSY.

SPROCKET, auger drive, 18T

1шт.

6

177966C2

SPROCKET ASSY.

SPROCKET W/ BUSHING, auger driven, 47T

1шт.

18769R1

BOLT,Hex, 5/16" - 18 x 2 1/2", Gr 2

5/16 x 2-1/2 type 1

12шт.

231-1445

NUT,5/16"-18, GB

NUT, 5/16 p/t lock type 5

12шт.

120393

BEARING WASHER,5/16", SAE

WASHER, .344 x .688 x .051

12шт.

20893R1

WASHER

.344 x 1.000 x .105

12шт.

7

568243R1

SPRING

slip clutch

12шт.

8

177962C1

HUB

slip clutch

1шт.

9

177963C1

PLATE

slip clutch

1шт.

10

177964C2

FACING

slip clutch

2шт.

11

CHAIN ASSY, auger drive, Use 87 links from 10 ft roll marked 611362R91, 1 connecting link 574532R91 and 1 offset link 612612R91

1шт.

574532R91

CLIP, SPRING

LINK, #60 single pitch connecting

1шт.

612612R91

CHAIN LINK

LINK, #60 single pitch offset

1шт.

12

571441R91

SPROCKET ASSY.,15T

SPROCKET, idler, 15T

1шт.

18811R1

BOLT,Hex, 1/2" - 13 x 2 3/4", Gr 2

1/2 x 2-3/4 type

1шт.

120378

NUT,Hex, 1/2" - 13, Gr 5

NUT, 1/2"-13, G5

1шт.

120384

WASHER,1/2"

LOCK, 1/2"

1шт.

NLS

NO LONGER SERVICED

.531 x 1.062 x .074

1шт.

460908R1

WASHER

.531 x 1.500 x .105

1шт.

13

184941C1

SUPPORT

ASSY, drive shield, For 17.5 ft

1шт.

938016R1

FLANGE NUT,Flg, USR, 1/4"-20

1/4 flange lock

1шт.

937059R1

SCREW,Serr, M10 x 70mm, Cl 10.9

1/4-20 x 1/2 slt-truss-hd

1шт.

14

197582C2

SUPPORT

ASSY, front shield, For 12.5 ft

1шт.

938017R1

FLANGE NUT,Flg, USR, 5/16"-18

5/16 flange lock

1шт.

135270

SERRATED SCREW,5/16" - 18 x 3/4"

5/16 x 3/4 znp slt-truss-hd

1шт.

15

488245R1

WING NUT

3/8 nylon insert wing, 2 for 12.5 ft

1шт.

16

184644C2

HINGE

shield

6шт.

938016R1

FLANGE NUT,Flg, USR, 1/4"-20

1/4 flange lock

1шт.

937059R1

SCREW,Serr, M10 x 70mm, Cl 10.9

1/4-20 x 1/2 slt-truss-hd

1шт.

17

189203C1

SHIELD

1шт.

18

189471C1

STOP

BAR, latch stop

4шт.

19

168481C1

LATCH ASSY.

LATCH ASSY, shield

4шт.

120361

NUT,Hex Mach Screw, #10 - 24

1шт.

436732

SCREW,Slotted Pan Hd, #10-24 x 1/2"

no. 10 x 1/2 znp p/hds mach

1шт.

120217

LOCK WASHER,#10

WASHER, LOCK, #10

1шт.

20

184533C1

SUPPORT

idler, For 17.5 ft

12шт.

938017R1

FLANGE NUT,Flg, USR, 5/16"-18

5/16 flange lock

1шт.

135270

SERRATED SCREW,5/16" - 18 x 3/4"

5/16 x 3/4 znp slt-truss-hd

1шт.

21

189168C1

ANGLE

SUPPORT, drive shield

4шт.

938016R1

FLANGE NUT,Flg, USR, 1/4"-20

1/4 flange lock

1шт.

937875R1

SCREW,Serr, 1/4" - 20

1/4 x 3/4 slt-truss-hd

1шт.

22

1305736C2

SHIELD

ASSY, auger drive, For 12.5 ft, Includes: Ref. 28

1шт.

938016R1

FLANGE NUT,Flg, USR, 1/4"-20

1/4 flange lock

1шт.

937059R1

SCREW,Serr, M10 x 70mm, Cl 10.9

1/4-20 x 1/2 slt-truss-hd

1шт.

23

1305737C2

SHIELD

ASSY, auger driven, For 17.5 ft, Includes: Ref. 28

1шт.

938016R1

FLANGE NUT,Flg, USR, 1/4"-20

1/4 flange lock

1шт.

937059R1

SCREW,Serr, M10 x 70mm, Cl 10.9

1/4-20 x 1/2 slt-truss-hd

1шт.

24

184508C1

ANGLE

drive shield

1шт.

938017R1

FLANGE NUT,Flg, USR, 5/16"-18

5/16 flange lock

1шт.

135270

SERRATED SCREW,5/16" - 18 x 3/4"

5/16 x 3/4 znp slt-truss-hd

1шт.

25

184510C1

SUPPORT

drive shield upper, For 12.5 ft

1шт.

482256R1

BEARING LOCK NUT,Flg, USR, 3/8"-16

3/8 flange lock

1шт.

477-73812

SERRATED SCREW,Truss HD, 3/8" - 16 x 3/4"

3/8 x 3/4 znp slt-truss-hd

1шт.

25

184509C1

ANGLE

drive shield upper, For 17.5 ft

1шт.

938017R1

FLANGE NUT,Flg, USR, 5/16"-18

5/16 flange lock

1шт.

135270

SERRATED SCREW,5/16" - 18 x 3/4"

5/16 x 3/4 znp slt-truss-hd

1шт.

26

184511C1

SHIELD

ASSY, drive

1шт.

27

185762C1

SUPPORT

idler sprocket

1шт.

938017R1

FLANGE NUT,Flg, USR, 5/16"-18

5/16 flange lock

1шт.

135270

SERRATED SCREW,5/16" - 18 x 3/4"

5/16 x 3/4 znp slt-truss-hd

1шт.

28

1320694C1

DECAL

PRODUCT GRAPHIC, danger, Replaces 176977C1

1шт.

29

184817C1

SUPPORT ASSY.

SUPPORT ASSY, front shield, For 17.5 ft

1шт.

938017R1

FLANGE NUT,Flg, USR, 5/16"-18

5/16 flange lock

1шт.

135270

SERRATED SCREW,5/16" - 18 x 3/4"

5/16 x 3/4 znp slt-truss-hd

1шт.

Выбрано товаров: 76