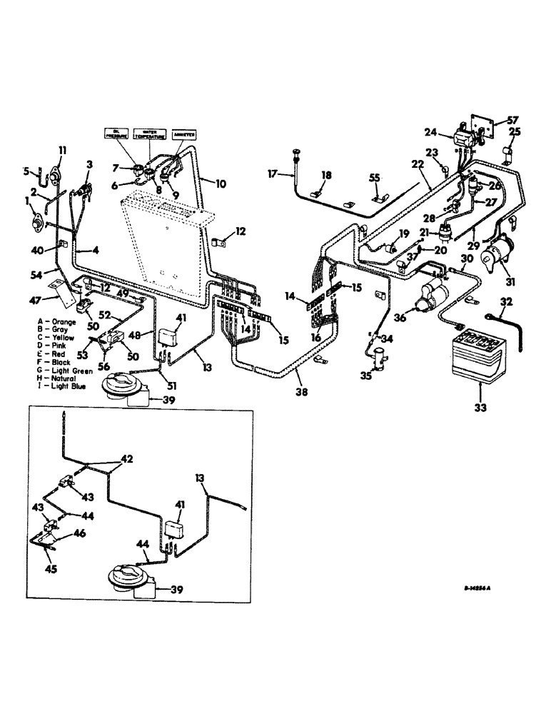
Запчасти Case IH 403 (244) - ELECTRICAL SYSTEM, WIRING DIAGRAM, COMBINE S/N 940 AND BELOW, C-282 ENGINE (55) - ELECTRICAL SYSTEMS

Схема запчастей Case IH 403 - (244) - ELECTRICAL SYSTEM, WIRING DIAGRAM, COMBINE S/N 940 AND BELOW, C-282 ENGINE (55) - ELECTRICAL SYSTEMS
16
21
43
50
41
43
5
54
25
51
56
50
3
23
9
11
46
10
4
14
41
52
48
31
24
34
44
44
55
29
13
30
8
15
33
1
14
40
12
20
39
12
28
53
27
13
19
17
57
7
22
6
45
37
2
36
42
39
38
26
35
18
47
15
32
49
FIT
1:1
100%

Артикул

Название

Примечание

Количество

1

366317R92

IGNITION SWITCH

SWITCH ASSY, push button starting

1шт.

120611

NUT,#10 - 32

NO. 10-32NF SQ NUT

2шт.

100751

SCREW,Slotted Rd Hd, #8-32 x 1/2"

NO. 8 X 1/2 SLT-RD-HD SCREW

1шт.

132903

ADAPTER

NO. 10-32NF X 7/16 SLT-HD CD-PLTD SCREW

2шт.

120217

LOCK WASHER,#10

WASHER, LOCK, #10

2шт.

615226R1

WASHER

1-1/32 X 1-1/2 X 22 GA WASHER

1шт.

2

565553R91

CABLE ASSY, ignition switch to starter switch

1шт.

3

365522R91

IGNITION SWITCH

SWITCH ASSY, ingition, key type

1шт.

365502R1

NUT

switch mounting

1шт.

125793

LOCK, Int Tooth, 13/16"

1шт.

4

629442R91

HARNESS ASSY, starter and starter switch

1шт.

5

654353R91

WIRE ASSY, horn, Serial Range: button-ground

1шт.

6

565553R91

CABLE ASSY, oil pressure gauge to water temperature gauge

1шт.

7

939263R91

GAUGE ASSY.

GAUGE ASSY, oil pressure

1шт.

8

629032R91

GAUGE

ASSY, water temperature, combine Serial no. 805 & below

1шт.

8

939262R91

GAUGE ASSY.

GAUGE ASSY, water temperature, combine Serial no. 806 & above

1шт.

9

269467R92

INDICATOR

GAUGE ASSY, charge indicator

1шт.

10

632107R91

HARNESS ASSY, instrument gauge cable

1шт.

11

366316R91

SWITCH

ASSY, warning horn push button

1шт.

12

362120R1

CLAMP,9.53mm ID, 10.32mm Bolt Hole, P Type

CLIP, open

1шт.

17404R1

BOLT,Hex, 5/16" - 18 x 1/2", Gr 2

5/16 X 1/2 MACH BOLT

1шт.

9635082

NUT,5/16" - 18, Gr 5

5/16 NUT

1шт.

103320

LOCK WASHER,5/16"

WASHER, LOCK, 5/16"

1шт.

13

936139R91

WIRE ASSY, relay to junction block

1шт.

14

565481R91

BAR

BLOCK ASSY, four terminal

2шт.

103102

NO. 12 SQ NUT

4шт.

100779

BOLT,Rd Hd, #12 - 24 x 3/4"

NO. 12 X 3/4 SLT-RD-HD SCREW

4шт.

103498

CLEVIS PIN,1/2" x 1.360"

NO. 12 LOCK WASHER

4шт.

15

300559R91

BLOCK

ASSY, junction three terminal

2шт.

103102

NO. 12 SQ NUT

4шт.

100779

BOLT,Rd Hd, #12 - 24 x 3/4"

NO. 12 X 3/4 SLT-RD-HD SCREW

3шт.

100781

NO. 12 X 1 SLT-RD-HD SCREW

1шт.

103498

CLEVIS PIN,1/2" x 1.360"

NO. 12 LOCK WASHER

4шт.

16

223-31

FUSE,10 Amp, Type 3AG

30 amp, cartridge type

1шт.

17

564534R91

CABLE

ASSY, choke, Optional with 634522R91

1шт.

17

634522R91

CONTROL

CABLE ASSY, choke, Optional with 564534R91

1шт.

18

362127R1

CLIP

choke cable and fuel pump

1шт.

19

665014R91

SENDER UNIT

UNIT ASSY, oil pressure sending

1шт.

20

665016R91

TEMPERATURE SENDER

UNIT ASSY, water temperature

1шт.

221-89

REDUCER,Hex, 1/2" x 3/8" NPT

1/2 X 3/8 REDUCING PIPE BUSHING

1шт.

21

DISTRIBUTOR ASSY, Refer to eng-2 parts catalog

1шт.

22

379392R91

HARNESS ASSY, cable

1шт.

23

362121R1

CLIP

cable harness, on push rod cover screw

2шт.

24

1119270E

REGULATOR ASSY, voltage, For components see list of parts under details of voltage regulator, also order plate, 393454R1 & attaching hardware

1шт.

25

370383R1

CLIP

cable harness, on RH water outlet housing mounting bolt

1шт.

26

COIL ASSY, ignition, Refer to eng-2 parts catalog

1шт.

27

NOT SERVICED SEPARATELY, Refer to eng-2 parts catalog

1шт.

28

RESISTOR, ignition coil, Refer to eng-2 part catalog

1шт.

29

368267R91

CABLE

coil to distributor primary, Refer to eng-2 parts catalog

1шт.

30

632106R91

CABLE

ASSY, battery to starting motor

1шт.

31

1100425

GENERATOR

ASSY, For components see list of parts under details of generator

1шт.

32

629029R91

CABLE

ASSY, Serial Range: battery-ground

1шт.

179856

BOLT,Hex, 7/16" - 14 x 3/4", Gr 5

SCREW, 7/16-14 x 3/4 hex-hd cap

1шт.

103322

LOCK WASHER,7/16"

WASHER, LOCK, 7/16"

1шт.

61252H

WASHER

15/32 x 3/4 x 11 ga

1шт.

33

365861R91

BATTERY, prestolite HS11-60, 12 volt

1шт.

34

632095R91

CABLE ASSY, fuel pump

1шт.

35

PUMP ASSY, fuel, See list of parts under details of fuel pump

1шт.

36

1107679

MOTOR ASSY, cranking, For components see list of parts under details of cranking motor

1шт.

37

358986R1

CABLE CLIP

CLIP, cable harness, On cranking motor drive housing upper mounting bolt

1шт.

38

629441R91

HARNESS W/FUSE ASSY, cable

1шт.

39

166166R91

HORN

ASSY, parking brake warning

1шт.

40

140582

CLAMP

CLIP, closed

1шт.

40

140571

CLIP

cable

1шт.

41

241120R91

RELAY

ASSY, parking brake warning horn

1шт.

42

654348R91

CABLE ASSY, relay to switch, Order package 936719R91

1шт.

43

633643R91

SWITCH

ASSY, warning horn, combine Serial no. 640 & below

2шт.

44

654349R91

CABLE ASSY, relay to horn, 2nd switch to switch, Order package 936719R91

2шт.

45

654351R91

WIRE ASSY, micro switch to ground, combine Serial no. 640 & below

1шт.

46

632916R1

BRACKET, warning horn to switch mounting, Order package 936719R91

1шт.

47

936695R1

BRACKET, parking brake warning horn switch, combine Serial no. 805 & below

1шт.

47

939631R1

BRACKET, parking brake warning horn switch, combine Serial no. 806 & above

1шт.

14896R1

5/16 X 1/2 CRG BOLT

2шт.

9635082

NUT,5/16" - 18, Gr 5

5/16 NUT

2шт.

103320

LOCK WASHER,5/16"

WASHER, LOCK, 5/16"

2шт.

48

936698R91

CABLE ASSY, relay to switch, combine Serial no. 805 & below

1шт.

48

939717R91

CABLE ASSY, relay to swtich, combine Serial no. 806 & above

1шт.

49

362127R1

CLIP

relay to switch cable

2шт.

50

936694R91

SWITCH

ASSY, warning horn

2шт.

132719

NO. 6-32 X 1 CD-PLTD SLT-RD-HD MACH SCREW

4шт.

134530

NUT,Hex, #6 - 32

4шт.

492-11006

LOCK WASHER,#6

Lock, #6

4шт.

51

936940R91

CABLE ASSY, Serial Range: relay-horn

1шт.

52

936697R91

CABLE ASSY, micro switch to micro switch, combine Serial no. 805 & below

1шт.

52

939718R91

CABLE ASSY, micro switch to micro switch, combine Serial no. 806 & above

1шт.

53

495525R1

SPRING

micro switch actuating

1шт.

54

936696R91

CABLE ASSY, micro switch to horn button

1шт.

55

365584R1

CLIP

water temperature sending unit, on center and rear valve outer bolt

2шт.

56

654353R91

CABLE ASSY, micro, Serial Range: switch-ground

1шт.

57

393454R1

PLATE, voltage regulator mounting

1шт.

109084

NUT,1/4"-20, G5

4шт.

179797

BOLT,Hex, 1/4" - 20 x 1", Gr 5

4шт.

103319

LOCK WASHER,1/4"

WASHER, LOCK, 1/4"

4шт.

936719R91

PACKAGE ASSY, parking brake warning horn, Consists of

1шт.

936694R91

SWITCH

ASSY, warning horn

2шт.

132719

SCREW, 6/32 x 1 C-Z slt-rd-hd mach

4шт.

134530

NUT,Hex, #6 - 32

Machine screw #6-32

4шт.

492-11006

LOCK WASHER,#6

Lock, #6

4шт.

495525R1

SPRING

warning horn switch

1шт.

936695R1

BRACKET, warning horn switch mounting

1шт.

14986R1

BOLT, 5/16-18 short sq-nk crg

2шт.

9635082

NUT,5/16" - 18, Gr 5

5/16-18 hex.

2шт.

103320

LOCK WASHER,5/16"

WASHER, LOCK, 5/16"

2шт.

939717R91

CABLE ASSY, Serial Range: relay-switch

1шт.

362127R1

CLIP

relay to switch cable

1шт.

939718R91

CABLE ASSY, micro switch to switch

1шт.

654353R91

CABLE ASSY, micro switch to ground

1шт.

936696R91

CABLE ASSY, micro switch to horn button

1шт.

Выбрано товаров: 108