Запчасти Case IH 403 (124) - GRAIN TANK UNLOADER AUGER AND TUBE (80) - CROP STORAGE/UNLOADING

Схема запчастей Case IH 403 - (124) - GRAIN TANK UNLOADER AUGER AND TUBE (80) - CROP STORAGE/UNLOADING
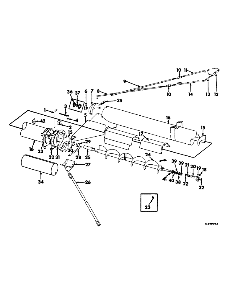
32
22
29
35
13
6
18
5
1
27
15
22
8
34
25
37
28
11
21
23
10
3
26
15
39
7
31
4
19
17
33
12
14
24
36
16
30
42
16
40
38
10
2
39
9
20
41
FIT
1:1
100%

Артикул

Название

Примечание

Количество

1

587686R1

PIN, unloader tube hinge

1шт.

3/16 X 1 COTTER PIN

1шт.

551177R1

WASHER

21/32 X 1-1/4 X 16 GA WASHER

2шт.

2

633161R1

BRACKET, eyebolt

1шт.

3

559017R1

BOLT,Eye, 1/2" - 13 x 4 1/8", Full Thd

EYEBOLT, unloader tube latch

1шт.

1/2 C-Z NUT

2шт.

1/8 X 1 COTTER PIN

1шт.

6642

PIN

5/8 X 2-1/4 DLD PIN

1шт.

1/2 C-Z MED LOCK WASHER

2шт.

PO10535

WASHER

17/32 X 1-1/4 X 11 GA WASHER

1шт.

551177R1

WASHER

21/32 X 1-1/4 X 16 GA WASHER

1шт.

4

558506R1

SPACER

unloader tube latch eyebolt

1шт.

5

570448R11

SPOUT W/SEAL ASSY, unloader tube

1шт.

5/16 X 1/2 CRG BOLT W/NUT

2шт.

5/16 LOCK WASHER

2шт.

11/32 X 1 X 16 GA WASHER

2шт.

6

NOT USED

1шт.

7

584267R1

SUPPORT

BRACKET, unloader upper auger bearing

1шт.

5/16 X 1/2 MACH BOLT W/NUT

3шт.

5/16 LOCK WASHER

3шт.

8

627364R11

ROD W/PLATE, unloader tube anchor lower rear

1шт.

5/16 X 1-3/4 MACH BOLT

1шт.

5/16 NUT

1шт.

5/16 LOCK WASHER

1шт.

9

627363R1

ROD, unloader tube pivot lower front

1шт.

7/16 X 1-3/4 MACH BOLT

1шт.

7/16 NUT

2шт.

10

M4175

TURNBUCKLE, unloader tube rod

2шт.

11

587892R1

ROD, unloader tube pivot upper

1шт.

5/8 NUT

1шт.

12

627358R1

ANCHOR, unloader tube pivot rod, Serial no. 805 and below

1шт.

3/8 X 3/4 MACH BOLT W/NUT

1шт.

3/8 X 1 MACH BOLT W/NUT

2шт.

3/8 LOCK WASHER

3шт.

12

939603R1

ANCHOR, unloader tube pivot rod, Serial no. 806 and above

1шт.

3/8 X 3/4 C-Z MACH BOLT W/NUT

1шт.

3/8 X 1 C-Z MACH BOLT W/NUT

2шт.

3/8 C-Z LOCK WASHER

3шт.

13

629027R1

RETAINER, unloader tube rod, Serial no. 1322 and below

1шт.

1/2 X 1-1/2 CRG BOLT W/NUT

1шт.

114505

JAM NUT,Jam, 1/2"-13, G5

1шт.

14

629919R91

ROD W/HANDLE, unloader tube anchor

1шт.

5/8 NUT

1шт.

15

154270C91

AUGER

W/SHAFT, unloader upper

1шт.

16

627333R91

TUBE W/HINGE ASSY, unloader upper, Includes ref nos 33 and 42 62.12" Length

1шт.

17

629659R91

SHIELD W/SUPPORT, unloader lower auger

1шт.

5/16 X 3/4 CRG BOLT W/NUT

5шт.

5/16 X 1 CRG BOLT W/NUT

3шт.

5/16 X 3/4 MACH BOLT

4шт.

5/16 LOCK WASHER

12шт.

11/32 X 3/4 X 16 GA WASHER

4шт.

18

80717

LUBE NIPPLE,45 Degree, 1/8" NPT x 7/8" lg

FITTING, 1/8 45 deg elbow lubrication

1шт.

19

564556R1

BOX

unloader auger lower bearing

1шт.

1/8 X 3/4 COTTER PIN

1шт.

1/4 X 15/16 DLD PIN

1шт.

20

551689R1

RACE

cylinder roller unit outer

1шт.

21

564557R91

BEARING ASSY,1" ID x 1.378" OD x 1.75"

cylindrical roller unit

1шт.

22

564592R91

SEAL,23.5mm ID x 36.6mm OD x 6.5mm Thk

OIL SEAL, unloader auger bearing

2шт.

23

564558R1

WASHER, unloader lower auger thrust, Serial no. 940 and below

1шт.

24

627349R91

AUGER

W/SHAFT, unloader lower, Serial no., Serial Range: 501-640

1шт.

24

936509R91

AUGER

W/SHAFT, unloader lower, Serial no. 641 and above

1шт.

1/4 X 1-3/4 COTTER PIN

1шт.

1-1/32 X 14-1/2 X 16 GA WASHER

1шт.

25

629482R91

STUD

W/PIN, unloader auger

1шт.

3/8 X 2-1/2 MACH BOLT W/NUT

2шт.

3/8 LOCK WASHER

2шт.

565665R1

1-29/32 X 2-1/2 X 16 GA WASHER

1шт.

26

627340R1

PIPE, unloader support

1шт.

3/8 X 1 MACH BOLT W/NUT

2шт.

3/8 LOCK WASHER

1шт.

27

154602C91

SUPPORT ASSY, unloader auger

1шт.

5/16 X 1 CRG BOLT W/NUT

6шт.

3/8 X 1 MACH BOLT W/NUT

2шт.

5/16 LOCK WASHER

6шт.

115549

LOCK WASHER,Int Tooth, 3/8"

WASHER, LOCK, Int Tooth, 3/8"

2шт.

11/32 X 3/4 X 16 GA WASHER

6шт.

28

COTTON WEBBING, 1 x 14-1/2, 2-ply, Order from bulk stock

1шт.

29

629481R1

BEARING

BUSHING

1шт.

30

629478R92

BRACKET

SUPPORT W/BUSHING ASSY, unloader auger upper bearing, Includes ref. no. 29

1шт.

5/16 X 1 MACH BOLT W/NUT

2шт.

5/16 LOCK WASHER

2шт.

11/32 X 1 X 16 GA WASHER

1шт.

31

629419R91

TUBE W/CONNECTION, unloader lower, Includes ref nos 2 and 32

1шт.

1/4 X 3/4 WAGON BOX-HD RIVET

8шт.

5/16 X 3/4 WAGON BOX-HD RIVET

2шт.

3/8 X 3/4 WAGON BOX-HD RIVET

1шт.

3/8 X 1 WAGON BOX-HD RIVET

1шт.

32

587714R1

HINGE, unloader lower tube

1шт.

33

587714R1

HINGE, unloader tube

1шт.

34

654690R1

SHIELD

TUBE, unloader lower auger tube extension

1шт.

5/16 X 1/2 CRG BOLT W/NUT

2шт.

5/16 LOCK WASHER

2шт.

35

939601R1

BRACKET, grain hopper unloader tube rod, Serial no. 806 and above

1шт.

3/8 X 3/4 C-Z MACH BOLT W/NUT

2шт.

3/8 C-Z LOCK WASHER

2шт.

36

571424R1

FLANGE

unloader upper auger

2шт.

37

455101R91

BEARING

unloader upper auger

1шт.

38

368372R91

THRUST BEARING

unloader lower auger thrust, Serial no. 940 and above

1шт.

39

864982R1

THRUST WASHER,1.012" ID x 1.552" OD x 0.93"

RACE, unloader auger thrust brg, Serial no. 941 and above

2шт.

40

21127R1

WASHER

unloader lower auger thrust brg seal felt, Serial no. 941 and above

1шт.

41

U14764

WASHER

unloader lower auger thrust brg cup, Serial no. 941 and above

1шт.

42

166856C1

LATCH, unloader tube eyebolt

1шт.

106930

RIVET,Tr Hd, 3/8" x 1"

3/8 x 1 wgn box-hd

1шт.

Выбрано товаров: 103