Запчасти Case IH 403 (126) - GRAIN TANK UNLOADER AUGER DRIVE (80) - CROP STORAGE/UNLOADING

Схема запчастей Case IH 403 - (126) - GRAIN TANK UNLOADER AUGER DRIVE (80) - CROP STORAGE/UNLOADING
8
4
7
23
29
13
28
26
11
5
1
20
9
10
14
24
22
19
2
3
16
25
6
18
21
12
24
27
17
FIT
1:1
100%

Артикул

Название

Примечание

Количество

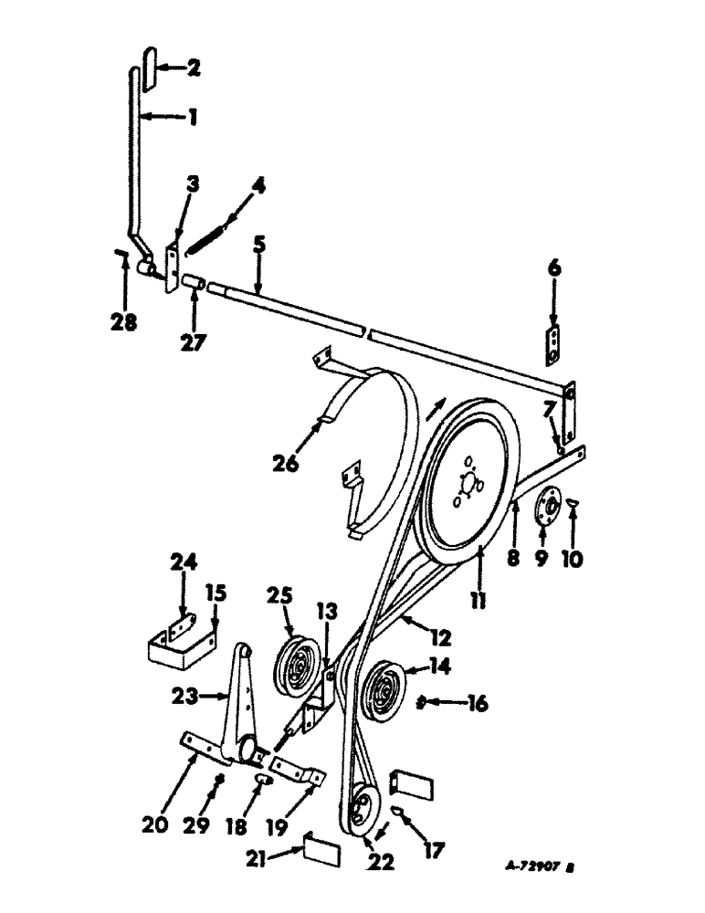
1

631658R91

LEVER W/HUB, unloader, Serial no. 805 and below

1шт.

1

938883R91

LEVER ASSY, unloader control, Serial no. 806 and above

1шт.

2

632519R1

GRIP

unloader control lever, Serial no. 806 and below

1шт.

2

938885R1

GRIP

unloader control lever, Serial no. 806 and above

1шт.

3

629561R1

BRACKET, unloader front control pipe, LH

1шт.

3/8 X 1 CRG BOLT W/NUT

1шт.

3/8 LOCK WASHER

1шт.

4

580107R1

SPRING

unloader lever return

1шт.

3/16 X 1 COTTER PIN

1шт.

5

654046R91

PIPE W/SHAFT, unloader front control, Serial no. 805 and below

1шт.

5

939637R91

PIPE ASSY, unloader front control, Serial no. 806 and above

1шт.

3/16 X 1-3/4 COTTER PIN

1шт.

1-1/32 X 1-1/2 X 16 GA WASHER

8шт.

615240R1

WASHER

1-3/32 X 1-1/2 X 16 GA WASHER

5шт.

6

634308R1

PLATE, unloader front control pipe RH, pivot

1шт.

3/8 X 1 CRG BOLT W/NUT

2шт.

3/8 LOCK WASHER

2шт.

13/32 X 1 X 16 GA WASHER

2шт.

7

556587R1

SPACER

unloader control rear arm

1шт.

8

633334R91

ARM W/STAND, unloader control rear

1шт.

3/8 X 1-1/4 MACH BOLT W/NUT

1шт.

1/2 NUT

2шт.

3/8 LOCK WASHER

1шт.

13/32 X 1 X 16 GA WASHER

2шт.

17/32 X 1 X 16 GA WASHER

2шт.

9

632539R1

INTAKE ASSY

HUB, unloader auger driven sheave

1шт.

10

117977

WOODRUFF KEY

KEY, 5/16 x 1 in. Woodruff

1шт.

11

22784KA

PULLEY

SHEAVE ASSY, unloader auger driven

1шт.

5/16 X 1 MACH BOLT W/NUT

5шт.

5/16 LOCK WASHER

5шт.

12

559064R1

V-BELT,0.88" W

Unloader auger drive, For propulsion drive 0.88" W

1шт.

12

562655R1

V-BELT,0.88" W

Unloader auger drive, For hydrostatic drive 0.88" W

1шт.

13

633322R91

STRAP W/HUB, unloader drive tightener sheave support

1шт.

3/8 X 1 CRG BOLT W/NUT

2шт.

3/8 LOCK WASHER

2шт.

14

154742C91

PULLEY

SHEAVE ASSY, unloader drive tightener outer

1шт.

15

632632R1

SUPPORT, idler outer

1шт.

5/16 X 3/4 CRG BOLT W/NUT

2шт.

5/16 LOCK WASHER

2шт.

16

574237R1

WASHER, unloader drive tightener pivot shaft

1шт.

17

117977

WOODRUFF KEY

KEY, 5/16 x 1 in. Woodruff, For propulsion drive

1шт.

17

Q1443

KEY,5/16" Sq x 1 1/2", Par

5/16 x 1-1/2 in. Woodruff, For hydrostatic drive

1шт.

18

18658K

TRUNNION

1шт.

19

633320R1

ARM, rear control outer

1шт.

3/8 X 1-1/2 MACH BOLT W/NUT

2шт.

3/8 LOCK WASHER

2шт.

20

633321R1

ARM, unloader control inner arm

1шт.

21

633336R1

GUIDE, unloader drive belt lower, For propulsion drive

2шт.

21

150685C1

GUIDE, unloader drive belt lower, For hydrostatic drive

2шт.

3/8 X 1 CRG BOLT W/NUT

4шт.

3/8 LOCK WASHER

4шт.

22

627895R1

PULLEY

SHEAVE, unloader auger drive, For propulsion drive

1шт.

22

150669C1

PULLEY, unloader auger drive, For hydrostatic drive

1шт.

23

633317R1

ARM, tightener sheave shaft

1шт.

24

632631R1

SUPPORT, inner idler

1шт.

5/8 X 6 MACH BOLT W/NUT

1шт.

551177R1

WASHER

21/32 X 1-1/4 X 16 GA WASHER

8шт.

557270R1

WASHER

29/32 X 1-1/4 X 11 GA WASHER

1шт.

25

570265R91

PULLEY

SHEAVE ASSY, unloader drive tightener inner

1шт.

26

633337R91

GUIDE W/SUPPORT, unloader drive belt upper

1шт.

5/16 X 1/2 CRG BOLT W/NUT

2шт.

5/16 X 3/4 CRG BOLT W/NUT

2шт.

27

NOT USED

1шт.

28

Q26

KEY,1/4" Sq x 1 1/4", Par

1/4 x 1-1/4 square

1шт.

29

332040

LUBE NIPPLE,90 Degree, 1/8" NPT x .84" lg

FITTING, 1/8 90 deg lubrication

1шт.

Выбрано товаров: 65