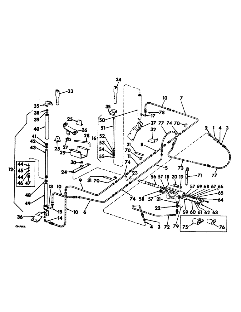
Запчасти Case IH 403 (183) - HYDRAULIC REEL LIFT, FOR HYDROSTATIC GROUND DRIVE (88) - ACCESSORIES

Схема запчастей Case IH 403 - (183) - HYDRAULIC REEL LIFT, FOR HYDROSTATIC GROUND DRIVE (88) - ACCESSORIES
58
16
39
44
57
41
35
59
29
75
34
8
77
37
4
31
70
1
61
9
51
38
47
63
48
35
31
19
27
73
50
10
43
4
72
56
60
70
67
44
55
68
12
15
74
57
69
18
65
25
45
13
10
71
17
36
23
54
78
11
2
7
6
64
74
3
28
26
30
24
74
66
49
5
40
25
33
62
22
14
10
57
79
70
32
42
53
3
20
46
76
52
77
21
FIT
1:1
100%

Артикул

Название

Примечание

Количество

1

395150R91

COUPLING, QUICK, FEM

COUPLING ASSY, self sealing female

1шт.

2

395149R1

QUICK MALE COUPLING

COUPLING ASSY, self sealing male

1шт.

3

935433R1

HYD CONNECTOR,9/16"-18, 37 Degree x 7/8"-14, O-Ring

CONNECTOR, self sealing coupling

2шт.

4

364885R1

O-RING,0.097" Thk x 0.755" ID, -910, Cl 6, 90 Duro

self sealing connector

2шт.

5

935769R11

PIPE W/STUD, upper pressure

1шт.

6

935774R11

PIPE W/NUT, sleeve and spud, lower pressure

1шт.

7

935773R11

PIPE W/NUT, sleeve and spud, lower RH crossover

1шт.

8

935768R11

PIPE W/NUT, sleeve and spud, upper RH crossover

1шт.

9

935772R11

PIPE W/NUT, sleeve and spud, lower LH crossover

1шт.

10

632455R91

HOSE

ASSY, cylinder to lower tubing

3шт.

11

935770R11

PIPE W/SPUD, upper LH crossover

1шт.

12

632457R91

CYLINDER

ASSY, master, Includes ref nos. 38 thru 49

1шт.

13

364839R1

O-RING,0.078" Thk x 0.468" ID, -906, Cl 6, 90 Duro

6-1, 90 Duro, .468" ID x .078" Thk, master cylinder

1шт.

14

585694R1

ELBOW,90 Degree, 9/16"-18, 37 Degree x 3/8"-18, NPTF

master cyl

1шт.

15

9410976

ELBOW,90 Degree, 9/16"-18, 37 Degree x 9/16"-18, O-Ring

master cylinder 90º, 9/16"-18, 37º x 9/16"-18, O-Ring

1шт.

16

825295C91

CYLINDER

ASSY, slave, Includes ref nos. 50 thru 55

1шт.

17

9402864

ELBOW,90 Degree, 9/16"-18, 37 Degree x 1/4"-18, NPTF

slave cylinder, For use w/610899R92 slave cyl

1шт.

17

9410976

ELBOW,90 Degree, 9/16"-18, 37 Degree x 9/16"-18, O-Ring

slave cylinder, For use w/825295C91 slave cyl 90º, 9/16"-18, 37º x 9/16"-18, O-Ring

1шт.

18

935585R92

VALVE ASSY, lift control, Includes ref nos. 56 thru 69

1шт.

5/16 X 6-1/2 CAP SCREW

3шт.

159644C91

KIT

o-ring and poppet repair

1шт.

19

587579R1

O-RING

valve

10шт.

20

587594R1

O-RING

valve

1шт.

21

570828R1

O-RING,0.087" Thk x 0.644" ID, -908, Cl 6, 90 Duro

valve port

1шт.

22

587639R1

HYD CONNECTOR,9/16"-18, 37 Degree x 3/4"-18, O-Ring

CONNECTOR, valve

1шт.

23

627428R1

ROD, rear control

1шт.

137185

COTTER PIN,1/8" x 1"

PIN, SPLIT (COTTER), 1/8" x 1"

2шт.

24

627425R91

STRAP ASSY, control pivot

1шт.

18781R1

BOLT,Hex, 3/8"-16 x 2", G2

3/8 x 2 C-Z hex-hd mach

1шт.

120377

NUT,3/8" - 16, Gr 5

1шт.

120382

LOCK WASHER,Helical Spring, 3/8"

WASHER, LOCK, 3/8"

1шт.

178372R1

WASHER

13/32 x 1-1/4 x 16 ga C-Z

1шт.

25

574471R1

BRACKET, control pedal

2шт.

18764R1

HARDWARE,Hex, 5/16"-18 x 3/4", G2

BOLT, 5/16 x 3/4 C-Z hex-hd mach

4шт.

120376

NUT,5/16"-18, G5

4шт.

137185

COTTER PIN,1/8" x 1"

PIN, SPLIT (COTTER), 1/8" x 1"

1шт.

U5363

PIN, 7/16 x 2-7/8 std-hd dld

1шт.

80681

LOCK WASHER,5/16"

WASHER, LOCK, 5/16"

4шт.

26

631486R1

PEDAL, lift control

1шт.

27

104038

ADJUSTABLE CLEVIS,3/8"-24 x 2 1/2"

CLEVIS, 3/8-24

1шт.

121222

COTTER PIN,3/32" x 3/4"

PIN, SPLIT (COTTER), 3/32" x 3/4"

1шт.

120196

PIN, 5/32 x 1 C-Z cotter

1шт.

103496

CLEVIS PIN,3/8" x 1.060"

PIN, 3/8 x 1-3/32 rod end

1шт.

28

938296R1

ROD, front control

1шт.

29

627429R1

SUPPORT, control pivot strap

1шт.

17351R1

CARRIAGE BOLT,Short Sq Nk, 3/8" - 16 x 1", Gr 2

BOLT, 3/8 x 1 C-Z sq-nk crg

4шт.

120377

NUT,3/8" - 16, Gr 5

4шт.

120382

LOCK WASHER,Helical Spring, 3/8"

WASHER, LOCK, 3/8"

4шт.

619856R1

WASHER

13/32 x 1 x 16 ga C-Z

2шт.

30

574464R1

BUSHING, control pivot strap

1шт.

18781R1

BOLT,Hex, 3/8"-16 x 2", G2

3/8 x 2 C-Z hex-hd mach

1шт.

120377

NUT,3/8" - 16, Gr 5

1шт.

120382

LOCK WASHER,Helical Spring, 3/8"

WASHER, LOCK, 3/8"

1шт.

178372

WASHER, 13/32 x 1-1/4 x 16 ga C-Z

1шт.

31

935665R1

STRIP, hydraulic tube clip holder

2шт.

32

935669R1

BRACKET, hydraulic tube clip holder

1шт.

33

935599R1

COUPLING, master cylinder extension

1шт.

3/16 X 1 COTTER PIN

1шт.

465839R1

1/2 X 2-5/16 DLD PIN

1шт.

34

935598R1

COUPLING, slave cylinder extension

1шт.

3/16 X 1 COTTER PIN

1шт.

465839R1

1/2 X 2-5/16 DLD PIN

1шт.

35

634112R1

SUPPORT, cylinder upper

2шт.

1/2 X 1-1/4 MACH BOLT W/NUT

4шт.

3/16 X 1 COTTER PIN

2шт.

654415R1

PIN,1/2" x 3 3/4"

1/2 X 3-3/4 DLD PIN

2шт.

1/2 LOCK WASHER

1шт.

36

150368C91

BRACKET ASSY, cylinder lift support, LH

1шт.

3/16 X 1 COTTER PIN

1шт.

1/2 X 2-13/16 DLD PIN

1шт.

37

164967C91

BRACKET W/SUPPORT, cylinder lift, RH

1шт.

7/16 X 3/4 CRG BOLT W/NUT

1шт.

1/2 X 1 CRG BOLT W/NUT

1шт.

1/2 X 1-1/4 CRG BOLT W/NUT

1шт.

3/16 X 1 COTTER PIN

1шт.

LC175

PIN

1/2 X 2-1/2 DLD PIN

1шт.

7/16 LOCK WASHER

1шт.

1/2 LOCK WASHER

2шт.

17/32 X 1 X 16 GA WASHER

9шт.

38

564808R91

WIPER

SEAL, 1-1/8 shaft

1шт.

39

356005R1

O-RING,1.109" ID x 0.139" Width

1/8 x 1-1/8 ID

1шт.

40

632462R91

BEARING ASSY

1шт.

41

632461R1

COLLAR

1шт.

17045R1

LOCK PIN,5/32" x 1 3/8", Slotted

PIN, 5/32" x 1 3/8", Slotted

1шт.

42

252483R1

O-RING,-218, 70 Duro, 1.234" ID x .139" Thk

1/8 x 1-1/4 ID

1шт.

43

632464R91

ROD ASSY, piston

1шт.

44

632460R91

POPPET ASSY

2шт.

45

632459R1

VALVE SPRING

SPRING

1шт.

47

632458R1

PLUG, seat

1шт.

48

298384R1

OIL SEAL

O-RING, 3/32 x 1-11/16 ID

1шт.

49

632463R91

HEAD ASSY

1шт.

50

599991R1

BARREL ASSY

1шт.

51

609985R1

ROD

piston

1шт.

52

SEAL ASSY, Order repair kit 609986R91

1шт.

53

WASHER, back-up, Order repair kit 609986R91

1шт.

54

O-RING, Order repair kit 609986R91

1шт.

55

SNAP RING, Order repair kit 609986R91

1шт.

56

SPOOL, single action, Order valve assy, 935585R91, ref. no. 18

1шт.

57

252707R1

O-RING,0.103" Thk x 0.75" ID, -116, Cl 5, 75 Duro

3шт.

58

588342R1

PLUG

hex.

1шт.

59

935586R91

PLUNGER, lockout

1шт.

60

588351R91

VALVE

POPPET ASSY

1шт.

61

574789R1

SPRING

lockout

1шт.

62

252739R1

O-RING,0.103" Thk x 0.487" ID, -112, Cl 5, 75 Duro

1шт.

63

588347R1

PLUG

1шт.

64

588343R91

CAP ASSY

1шт.

5/16-24 NF X 3/4 CAP SCREW

1шт.

5/16-24 NF JAM NUT

1шт.

65

572998R1

SNAP RING

1шт.

66

557268R1

WASHER

1шт.

67

588353R1

SPRING

spool centering

1шт.

68

588345R1

SLEEVE

spool

1шт.

69

11002VA

WASHER

1шт.

70

935670R1

ANGLE, hydraulic tube clip holder

3шт.

71

935642R1

BRACKET, hydraulic tube clip holder

1шт.

72

935771R11

PIPE W/NUT AND SLEEVE, Serial Range: valve-feeder

1шт.

73

935766R11

PIPE W/STUD, feeder

1шт.

74

162376C91

PIPE W/SPUD, platform extension, 18-ft. platforms

3шт.

46

369384R1

O-RING,0.072" Thk x 0.414" ID, -905, Cl 6, 90 Duro

5-1, 90 Duro, .414" ID x .072" Thk

1шт.

75

27385D

CLIP

3шт.

76

589980R2

CLIP

11шт.

77

632454R91

HYDRAULIC HOSE,0.31" ID x 30.00", SAE 100R1 Class B

HOSE ASSY

2шт.

78

364839R1

O-RING,0.078" Thk x 0.468" ID, -906, Cl 6, 90 Duro

6-1, 90 Duro, .468" ID x .078" Thk, for use with 825295C91 cylinder

1шт.

79

164787C1

PLATE, orifice

1шт.

159836C91

KIT

ASSY, seal repair, For master cylinder 632457R91

1шт.

609986R91

SEAL KIT

ASSY, seal repair, For slave cylinder 825295C91

1шт.

Выбрано товаров: 126