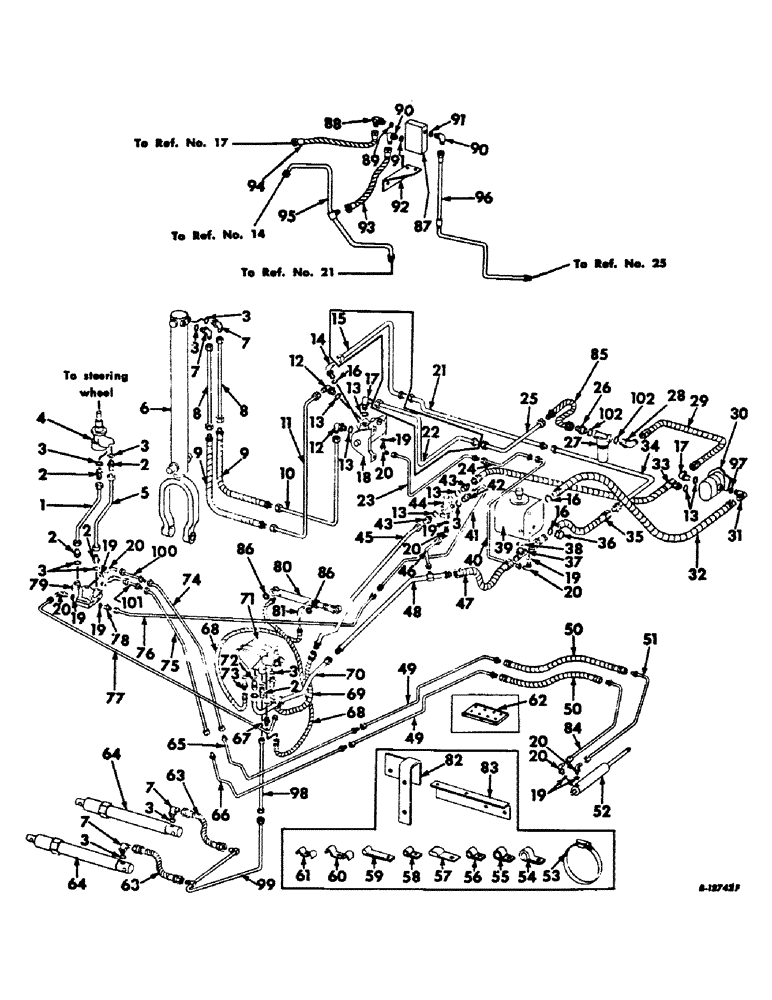
Запчасти Case IH 403 (132) - HYDRAULIC DIAGRAM, SIDE LEVELING (35) - HYDRAULIC SYSTEMS

Схема запчастей Case IH 403 - (132) - HYDRAULIC DIAGRAM, SIDE LEVELING (35) - HYDRAULIC SYSTEMS
12
88
18
1
38
3
25
20
90
27
17
25
22
16
85
31
60
92
20
14
76
2
19
19
13
43
50
16
32
13
13
8
93
55
75
13
3
44
7
79
19
28
4
20
13
69
91
24
86
7
102
54
64
63
51
2
7
29
7
77
49
3
9
3
78
89
3
50
45
87
11
98
41
49
19
3
56
94
3
20
67
91
8
43
30
5
37
19
33
21
81
2
74
90
65
63
20
16
61
17
68
64
97
83
13
101
2
40
20
57
46
19
62
70
19
80
71
3
15
48
68
23
59
2
39
66
20
102
42
34
9
86
14
95
58
72
73
35
47
12
84
17
36
52
26
100
96
10
6
3
21
82
99
53
FIT
1:1
100%

Артикул

Название

Примечание

Количество

1

588537R11

TUBE W/NUT AND SLEEVE ASSY, steering hand pump to valve pressure, RH, Serial no. 940 and below

1шт.

1

939252R11

PIPE ASSY, steering hand pump to valve pressure, RH, Serial no. 941 and above

1шт.

2

9410203

HYD CONNECTOR,3/4"-16, 37 Degree x 3/4"-16, O-Ring

CONNECTOR

5шт.

3

570828R1

O-RING,0.087" Thk x 0.644" ID, -908, Cl 6, 90 Duro

5шт.

4

378578R95

HYDRAULIC STEERING

PUMP ASSY, steering hand, For components see list of parts under details of steering hand pump

1шт.

5

633210R11

TUBE W/NUT AND SLEEVE ASSY, steering hand pump to valve pressure, LH, Serial no. 940 and below

1шт.

5

939254R11

PIPE ASSY, steering hand pump to valve pressure, LH, Serial no. 941 and above

1шт.

6

583894R92

CYLINDER ASSY, side leveling, For components see list of parts under details of side leveling cylinder

1шт.

7

9410977

ELBOW,90 Degree, 3/4"-16, 37 Degree x 3/4"-16, O-Ring

4шт.

8

628675R11

TUBE W/NUT AND SLEEVE ASSY, side leveling cylinder upper 0.5" OD, 19.5" Length

2шт.

9

563941R92

HOSE ASSY, leveling cylinder

2шт.

10

628724R11

TUBE W/NUT AND SLEEVE ASSY, side leveling pressure return

1шт.

11

628722R11

TUBE W/NUT AND SLEEVE ASSY, side leveling pressure extension

1шт.

12

936450R91

ELBOW,90 Degree, 3/4"-16, 37 Degree x 7/8"-14, O-Ring

2шт.

13

364885R1

O-RING,0.097" Thk x 0.755" ID, -910, Cl 6, 90 Duro

7шт.

14

9410979

ELBOW,90 Degree, 1 1/16"-12, 37 Degree x 1 1/16"-12, O-Ring

1шт.

15

654590R11

TUBE W/NUT AND SLEEVE ASSY, leveling return front, Serial no. 805 and below

1шт.

16

368269R1

O-RING,0.116" Thk x 0.924" ID, -912, Cl 6, 90 Duro

Serial no. 940 and below

5шт.

16

296247R1

O-RING,16-1, 90 Duro, 1.171" ID x .116" Thk

hydraulic oil reservoir, Serial no. 941 and above

3шт.

17

9410978

ELBOW,90 Degree, 7/8"-14, 37 Degree x 7/8"-14, O-Ring

3шт.

18

573902R93

VALVE ASSY, side leveling, For components see list of parts under details of side leveling valve

1шт.

19

364839R1

O-RING,0.078" Thk x 0.468" ID, -906, Cl 6, 90 Duro

6-1, 90 Duro, .468" ID x .078" Thk

8шт.

20

9410976

ELBOW,90 Degree, 9/16"-18, 37 Degree x 9/16"-18, O-Ring

5шт.

21

628691R11

TUBE W/NUT AND SLEEVE ASSY, leveling return center 0.75" OD, 46.68, 17.68" Length

1шт.

22

628693R11

TUBE W/NUT AND SLEEVE ASSY, filter to side leveling valve front, Serial no. 805 and below

1шт.

23

654591R11

TUBE W/NUT AND SLEEVE ASSY, front bleed

1шт.

24

628719R11

TUBE W/NUT AND SLEEVE ASSY, leveling valve bleed center

1шт.

25

628678R11

TUBE W/NUT AND SLEEVE ASSY, filter to side leveling valve rear 0.625" OD, 36.56, 11.88" Length

1шт.

26

573206R1

HYD CONNECTOR,7/8"-14, 37 Degree x 1 1/16"-12, O-Ring

CONNECTOR, hydraulic oil filter

1шт.

27

573200R91

FILTER

ASSY, hydraulic oil, For components, See list of parts under details of hydraulic oil filter

1шт.

28

633460R1

X

ELBOW

1шт.

29

309135R91

HOSE ASSY, Serial Range: pump-filter

1шт.

30

632862R91

PUMP ASSY, hydraulic leveling, For components see list of parts under details of hydraulic leveling pump, Serial no. 940 and below

1шт.

30

154680C92

PUMP

ASSY, hydraulic leveling, For components see list of parts under details of hydraulic leveling pump, Serial no. 941 and above

1шт.

31

9402867

ELBOW,90 Degree, 1 1/16"-12, 37 Degree x 3/4"-14, NPTF

Serial no. 940 and below

1шт.

31

9410981

ELBOW,90 Degree, 1 5/16"-12, 37 Degree x 1 5/16"-12, O-Ring

Serial no. 941 and above

1шт.

32

629289R91

HOSE ASSY, leveling suction, Serial no. 940 and below

1шт.

32

154820C91

HOSE ASSY, leveling suction, Serial no. 941 and above

1шт.

33

653319R91

HOSE ASSY

1шт.

34

628692R11

TUBE W/NUT AND SLEEVE ASSY, leveling return rear 0.75" OD, 31.12, 5.06" Length

1шт.

35

633301R91

HOSE ASSY, platform lift return

1шт.

36

9410363

PLUG

1шт.

37

574873R91

TEE, reservoir return

1шт.

38

296247R1

O-RING,16-1, 90 Duro, 1.171" ID x .116" Thk

1шт.

39

588295R91

RESERVOIR ASSY, hydraulic oil, For components see list of parts under details of hydraulic oil reservoir, Serial no. 940 and below

1шт.

39

154747C92

RESERVOIR ASSY, hydraulic oil, For components see list of parts under details of hydraulic oil reservoir, Serial no. 941 and above

1шт.

40

628720R11

TUBE W/NUT AND SLEEVE ASSY, rear bleed

1шт.

41

654581R11

TUBE W/NUT AND SLEEVE ASSY, power steering pressure

1шт.

42

587639R1

HYD CONNECTOR,9/16"-18, 37 Degree x 3/4"-18, O-Ring

CONNECTOR

1шт.

43

9410204

HYD CONNECTOR,7/8"-14, 37 Degree x 7/8"-14, O-Ring

CONNECTOR

2шт.

44

570830R91

FLOW DIVIDER ASSY, For components see list of parts under details of flow divider

1шт.

45

627441R11

TUBE ASSY, lower pressure 0.625" OD, 72, 5.43" Length

1шт.

46

654578R11

TUBE W/NUT AND SLEEVE ASSY, power steering relief valve return 0.375" OD, 5.32, 3.75" Length

1шт.

47

633301R91

HOSE ASSY, level return

1шт.

48

654579R11

TUBE W/NUT AND SLEEVE ASSY, platform lift upper return

1шт.

49

654586R11

TUBE W/NUT AND SLEEVE ASSY, steering rear bail 1.375" OD, 61.5, 2.62" Length

2шт.

50

632455R91

HOSE

ASSY, cylinder to lower tubing

2шт.

51

654576R11

TUBE W/NUT AND SLEEVE ASSY, steering cylinder to hose upper

1шт.

52

633309R91

CYLINDER ASSY, steering, For components see list of parts under details of steering cylinder

1шт.

53

274089R91

CLAMP

4шт.

53

274090R91

HOSE CLAMP,3.75/4.63 Type F Worm

CLAMP

1шт.

53

274088R91

HOSE CLAMP,2.25/3.13 Type F Worm

CLAMP

1шт.

54

573099R2

CLIP

7шт.

55

567895R2

CLIP

5шт.

56

587501R2

CLAMP

CLIP, tube

3шт.

5/16 X 3/4 CRG BOLT W/NUT

1шт.

5/16 X 3/4 MACH BOLT W/NUT

4шт.

5/16 LOCK WASHER

5шт.

57

56522R1

CLIP

3шт.

58

589980R2

CLIP

hydraulic tube, 3/8

3шт.

58

935765R1

CLIP, level valve bleed center

1шт.

59

633125R2

CLAMP

CLIP

1шт.

60

588322R2

CLIP

1шт.

61

561529R2

CLIP

1шт.

62

150874C91

CLAMP ASSY, hydraulic tube holder

2шт.

63

587582R91

HOSE ASSY.

HOSE ASSY, platform lift cylinder

2шт.

64

570799R91

CYLINDER ASSY, platform lift, Optional for cylinder assy 570801R92 and 383762R91, For components see list of parts under details of platform lift cylinder

1шт.

64

570801R92

CYLINDER ASSY, platform lift, Optional for cylinder assy 570799R91 and 383762R91, For components see list of parts under details of platform lift cylinder

1шт.

64

383762R91

CYLINDER BLOCK

CYLINDER ASSY, platform lift, Optional for cylinder assy 570799R91 and 570801R92, For components see list of parts under details of platform lift cylinder

1шт.

65

654582R11

TUBE W/NUT AND SLEEVE ASSY, steering front bail upper

1шт.

66

654583R11

TUBE W/NUT AND SLEEVE ASSY, steering front bail lower

1шт.

67

629349R1

HYD CONNECTOR,7/16"-20, 37 Degree x 3/4"-16, O-Ring

CONNECTOR, propulsion control

2шт.

68

574499R91

HOSE ASSY, propulsion control cylinder, 20 inch

2шт.

69

631163R91

HOSE ASSY.

HOSE ASSY, valve pressure

1шт.

70

588538R91

TUBE ASSY, front return, Not for use w/hyd reel drive

1шт.

70

935673R91

TUBE ASSY, front return, For use w/hyd reel drive

1шт.

71

156201C92

LOCK VALVE

VALVE ASSY, propulsion drive and platform lift, For components see breakdown under propulsion drive and platfrom lift valve

1шт.

72

587577R1

CONNECTION,1 1/16"-12, 37 Degree x 3/4"-16, O-Ring

CONNECTOR, platform lift tube

1шт.

73

629349R1

HYD CONNECTOR,7/16"-20, 37 Degree x 3/4"-16, O-Ring

CONNECTOR

1шт.

74

633208R11

TUBE W/NUT AND SLEEVE ASSY, steering valve to cylinder lower front

1шт.

75

588534R11

TUBE W/NUT AND SLEEVE ASSY, steering valve to cylinder upper front

1шт.

76

588533R11

TUBE W/NUT AND SLEEVE ASSY, steering flow divider to valve front, Serial no. 940 and below

1шт.

76

939256R11

PIPE ASSY, steering flow divider to valve front, Serial no. 941 and above

1шт.

77

628686R11

TUBE W/NUT AND SLEEVE ASSY, steering valve return, Serial no. 940 and below

1шт.

77

939253R11

PIPE ASSY, steering valve return, Serial no. 941 and above

1шт.

78

9410202

HYD CONNECTOR,9/16"-18, 37 Degree x 9/16"-18, O-Ring

CONNECTOR

1шт.

79

379645R93

VALVE

ASSY, steering, For components see list of parts under details of steering valve, Serial no. 1089 and below

1шт.

79

527492R91

LOCK VALVE

VALVE ASSY, steering, For components see list of parts under details of steering valve, Serial no. 1090 and above

1шт.

80

154132C91

CYLINDER BLOCK

CYLINDER ASSY, propulsion control, For components see list of parts under details of propulsion cylinder

1шт.

81

105422

ELBOW UNION

ELBOW, 1/8-90 deg street

1шт.

82

633127R1

BRACKET, leveling system pressure tube

1шт.

83

150860C1

BRACKET, leveling tube front

1шт.

15140R1

BOLT

1/4 x 3 sq-nk crg

3шт.

109084

NUT,1/4"-20, G5

3шт.

103319

LOCK WASHER,1/4"

WASHER, LOCK, 1/4"

3шт.

84

654577R11

TUBE W/NUT AND SLEEVE ASSY, steering cylinder to hose lower

1шт.

85

558412R91

HOSE

ASSY, hydrualic oil filter

1шт.

86

NOT USED

1шт.

87

150886C91

FLOW DIVIDER ASSY, For components see list of parts under details of flow divider, Serial no. 806 and above

1шт.

88

9410977

ELBOW,90 Degree, 3/4"-16, 37 Degree x 3/4"-16, O-Ring

Serial no. 806 and above

1шт.

89

570828R1

O-RING,0.087" Thk x 0.644" ID, -908, Cl 6, 90 Duro

Serial no. 806 and above

1шт.

90

936450R91

ELBOW,90 Degree, 3/4"-16, 37 Degree x 7/8"-14, O-Ring

Serial no. 806 and above

2шт.

91

364885R1

O-RING,0.097" Thk x 0.755" ID, -910, Cl 6, 90 Duro

Serial no. 806 and above

2шт.

92

150861C1

SUPPORT, flow divider, Serial no. 806 and above

1шт.

93

347186R91

HOSE

ASSY, flow divider to leveling valve, Serial no. 806 and above

1шт.

94

150885C91

HOSE,0.38" ID x 25.00", SAE 100R1

Flow Divider to Return Tee, 25 in., Serial no. 806 and Above 0.38" ID x 25.00", SAE 100R1

1шт.

95

150865C91

TUBE ASSY, leveling return front, Serial no. 806 and above

1шт.

96

150887C91

TUBE ASSY, filter to side leveling valve rear, Serial no. 806 and above

1шт.

97

296247R1

O-RING,16-1, 90 Duro, 1.171" ID x .116" Thk

hydraulic pump, Serial no. 941 and above

1шт.

98

154883C91

TUBE ASSY, platform lift cylinder upper

1шт.

99

154884C91

TUBE ASSY, platform lift cylinder lower

1шт.

100

151798C91

PIPE ASSY, steering valve to cylinder front extension, Serial no. 941 and above

1шт.

101

151799C91

PIPE ASSY, steering valve to cylinder front extension, Serial no. 941 and above

1шт.

102

368269R1

O-RING,0.116" Thk x 0.924" ID, -912, Cl 6, 90 Duro

hyd oil filter

2шт.

Выбрано товаров: 124