Запчасти Case IH 403 (140) - HYDRAULIC DIAGRAM, FULL LEVELING, FOR HYDROSTATIC GROUND DRIVE (35) - HYDRAULIC SYSTEMS

Схема запчастей Case IH 403 - (140) - HYDRAULIC DIAGRAM, FULL LEVELING, FOR HYDROSTATIC GROUND DRIVE (35) - HYDRAULIC SYSTEMS
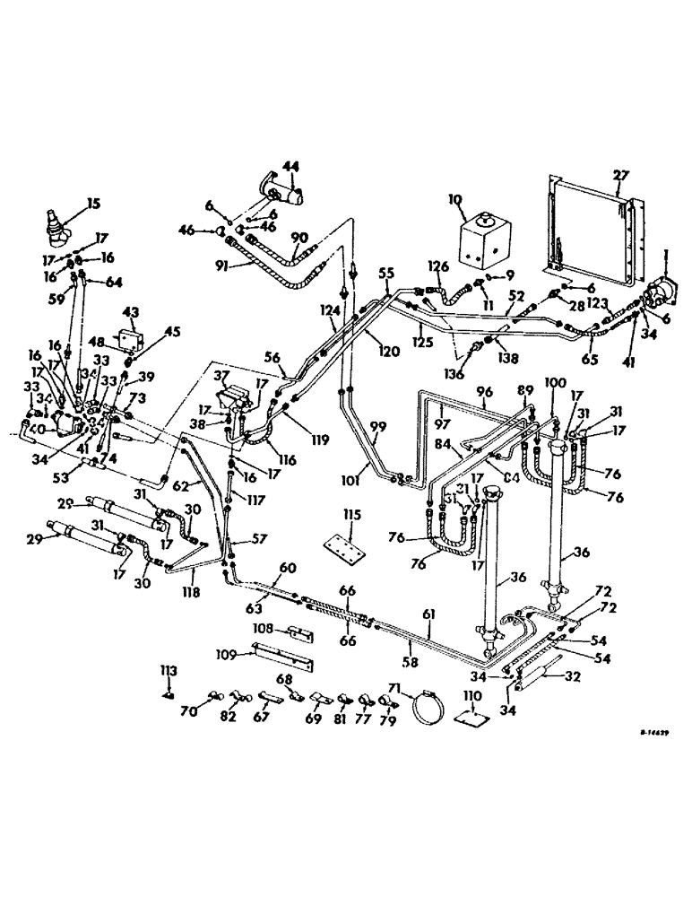
90
72
72
68
30
30
53
17
123
71
43
91
61
99
38
120
62
31
31
76
16
34
11
39
56
73
89
6
16
63
29
77
6
10
118
110
17
97
126
17
29
124
84
67
36
74
70
48
116
17
64
28
34
54
79
41
34
40
16
54
17
37
60
138
136
52
41
125
17
17
119
76
65
31
34
17
31
45
6
59
96
115
66
16
33
16
6
33
15
58
32
66
69
17
82
113
100
34
34
84
57
9
31
109
76
81
44
36
101
108
17
76
55
17
17
27
17
31
33
117
46
46
FIT
1:1
100%

Артикул

Название

Примечание

Количество

1

631143R92

PUMP

ASSY, hydraulic lift, For components see list of parts under details of hydraulic pump

1шт.

2

154680R92

PUMP ASSY, hydraulic leveling, For components see list of parts under details of hydraulic leveling pump

1шт.

3

9410978

ELBOW,90 Degree, 7/8"-14, 37 Degree x 7/8"-14, O-Ring

7/8-14 90 deg

7шт.

4

9410981

ELBOW,90 Degree, 1 5/16"-12, 37 Degree x 1 5/16"-12, O-Ring

1-15/16-12 90 deg

3шт.

5

296247R1

O-RING,16-1, 90 Duro, 1.171" ID x .116" Thk

for 1 in. OD tube

8шт.

6

364885R1

O-RING,0.097" Thk x 0.755" ID, -910, Cl 6, 90 Duro

3/4 x 15/16 x 3/32

16шт.

7

167945C1

TEE, reservoir return

1шт.

8

9410979

ELBOW,90 Degree, 1 1/16"-12, 37 Degree x 1 1/16"-12, O-Ring

1-1/16 90 deg

3шт.

9

368269R1

O-RING,0.116" Thk x 0.924" ID, -912, Cl 6, 90 Duro

for 1 in. OD tube

11шт.

10

172003C91

RESERVOIR ASSY, hydraulic oil, For components see list of parts under hydraulic oil reservoir

1шт.

11

9410205

HYD CONNECTOR,1 1/16"-12, 37 Degree x 1 1/16"-12, O-Ring

CONNECTOR, 1-1/16-12 37 deg

2шт.

12

573200R91

FILTER

ASSY, hydraulic oil, For components see list of parts under details of hydraulic oil filter

1шт.

13

573206R1

HYD CONNECTOR,7/8"-14, 37 Degree x 1 1/16"-12, O-Ring

CONNECTOR, 7/8-14 37 deg

2шт.

14

633460R91

ELBOW,90 Degree, 7/8"-14, 37 Degree x 1 1/16"-12, O-Ring

hydraulic oil filter

2шт.

15

378578R95

HYDRAULIC STEERING

PUMP ASSY, steering hand, For components see list of parts under details of hand steering pump

1шт.

16

9410203

HYD CONNECTOR,3/4"-16, 37 Degree x 3/4"-16, O-Ring

CONNECTOR, 3/4-16

5шт.

17

570828R1

O-RING,0.087" Thk x 0.644" ID, -908, Cl 6, 90 Duro

for 1/2 in. OD tube

16шт.

18

406887R94

PUMP

ASSY, ground drive, For components see list of parts under details of ground drive pump assy

1шт.

413-1036

BOLT,Hex, 5/8" - 11 x 2-1/4", Gr 5

SCREW, 5/8 x 2-1/4 hex-hd cap

4шт.

120639

NUT, 5/8 hex.

4шт.

103325

LOCK WASHER,5/8"

WASHER, LOCK, 5/8"

4шт.

614774R1

WASHER, 21/32 x 1-11/16 x 3/16

4шт.

19

163915C1

FITTING

CONNECTOR, 1-15/16-12 37 deg

3шт.

20

574479R1

HYD CONNECTOR,1 1/16"-12, 37 Degree x 7/8"-14, O-Ring

CONNECTOR, 7/8-14

1шт.

21

156571C91

FILTER CARTRIDGE

FILTER ASSY, oil, For components see list of parts under details of oil filter assy

1шт.

22

167949C1

TUBE ASSY, foot-n-inch valve upper

1шт.

23

165626R92

TUBE ASSY, foot-n-inch valve lower

1шт.

24

164407C92

TUBE

ASSY, foot-n-inch valve lower rear

1шт.

25

403346R92

MOTOR

ASSY, ground drive, For components see list of parts under details of ground drive motor assy

1шт.

179887

CABLE

4шт.

103323

LOCK WASHER,1/2"

WASHER, LOCK, 1/2"

4шт.

283856C1

WASHER

17/32 x 1 x 7 ga

4шт.

26

595408R1

90 ELBOW

1-15/16-12 90 deg

1шт.

27

150947C91

COOLER ASSY, oil

1шт.

18764R1

HARDWARE,Hex, 5/16"-18 x 3/4", G2

BOLT, 5/16 x 3/4 C-Z hex-hd mach

8шт.

120376

NUT,5/16"-18, G5

8шт.

80681

LOCK WASHER,5/16"

WASHER, LOCK, 5/16"

8шт.

28

9410204

HYD CONNECTOR,7/8"-14, 37 Degree x 7/8"-14, O-Ring

CONNECTOR, 7/8-14

1шт.

29

570799R91

CYLINDER ASSY, platform lift

2шт.

30

587582R91

HOSE ASSY.

HOSE ASSY, platform lift cylinder

2шт.

31

9410977

ELBOW,90 Degree, 3/4"-16, 37 Degree x 3/4"-16, O-Ring

3/4-16 9 deg

9шт.

32

633309R91

CYLINDER ASSY, steering, For components see list of parts under detail of steering cylinder

1шт.

33

9410976

ELBOW,90 Degree, 9/16"-18, 37 Degree x 9/16"-18, O-Ring

5шт.

34

364839R1

O-RING,0.078" Thk x 0.468" ID, -906, Cl 6, 90 Duro

6-1, 90 Duro, .468" ID x .078" Thk, for 3/8 OD tube

8шт.

35

583894R92

CYLINDER ASSY, side leveling, For components see list of parts under details of side leveling cylinder

1шт.

36

633312R91

CYLINDER ASSY, rear leveling, For components see list of parts listed under details of rear leveling cylinder

2шт.

37

VALVE ASSY, propulsion drive and platform lift, For components see list of parts under details of propulsion drive and platform lift valve

1шт.

38

587577R1

CONNECTION,1 1/16"-12, 37 Degree x 3/4"-16, O-Ring

CONNECTOR, 3/4-16

1шт.

39

164408C91

TUBE ASSY, foot-n-inch valve return

1шт.

40

527492R91

LOCK VALVE

VALVE ASSY, steering, For components see list of parts under details of steering valve

1шт.

41

9410202

HYD CONNECTOR,9/16"-18, 37 Degree x 9/16"-18, O-Ring

CONNECTOR, 9/16-18

2шт.

42

9402979

TEE,7/16"-20, 37 Degree

7/16-20 hyd tube

1шт.

43

403347R91

LOCK VALVE

VALVE ASSY, foot-n-inch pilot relief, For components see foot-n-inch control pedal and valve

1шт.

44

573902R93

VALVE ASSY, rear and side leveling, For components see list of parts listed under detail of rear and side leveling

1шт.

45

164419C1

CONNECTOR, 1/2-20 hyd tube

1шт.

46

936450R1

ELBOW

7/8-14 90 deg

6шт.

47

150886C91

FLOW DIVIDER ASSY, For components see list of parts listed under details of flow divider

1шт.

49

150861C1

SUPPORT, flow divider

1шт.

179806

BOLT,Hex, 1/4" - 20 x 2 1/4", Gr 5

SCREW, 1/4 x 2-1/4 hex-hd cap

2шт.

179818

BOLT,Hex, 5/16" - 18 x 1", Gr 5

2шт.

109084

NUT,1/4"-20, G5

2шт.

9635082

NUT,5/16" - 18, Gr 5

5/16 hex.

2шт.

103319

LOCK WASHER,1/4"

WASHER, LOCK, 1/4"

2шт.

103320

LOCK WASHER,5/16"

WASHER, LOCK, 5/16"

2шт.

50

150885R91

HOSE ASSY, flow divider to return tee

1шт.

51

347186R91

HOSE

ASSY, flow divider to leveling valve

1шт.

52

628685R11

TUBE ASSY, steering flow divider to valve rear

1шт.

53

164409C91

TUBE ASSY, steering return

1шт.

54

587575R91

HYDRAULIC HOSE,0.31" ID x 24.00", SAE 100R1

HOSE ASSY, power steering tube to steering cylinder

2шт.

55

588532R11

TUBE ASSY, steering flow divider to valve center 0.375" OD, 45.81, 7.22" Length

1шт.

56

939256R11

PIPE ASSY, steering flow divider to valve front

1шт.

57

588534R11

PIPE ASSY, steering valve to cylinder upper front

1шт.

58

588535R11

TUBE ASSY, steering rear bail lower

1шт.

59

939252R11

PIPE ASSY, steering hand pump to valve pressure, RH

1шт.

60

633206R11

TUBE ASSY, steering front bail upper

1шт.

61

633207R11

TUBE ASSY, steering rear bail upper

1шт.

62

633208R11

TUBE ASSY, steering valve to cylinder lower front

1шт.

63

633209R11

TUBE ASSY, steering front bail lower

1шт.

64

939254R11

PIPE ASSY, steering hand pump to valve pressure, LH

1шт.

65

632454R91

HYDRAULIC HOSE,0.31" ID x 30.00", SAE 100R1 Class B

HOSE ASSY, steering lower

1шт.

66

632455R91

HOSE

ASSY, cylinder to lower tubing

2шт.

67

935765R1

CLIP, front pressure steering tube

3шт.

68

589980R2

CLIP

steering cylinder tube and hose

6шт.

17425R1

BOLT,Hex, 5/16" - 18 x 1", Gr 2

5/16 x 1 hex-hd

1шт.

9635082

NUT,5/16" - 18, Gr 5

5/16 hex.

1шт.

103320

LOCK WASHER,5/16"

WASHER, LOCK, 5/16"

1шт.

69

56522R1

CLIP, valve to cylinder front tube

3шт.

70

561529R1

CLIP, steering valve to cylinder bail tube

5шт.

17410R1

BOLT,Hex, 1/4" - 20 x 3/4", Gr 2

1/4 x 3/4 hex-hd

4шт.

17424R1

BOLT,Hex, 1/4" - 20 x 1"

1/4 x 1 hex-hd

1шт.

109084

NUT,1/4"-20, G5

5шт.

103319

LOCK WASHER,1/4"

WASHER, LOCK, 1/4"

5шт.

71

427313R91

HOSE CLAMP,#116, 6.88/7.75 Type F Worm

CLAMP ASSY, rear bail tube

1шт.

71

274090R91

HOSE CLAMP,3.75/4.63 Type F Worm

CLAMP ASSY, side leveling cylinder

1шт.

71

274089R91

CLAMP

ASSY, platform lift tube

1шт.

72

654600R11

TUBE ASSY, axle to cyl to hose steering

2шт.

73

151798C91

PIPE ASSY, steering valve to cylinder front extension

1шт.

74

151799C91

PIPE ASSY, steering valve to cylinder front extension

1шт.

75

563941R92

HOSE ASSY, leveling cylinder

2шт.

76

587582R91

HOSE ASSY.

HOSE ASSY, rear leveling cylinder

4шт.

77

567895R2

CLIP, hydraulic tube

10шт.

78

150908C92

PIPE ASSY, filter to rear leveling valve front

1шт.

79

573099R2

CLIP

hydraulic tube leveling return

5шт.

80

309135R91

HOSE ASSY, Serial Range: pump-filter

2шт.

81

587501R2

CLAMP

CLIP, hydraulic tube

15шт.

18764R1

HARDWARE,Hex, 5/16"-18 x 3/4", G2

BOLT, 5/16 x 3/4 C-Z hex-hd

7шт.

12872R1

BOLT,Short NK, 5/16"-18 x 1", G2, Full Thd

5/16 x 3/4 C-Z sq-nk crg

2шт.

48

369384R1

O-RING,0.072" Thk x 0.414" ID, -905, Cl 6, 90 Duro

5-1, 90 Duro, .414" ID x .072" Thk, For 5/16 OD tube

1шт.

120376

NUT,5/16"-18, G5

7шт.

80681

LOCK WASHER,5/16"

WASHER, LOCK, 5/16"

9шт.

82

588322R1

CLIP

2шт.

17445R1

BOLT,Hex, 5/16" - 18 x 1 1/4"

5/16 x 1-1/4 hex-hd

1шт.

9635082

NUT,5/16" - 18, Gr 5

5/16 hex.

1шт.

103320

LOCK WASHER,5/16"

WASHER, LOCK, 5/16"

1шт.

83

588529R11

TUBE ASSY, filter to rear leveling valve 0.625" OD, 34.55" Length

1шт.

84

588745R11

TUBE ASSY, rear cylinder cross over 1" OD, 41, 10.75" Length

1шт.

85

628678R11

TUBE ASSY, filter to side leveling valve rear 0.625" OD, 36.56, 11.88" Length

1шт.

86

150887C91

TUBE ASSY, filter to side leveling valve front

1шт.

87

628722R11

TUBE ASSY, side leveling pressure ext

1шт.

88

628719R11

TUBE ASSY, leveling valve bleed center

1шт.

89

588746R11

TUBE ASSY, cylinder hose to cross over tube rear

1шт.

90

150910C91

TUBE ASSY, rear leveling pressure extension front

1шт.

91

150909C91

TUBE ASSY, rear leveling pressure return front

1шт.

92

588536R11

TUBE ASSY, leveling return cross over

1шт.

93

628724R11

TUBE ASSY, side leveling pressure return

1шт.

94

150864C91

TUBE ASSY, leveling return front

1шт.

95

628691R11

TUBE ASSY, leveling return center 0.75" OD, 46.68, 17.68" Length

1шт.

96

628682R11

TUBE ASSY, rear leveling valve to cylinder bottom

1шт.

97

628683R11

TUBE ASSY, rear leveling valve to cylinder top

1шт.

98

628675R11

TUBE ASSY, side leveling cylinder upper 0.5" OD, 19.5" Length

2шт.

99

628676R11

TUBE ASSY, rear leveling center lower 0.5" OD, 81.5, 25.38" Length

1шт.

100

628677R11

TUBE ASSY, cylidner hose to cross over tube front

1шт.

101

628681R11

TUBE ASSY, rear leveling center upper 0.5" OD, 82.68, 22.44" Length

1шт.

102

633301R91

HOSE ASSY, leveling return

1шт.

103

154683R91

HOSE ASSY, leveling suction

1шт.

104

628684R11

TUBE ASSY, front bleed

1шт.

105

628692R11

TUBE ASSY, leveling return rear 0.75" OD, 31.12, 5.06" Length

1шт.

106

167947C1

TUBE ASSY, rear bleed

1шт.

107

628741R11

TUBE ASSY, side to rear leveling bleed 0.375" OD, 14.81, 1.84" Length

1шт.

108

167748C1

ANGLE, rear leveling tube

2шт.

17411R1

BOLT,Hex, 5/16"-18 X 3/4", G2

5/16 x 3/4 hex-hd

4шт.

9635082

NUT,5/16" - 18, Gr 5

5/16 hex.

4шт.

103320

LOCK WASHER,5/16"

WASHER, LOCK, 5/16"

4шт.

109

633127R1

BRACKET, leveling system pressure tube

1шт.

110

150860C1

BRACKET, leveling tube front

1шт.

15140R1

BOLT

1/4 x 3 sq-nk crg

3шт.

109084

NUT,1/4"-20, G5

3шт.

103319

LOCK WASHER,1/4"

WASHER, LOCK, 1/4"

3шт.

111

558412R91

HOSE

ASSY, hydraulic oil filter

2шт.

112

567852R1

BRACKET, rear level rear tube clip

1шт.

17411R1

BOLT,Hex, 5/16"-18 X 3/4", G2

5/16 x 3/4 hex-hd

2шт.

9635082

NUT,5/16" - 18, Gr 5

5/16 hex.

2шт.

103320

LOCK WASHER,5/16"

WASHER, LOCK, 5/16"

2шт.

113

167944C1

ANGLE, tube clip

1шт.

179818

BOLT,Hex, 5/16" - 18 x 1", Gr 5

1шт.

9635082

NUT,5/16" - 18, Gr 5

5/16 hex.

1шт.

103320

LOCK WASHER,5/16"

WASHER, LOCK, 5/16"

1шт.

114

564563R1

BRACKET, rear level tube clip, on cylinder beater angle right side

1шт.

17426R1

BOLT,Hex, 3/8" - 16 x 1", Gr 2

3/8 x 1 hex-hd

1шт.

102635

NUT,3/8"-16, G5

1шт.

103321

LOCK WASHER,3/8"

WASHER, LOCK, 3/8"

1шт.

115

150874C91

CLAMP ASSY, hydraulic tube holder

2шт.

116

631163R91

HOSE ASSY.

HOSE ASSY, valve pressure

1шт.

117

154883C91

TUBE ASSY, platform lift cylinder upper

1шт.

118

154884C91

TUBE ASSY, platfrom lift cylinder lower

1шт.

119

588538R91

TUBE ASSY, front return, Not for hydraulic reel drive

1шт.

119

935673R91

TUBE ASSY, front return, For hydraulic reel drive

1шт.

120

167935C1

TUBE ASSY, rear return

1шт.

121

154821C91

TUBE ASSY, platform lift suction

1шт.

122

154683C91

HOSE ASSY, pump suction

1шт.

123

573900R91

HOSE ASSY, pump pressure

1шт.

124

627441R11

TUBE ASSY, lower pressure 0.625" OD, 72, 5.43" Length

1шт.

125

588531R11

TUBE ASSY, rear pressure

1шт.

126

633301R91

HOSE ASSY, platform lift return

1шт.

127

150773C91

PIPE ASSY, motor to pump upper bleed

1шт.

128

167933C1

PIPE ASSY, motor to pump lower bleed

1шт.

129

164089C91

TUBE

ASSY, forward pressure lower

1шт.

180124

BOLT,Hex, 3/8" - 16 x 1 1/4", Gr 5

3/8 x 1-1/4 C-Z hex-hd

4шт.

120382

LOCK WASHER,Helical Spring, 3/8"

WASHER, LOCK, 3/8"

4шт.

130

167936C1

TUBE ASSY, forward pressure upper

1шт.

131

164091C91

TUBE

rearward pressure upper

1шт.

132

167937C1

TUBE ASSY, rearward pressure upper

1шт.

180124

BOLT,Hex, 3/8" - 16 x 1 1/4", Gr 5

3/8 x 1-1/4 C-Z hex-hd

4шт.

120382

LOCK WASHER,Helical Spring, 3/8"

WASHER, LOCK, 3/8"

4шт.

133

343906R1

O-RING,0.139" Thk x 1.296" ID, -219, Cl 6, 90 Duro

1-5/16 x 1-9/16 x 1/8

2шт.

134

165722C1

SLEEVE

hyd ground drive tube rubber

4шт.

135

167934C1

TUBE ASSY, ground drive pump to oil cooler

1шт.

136

167932C1

TUBE ASSY, reservoir to oil cooler

1шт.

137

153677C91

HOSE ASSY, filter to ground drive

1шт.

138

155225C91

HOSE ASSY.

HOSE ASSY, cooler

2шт.

139

150785C91

HOSE ASSY, Serial Range: reservoir-filter

2шт.

140

150778C1

CLAMP, hydraulic pipe upper

1шт.

140

157678C1

CLAMP

hydraulic pipe lower

1шт.

141

150780C1

STRAP

hydraulic pipe cushion upper

1шт.

141

157783C1

STRAP, hydraulic pipe cushion lower

1шт.

NLS

NO LONGER SERVICED

NUT, 7/16 C-Z hex.

4шт.

120383

LOCK WASHER,Helical Spring, 7/16"

WASHER, LOCK, 7/16"

4шт.

142

150779C1

TUBE

STRAP, hydraulic pipe cushion

2шт.

143

574018R1

HYD CONNECTOR,1 5/16"-12, 37 Degree x 1 1/16"-12, O-Ring

CONNECTOR, 1-1/16-12 hyd tube

1шт.

Выбрано товаров: 199