Запчасти Case IH 403 (146) - HYDRAULIC RESERVOIR, NOT HYDROSTATIC GROUND DRIVE (35) - HYDRAULIC SYSTEMS

Схема запчастей Case IH 403 - (146) - HYDRAULIC RESERVOIR, NOT HYDROSTATIC GROUND DRIVE (35) - HYDRAULIC SYSTEMS
6
3
8
4
11
7
5
10
2
9
1
FIT
1:1
100%

Артикул

Название

Примечание

Количество

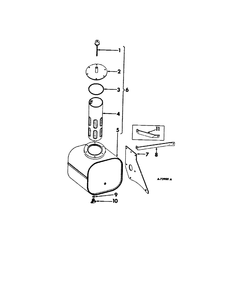
1

936302R91

BREATHER AND DIPSTICK W/GASKET ASSY, Serial no. 940 and below

1шт.

1

159857C91

BREATHER AND DIPSTICK W/GASKET ASSY, Serial no. 941 and above

1шт.

2

567517R1

COVER

1шт.

3

574013R1

GASKET, cover

1шт.

4

588296R91

CARTRIDGE ASSY, screen

1шт.

5

BODY ASSY, reservoir, Order reservoir assy 588295R93 ref no. 6, Serial no. 940 and below

1шт.

5

BODY ASSY, reservoir, Order reservoir assy 154747C91 ref no. 6, Serial no. 941 and above

1шт.

6

588295R93

RESERVOIR ASSY, hydraulic, Serial no. 940 and below

1шт.

6

154747C92

RESERVOIR ASSY, hydraulic, Serial no. 941 and above

1шт.

7

633078C1

SUPPORT, hydraulic reservoir

1шт.

3/8 X 3/4 CAP SCREW

3шт.

3/8 X 1 CAP SCREW

1шт.

3/8 LOCK WASHER

4шт.

8

631936R1

BRACE, hydraulic reservoir mounting, gasoline engine

1шт.

9

296247R1

O-RING,16-1, 90 Duro, 1.171" ID x .116" Thk

reservoir

1шт.

10

574873R91

TEE, reservoir return

1шт.

11

634583R1

BRACE, reservoir, diesel engines

1шт.

Выбрано товаров: 17