Запчасти Case IH 403 (177) - HYDRAULIC STEERING FLOW DIVIDER, SIDE LEVELING (35) - HYDRAULIC SYSTEMS

Схема запчастей Case IH 403 - (177) - HYDRAULIC STEERING FLOW DIVIDER, SIDE LEVELING (35) - HYDRAULIC SYSTEMS
4
12
2
7
10
1
9
13
8
3
6
11
5
FIT
1:1
100%

Артикул

Название

Примечание

Количество

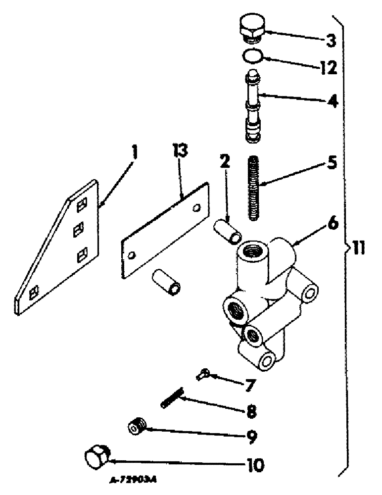
1

653903R1

BRACKET, flow divider

1шт.

1/4 X 2-3/4 CRG BOLT W/NUT

4шт.

3/8 X 1 CRG BOLT W/NUT

2шт.

1/4 LOCK WASHER

4шт.

3/8 LOCK WASHER

2шт.

2

U13039

SPACER

pipe flow divider

2шт.

3

570433R1

PLUG, piston flow divider

1шт.

4

570432R1

PISTON, flow divider

1шт.

5

570435R1

SPRING, flow divider

1шт.

6

BODY, flow divider, Order flow divider assy, 570830R91, ref. no. 11

1шт.

7

570946R1

VALVE, relief

1шт.

8

570949R1

SPRING, relief valve

1шт.

9

9400949

SCREW, relief valve adjusting, 1/2-20NF x 1/2

1шт.

10

570947R1

CAP, relief valve adjusting cover

1шт.

11

570830R91

FLOW DIVIDER ASSY, Includes ref. nos. 3 through 10 and 12

1шт.

1/4 NUT

2шт.

1/4 X 2-1/2 CAP SCREW

2шт.

1/4 LOCK WASHER

2шт.

12

570828R1

O-RING,0.087" Thk x 0.644" ID, -908, Cl 6, 90 Duro

piston plug

1шт.

13

NOT USED

1шт.

Выбрано товаров: 20