Качественные детали и логистика
Оригинальные и аналоговые запчасти с доставкой по России, Казахстану и Беларуси
©2022 PartSell ООО "Система" ИНН 2463123282 ОГРН 1212400004838
Центральный офис: г. Красноярск, Академика Киренского, д.87, пом.4
Телефон: 8 (800) 777-65-74 Email: zakaz@partsell.ru
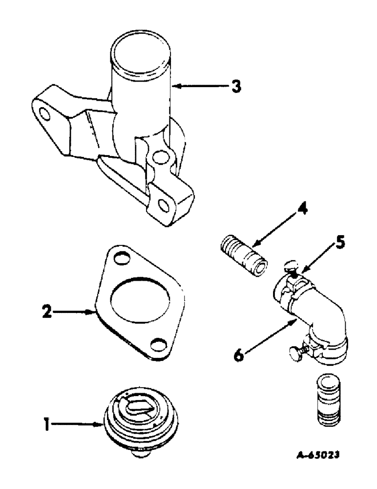
(394) - C-221 ENGINE, 3-9/16 X 3-11/16, HOUSING AND THERMOSTAT
№
Артикул
Название
Примечание
Количество
1
108119R91
THERMOSTAT
148 to 153 deg opening
1шт.
216906R91
158 to 163 deg opening
2
368505R1
GASKET
water outlet
3
380758R1
OUTLET, water
179860
BOLT,Hex, 7/16" - 14 x 1 1/4", Gr 5
SCREW, 7/16-14 x 1-1/4 hex-hd cap
103322
LOCK WASHER,7/16"
WASHER, LOCK, 7/16"
2шт.
4
169193R1
PIPE
NIPPLE, water by-pass, gasoline engines only
5
240369R91
CLAMP, hose, gasoline engines only
6
169192R1
HOSE
ELBOW, water by-pass, gasoline engines only
Выбрано товаров: 0