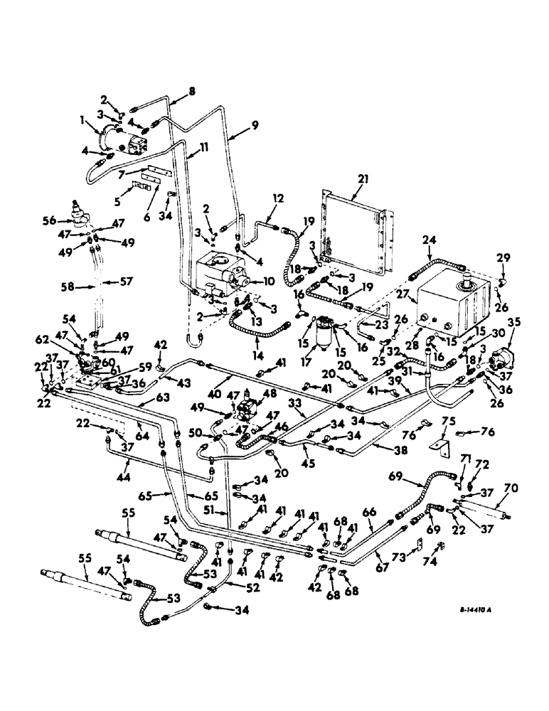
Запчасти Case IH 303 (166) - HYDRAULIC DIAGRAM, FOR HYDROSTATIC GROUND DRIVE (35) - HYDRAULIC SYSTEMS

Схема запчастей Case IH 303 - (166) - HYDRAULIC DIAGRAM, FOR HYDROSTATIC GROUND DRIVE (35) - HYDRAULIC SYSTEMS
19
68
47
65
9
64
70
53
73
14
37
42
45
26
41
42
51
48
66
41
41
27
4
31
54
18
20
41
13
55
25
41
2
47
54
37
2
3
67
5
10
8
39
41
72
21
3
44
57
3
34
41
41
2
49
24
49
37
16
47
43
17
4
58
50
41
69
37
34
53
3
22
47
33
23
34
7
52
60
30
35
55
41
3
76
36
20
15
36
74
16
18
40
1
34
15
37
63
56
54
47
41
26
11
41
29
34
12
32
16
47
26
62
61
68
22
49
15
19
42
15
3
76
37
38
34
47
22
6
18
28
69
34
75
68
46
22
49
65
4
47
37
20
47
59
71
FIT
1:1
100%

Артикул

Название

Примечание

Количество

1

150620C91

MOTOR ASSY, ground drive, For components see list of parts under details of ground drive motor assy

1шт.

179887

CABLE

4шт.

103323

LOCK WASHER,1/2"

WASHER, LOCK, 1/2"

4шт.

283856C1

WASHER

17/32 x 1 x .188

4шт.

2

9410978

ELBOW,90 Degree, 7/8"-14, 37 Degree x 7/8"-14, O-Ring

7/8-14 90 deg

3шт.

3

364885R1

O-RING,0.097" Thk x 0.755" ID, -910, Cl 6, 90 Duro

3/4 x 15/16 x 3/32

7шт.

4

150772C1

UNION

CONNECTOR

4шт.

5

150778C1

CLAMP, hydraulic tube

1шт.

6

150779C1

TUBE

STRAP, hydraulic tube clamp thick

1шт.

7

150780C1

STRAP

hydraulic tube clamp thin

1шт.

14994R1

CARRIAGE BOLT,Sq Nk, 5/16" - 18 x 3/4", Gr 2

BOLT, CARRIAGE, Short NK, 5/16"-18 x 3/4", G2

1шт.

9635082

NUT,5/16" - 18, Gr 5

5/16 hex

1шт.

103320

LOCK WASHER,5/16"

WASHER, LOCK, 5/16"

1шт.

8

154974C91

TUBE ASSY, motor to pump bleed

1шт.

9

154757C91

TUBE ASSY, ground drive forward pressure

1шт.

10

150642C91

PUMP

ASSY, ground drive, For components see list of parts under details of ground drive pump assy

1шт.

13-1040

BOLT,Hex, 5/8" - 11 x 2-1/2", Gr 5

SCREW, 5/8 x 2-1/2 hex-hd cap

4шт.

120639

NUT, 5/8 hex

4шт.

103325

LOCK WASHER,5/8"

WASHER, LOCK, 5/8"

4шт.

12258R1

WASHER

21/32 x 1-1/4 x 11 ga

4шт.

11

154758C91

TUBE ASSY, ground drive rearward pressure

1шт.

12

154979C91

TUBE ASSY, ground drive pump to oil cooler

1шт.

13

574479R1

HYD CONNECTOR,1 1/16"-12, 37 Degree x 7/8"-14, O-Ring

CONNECTOR, 7/8-14

1шт.

14

150785C91

HOSE ASSY, Serial Range: reservoir-filter

2шт.

15

368269R1

O-RING,0.116" Thk x 0.924" ID, -912, Cl 6, 90 Duro

for 1 in. OD tube

2шт.

16

9410979

ELBOW,90 Degree, 1 1/16"-12, 37 Degree x 1 1/16"-12, O-Ring

1-1/16-12 90 deg

1шт.

17

156671C91

FILTER ASSY, oil, For components see list of parts under details of oil filter assy

1шт.

18

587578R1

CONNECTOR, ELEC

CONNECTOR, 7/8-14

2шт.

18

574230R91

HOSE ASSY.

HOSE ASSY, oil cooler to ground drive pump

2шт.

20

567895R2

CLIP, tube

6шт.

21

150947C91

COOLER ASSY, oil

1шт.

18764R1

HARDWARE,Hex, 5/16"-18 x 3/4", G2

BOLT, 5/16 x 3/4 C-Z hex-hd mach

8шт.

120376

NUT,5/16"-18, G5

8шт.

80681

LOCK WASHER,5/16"

WASHER, LOCK, 5/16"

8шт.

22

9410976

ELBOW,90 Degree, 9/16"-18, 37 Degree x 9/16"-18, O-Ring

4шт.

23

154980C91

TUBE ASSY, reservoir to oil cooler

1шт.

24

150785C91

HOSE ASSY, filter to ground drive

1шт.

25

633460R91

ELBOW,90 Degree, 7/8"-14, 37 Degree x 1 1/16"-12, O-Ring

7/8-14 x 1-1/16-12 90 deg

1шт.

26

368269R1

O-RING,0.116" Thk x 0.924" ID, -912, Cl 6, 90 Duro

59/64 x 1-1/16 x 7/16

3шт.

27

154748C91

RESERVOIR ASSY, hyd oil, For components see list of parts under details of hydraulic oil reservoir assy

1шт.

28

103867

PLUG

3/8 sq-hd pipe

1шт.

29

9410979

ELBOW,90 Degree, 1 1/16"-12, 37 Degree x 1 1/16"-12, O-Ring

1-1/16 90 deg

1шт.

30

154972C91

ELBOW, 5/8 tube

1шт.

31

628438R92

HOSE ASSY, suction

1шт.

32

38173R91

HOSE ASSY, platform lift return

1шт.

33

939275R11

PIPE ASSY, platform lift front return

1шт.

34

587501R2

CLAMP

CLIP, tube

6шт.

35

150104C91

PUMP ASSY, hydraulic oil

1шт.

125-10003

NUT,3/8"-16, G5, LH

3/8 hex LH thread

1шт.

Q5035

WASHER

17/32 x 1 x 16 ga

1шт.

36

9410202

HYD CONNECTOR,9/16"-18, 37 Degree x 9/16"-18, O-Ring

CONNECTOR, 9/16-18

2шт.

37

364839

O-RING

for 3/8 OD tubing

7шт.

38

939996R91

PIPE ASSY, pump to platform lift valve upper

1шт.

39

939258R91

PIPE ASSY, pump to valve rear

1шт.

40

939249R11

TUBE ASSY, pump to valve center

1шт.

41

589980R2

CLIP

tube

1шт.

18474R1

BOLT,Hex, 5/16" - 18 x 1", Gr 2

5/16 x 1 C-Z hex-hd mach

3шт.

120376

NUT,5/16"-18, G5

3шт.

80681

LOCK WASHER,5/16"

WASHER, LOCK, 5/16"

3шт.

42

935765R1

CLIP, tube

3шт.

43

939255R11

PIPE ASSY, pump to valve front

1шт.

44

939253R11

PIPE ASSY, steering valve return

1шт.

45

628439R11

PIPE ASSY, platform lift front pressure 1" OD, 69.93, 2.3" Length

1шт.

46

628437R91

HOSE

ASSY, front pressure

1шт.

47

570828R1

O-RING,0.087" Thk x 0.644" ID, -908, Cl 6, 90 Duro

For 1/2 in. OD tubing

9шт.

48

156196C91

VALVE

ASSY, platform lift, For grain and bean special

1шт.

48

156198C91

VALVE ASSY, platform lift, For rice and windrow special

1шт.

49

9410203

HYD CONNECTOR,3/4"-16, 37 Degree x 3/4"-16, O-Ring

CONNECTOR, 3/4-16

4шт.

50

574478R1

UNION

CONNECTOR, return tube

1шт.

51

628434R11

PIPE ASSY, platform lift cylinder upper 1" OD, 39.56, 11.68" Length

1шт.

52

631848R11

PIPE ASSY, platform lift cylinder lower 1" OD, 31.38, 4.87" Length

1шт.

53

587582R91

HOSE ASSY.

HOSE ASSY

1шт.

54

9410977

ELBOW,90 Degree, 3/4"-16, 37 Degree x 3/4"-16, O-Ring

3/4-16 90 deg

3шт.

55

570263R91

CYLINDER ASSY, platform lift, grain and windrow special, Optional for cyl assy, 570251R91 and 383759R92

1шт.

55

570251R91

CYLINDER ASSY, platform lift, grain and windrow special, Optional for cyl assy, 570263R91 and 383759R92

1шт.

55

383759R92

CYLINDER ASSY, platform lift, grain and windrow special, Optional for cyl assy, 570263R91 and 570251R91

1шт.

55

574016R91

CYLINDER ASSY, platform lift, grain w/18.4-26 main wheel tires and rice special, Optional for cyl assy, 570252R91 and 383760R92, For components see list of parts under details of platform lift cylinder

1шт.

55

570252R91

CYLINDER ASSY, platform lift, grain w/18.4-26 main wheel tires and rice special, Optional for cyl assy, 574016R91 and 383760R92

1шт.

55

383760R92

CYLINDER ASSY, platform lift, grain w/18.4-26 main wheel tires and rice special, Optional for cyl assy, 574016R91 and 570252R91

1шт.

55

570799R91

CYLINDER ASSY, platform lift, heavy duty for use with 3 row corn head, Optional for cylinder assy, 570801R92 and 383762R92

1шт.

55

570801R92

CYLINDER ASSY, platform lift, heavy duty for use with 3 row corn head, Optional for cylinder assy, 570799R91 and 383762R92

1шт.

55

383762R92

CYLINDER ASSY, platform lift, heavy duty for use with 3 row corn head, Optional for cylinder assy, 570799r91 and 570801R92

1шт.

56

378578R93

HYDRAULIC STEERING

PUMP ASSY, steering hand, For components see list of parts under details of steering pump assy

1шт.

57

939254R11

PIPE ASSY, hand pump to valve left

1шт.

58

939252R11

PIPE ASSY, hand pump to valve right

1шт.

59

633383R1

BLOCK, steering valve mounting

1шт.

60

362795R1

O-RING, 15/16 x 1-1/8 x 3/32

1шт.

61

369908R1

O-RING,0.103" Thk x 0.799" ID, -117, Cl 5, 75 Duro

13/16 x 1 x 3/32

1шт.

62

396726R91

LOCK VALVE

VALVE ASSY, steering, For components see list of parts under details of steering valve assy

1шт.

NLS

NO LONGER SERVICED

1шт.

17521R1

BOLT,Hex, 3/8" - 16 x 2", Gr 2

3/8 x 2 hex-hd mach

2шт.

102635

NUT,3/8"-16, G5

1шт.

103321

LOCK WASHER,3/8"

WASHER, LOCK, 3/8"

1шт.

63

654585R11

PIPE ASSY, steering valve to cylinder front upper 1.375" OD, 39.75, 4.81" Length

1шт.

64

654584R11

PIPE ASSY, steering valve to cylinder front lower 1.375" OD, 41.06, 5.24" Length

1шт.

65

155954C91

TUBE ASSY, steering valve to cylinder center

2шт.

66

156263C91

TUBE ASSY, valve to cylinder rear, grain, windrow special bean and adjustable guide wheel axle 68 in. to 84 in.

1шт.

66

154977C91

TUBE ASSY, valve to cylinder rear upper, rice and adjustable guide wheel axle 52 in. to 68 in.

1шт.

67

156263C91

TUBE ASSY, valve to cylinder rear, grain windrow special bean and adjustable guide wheel axle 68 in. to 84 in.

1шт.

67

154978C91

TUBE ASSY, valve to cylinder rear lower, rice and adjustable guide wheel axle 52 in. to 68 in.

1шт.

68

935765R1

CLIP, tube

2шт.

68

589980R2

CLIP

3/8

1шт.

9635884

BOLT,Hex, 5/16" - 18 1", Full Thd, Gr 5

5/16 x 1 C-Z hex-hd

2шт.

120376

NUT,5/16"-18, G5

2шт.

80681

LOCK WASHER,5/16"

WASHER, LOCK, 5/16"

1шт.

69

632454R91

HYDRAULIC HOSE,0.31" ID x 30.00", SAE 100R1 Class B

HOSE ASSY, adjustable guide wheel axle wide

2шт.

69

632455R91

HOSE

ASSY, grain and rice, Not adj guide wheel axle

2шт.

69

155309C91

HYDRAULIC HOSE,0.31" ID x 20.00", SAE 100R1

0.31" ID x 20.00", Adjustable Guide Wheel Axle Narrow

2шт.

69

633213R91

HOSE ASSY, rice track and rice rubber with wide nonadjustable guide wheel axle

2шт.

70

654631R91

CYLINDER ASSY, steering

1шт.

70

397689R91

CYLINDER ASSY, steering, Optional for 654631R91 cylinder assy, For components see list of parts under details of steering cylinder

1шт.

71

9410976

ELBOW,90 Degree, 9/16"-18, 37 Degree x 9/16"-18, O-Ring

grain 90º, 9/16"-18, 37º x 9/16"-18, O-Ring

1шт.

72

9410202

HYD CONNECTOR,9/16"-18, 37 Degree x 9/16"-18, O-Ring

CONNECTOR, 9/16-18, rice

1шт.

73

154986C1

STRAP, hydraulic tube clip

1шт.

88574

BOLT,Hex, 5/16" - 18 x 1/2", Gr 5, Full Thd

1шт.

180077

BOLT,Hex, 5/16" - 18 x 3/4", Gr 5

SCREW, 5/16 x 3/4 C-Z hex-hd cap

1шт.

120376

NUT,5/16"-18, G5

1шт.

80681

LOCK WASHER,5/16"

WASHER, LOCK, 5/16"

1шт.

74

154971C1

ANGLE

valve to cyl rear tube clip

1шт.

75

161307C1

ANGLE, steering cylinder hose clip, For adjustable guide wheel axle

1шт.

18780R1

BOLT,Hex, 3/8"-16 x 1 3/4", G2

3/8 x 3/4 C-Z hex-hd cap

1шт.

120377

NUT,3/8" - 16, Gr 5

1шт.

120382

LOCK WASHER,Helical Spring, 3/8"

WASHER, LOCK, 3/8"

1шт.

76

573099R2

CLIP

steering cylinder hose

1шт.

18685R1

CARRIAGE BOLT,Short Sq Nk, 3/8" - 16 x 1 1/2", Gr 2

BOLT, 3/8 x 1-1/2 C-Z sq-nk crg

1шт.

120377

NUT,3/8" - 16, Gr 5

1шт.

120388

3/8 C-Z med lock

1шт.

Q1597

WASHER

13/32 x 3/4 x 16 ga

1шт.

Выбрано товаров: 128