Запчасти Case IH 303 (103) - STEERING, ROSS GEAR, SERIAL NO. 501 TO 1860 AND 2510 TO 7278 (41) - STEERING

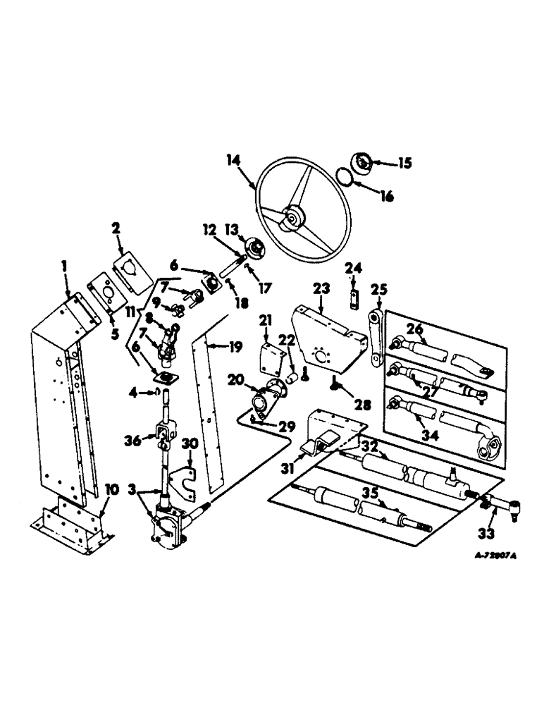
Схема запчастей Case IH 303 - (103) - STEERING, ROSS GEAR, SERIAL NO. 501 TO 1860 AND 2510 TO 7278 (41) - STEERING
4
21
5
28
16
36
17
18
1
15
8
31
12
7
20
24
10
34
11
2
35
6
9
25
29
14
7
23
22
19
3
26
33
32
13
30
27
6
FIT
1:1
100%

Артикул

Название

Примечание

Количество

1

627152R92

COLUMN W/NUT, steering, Consists of column, 634930R91 and base, 634999R91, Serial no. 2750 & below

1шт.

1

634930R91

COLUMN W/NUT, steering, Serial no., Serial Range: 2751-7278

1шт.

1/2 x 3/4 mach bolt

6шт.

114505

JAM NUT,Jam, 1/2"-13, G5

6шт.

1/2 lockwasher

6шт.

17/32 x 1-1/4 no. 16 ga washer

6шт.

2

631481R91

COVER W/CLAMP, steering column top

1шт.

118132

No. 10 x 1/2 slt-rd-hd tapping mach screw

8шт.

3

627141R91

CASE ASSY, steering gear, For components see steering gear case unit, Power steering Serial nos. 501 to 1285 and, Serial Range: 2751-7278

1шт.

3

633745R91

CASE ASSY, steering gear, For components see steering gear case unit, Manual steering Serial no. 501 & above, Power steering Serial no., Serial Range: 1286-1860

1шт.

4

103907

WOODRUFF KEY

KEY, 3/16 x 7/8 Woodruff, (1) used power steering, (2) used manual steering

1шт.

5

627147R11

BRACKET W/NUT, steering shaft bearing upper

1шт.

5/16 x 3/4 crg bolt w/nut

6шт.

5/16 nut

2шт.

5/16 lockwasher

8шт.

6

585035R91

BALL BEARING,0.88" ID x 2.8125" OD x 0.875"

ball

2шт.

7

350361R2

YOKE

KNUCKLE, Optional for knuckle, 369915R1

2шт.

7

369915R1

CLEVIS COUPLING

KNUCKLE, Optional for knuckle, 350361R2

2шт.

8

629610R91

YOKE ASSY

1шт.

9

661372R91

KIT

ASSY, spider

2шт.

10

634999R91

BASE, steering column

1шт.

3/8 x 3/4 crg bolt w/nut

7шт.

3/8 x 1 crg bolt w/nut

2шт.

3/8 x 4-1/2 crg bolt w/nut

4шт.

3/8 lockwasher

13шт.

13/32 x 1 x 16 ga washer

2шт.

11

627142R91

JOINT ASSY, universal

1шт.

12

629608R1

SHAFT, steering upper

1шт.

218443

NUT

3/4 jam nut

1шт.

13

584299R91

BEARING, ball

1шт.

5/16 x 3/4 crg bolt w/nut

3шт.

576517R1

LOCK PIN,1/4" x 1 1/2", Slotted

Pin, 1/4" x 1 1/2", Slotted

3шт.

5/16 lockwasher

3шт.

14

627811R91

WHEEL, steering

1шт.

15

366558R1

PRODUCT GRAPHIC

CAP, steerng wheel, Manual steering

1шт.

15

366566R1

CAP

steering wheel, Power steering

1шт.

16

295204R1

O-RING,0.103" Thk x 2.8" ID, -149, Cl 5, 75 Duro

steering wheel cap

1шт.

17

112139

WOODRUFF KEY,#A, 1/4" x 7/8"

KEY, 1/4 x 7/8 Woodruff

1шт.

18

103907

WOODRUFF KEY

KEY, 3/16 x 7/8 Woodruff

1шт.

19

627150R11

COVER W/WASHER, steering shroud

1шт.

171598

SHIM,.003" Thk

1/4 x 1/2 slt-rd-hd tapping screw

12шт.

5/16 x 1/2 cap screw

1шт.

564791R1

SPRING NUT

1/4 speed nut

12шт.

5/16 lockwasher

2шт.

20

627163R11

EXTENSION W/BUSHING ASSY, steering gear housing, Includes ref. no. 22

1шт.

1/4 x 1 mach bolt w/nut

5шт.

3/8 x 1 mach bolt w/nut

1шт.

1/4 lockwasher

5шт.

3/8 lockwasher

1шт.

21

627148R1

SUPPORT, steering gear case

1шт.

22

559317R1

BUSHING,25.55mm ID x 28.6mm OD x 38.1mm L

steering gear housing extension

1шт.

23

627143R91

SUPPORT W/STOP, steering gear housing extension RH

1шт.

3/8 x 3/4 crg bolt w/nut

3шт.

3/8 lockwasher

3шт.

13/32 x 3/4 x 16 ga washer

1шт.

24

589993R1

STOP, extension steering arm, Power steering

2шт.

3/8 x 1 cap screw

2шт.

3/8 lockwasher

2шт.

25

628978R1

ARM, steering, manual steering

1шт.

25

628979R1

ARM, steering, power steering

1шт.

26

627492R91

TRUSS ROD

DRAG LINK W/END, main, power steering, For use with cylinder, 574041R92 or cylinder, 935156R92

1шт.

114498

JAM NUT,Jam, 5/8"-18, G5

1шт.

27

627161R91

DRAG LINK W/END, main, manual steering

1шт.

114498

JAM NUT,Jam, 5/8"-18, G5

1шт.

28

570028R91

BOLT

STOP W/BOLT AND WASHER, steering arm

1шт.

114503

JAM NUT,Jam, 3/8"-16, G5

1шт.

29

80711

LUBE NIPPLE,65 Degree, 1/8" NPT x 7/8" lg

FITTING, 1/8 67-1/2 deg elbow lubrication

1шт.

30

633746R1

PLATE, steering gear, manual steering, Serial no. 501 & above, power steering, Serial no., Serial Range: 1286-1860

1шт.

7/16 x 1 cap screw

1шт.

7/16 x 1-1/2 cap screw

2шт.

7/16 lockwasher

3шт.

31

627723R91

ANCHOR W/PLATE, steering cylinder, power steering

1шт.

32

574041R92

CYLINDER BLOCK

CYLINDER AND VALVE ASSY, steering, power steering, For components see steering cylinder unit, For use with hose, 587575R91, Serial no. 7277 & below

1шт.

33

629912R91

END ASSY.

END ASSY, main drag link rear, power steering, For use with 574041R92 or 935156R92 cylinder

1шт.

1/2 x 2-1/2 mach bolt w/nut

1шт.

114498

JAM NUT,Jam, 5/8"-18, G5

1шт.

1/2 lockwasher

1шт.

33

565493R91

END ASSY, main drag link rear, power steering, For use with 629266R92 steering cylinder

1шт.

5/8 x 2-3/4 mach bolt w/nut

1шт.

114498

JAM NUT,Jam, 5/8"-18, G5

1шт.

5/8 lockwasher

1шт.

34

629278R91

DRAG LINK W/END, main, power steering, For use with cylinder, 629266R92, Serial no., Serial Range: 501-4806

1шт.

114498

JAM NUT,Jam, 5/8"-18, G5

1шт.

35

629266R92

CYLINDER

1шт.

CYLINDER AND VALVE ASSY, steering, For components see list of parts under details of hydraulic steering cylinder, For use with hose assy, 653909R91, Monroe, power steering Serial no. 501 to 4806, Order kit assy,1 56165C91, For components see list of parts under power steering kit

1шт.

35

935156R92

CYLINDER AND VALVE ASSY, steering, For components see list of parts under details of hydraulic steering cylinder, For use with hose assy, 587575R91, Monroe, power steering Serial no., Serial Range: 4807-7278

1шт.

36

634881R91

SHAFT W/KNUCKLE ASSY, steering lower, Consists of 350361R92 yoke, 661372R91 kit, center cross, 634704R91 yoke and shaft, manual steering Serial no. 501 & above, power steering Serial no., Serial Range: 1286-1860

1шт.

3/8 x 1-3/4 mach bolt w/nut

1шт.

3/8 lockwasher

1шт.

Выбрано товаров: 89