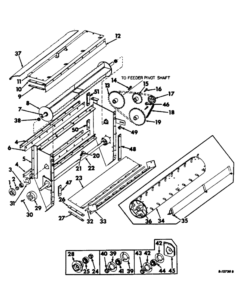
Запчасти Case IH 303 (068) - FEED AND CYLINDER BEATER DRIVE AND STONE, RETARDER, FOR USE WITH WINDROW SPECIAL (72) - SEPARATION

Схема запчастей Case IH 303 - (068) - FEED AND CYLINDER BEATER DRIVE AND STONE, RETARDER, FOR USE WITH WINDROW SPECIAL (72) - SEPARATION
47
20
3
30
22
41
25
39
31
29
49
34
42
39
51
11
21
5
12
7
37
42
4
40
35
16
48
28
4
36
10
17
24
46
33
18
43
44
9
45
23
8
26
14
2
19
27
13
38
15
1
32
6
50
FIT
1:1
100%

Артикул

Название

Примечание

Количество

1

563401R1

FLANGED BEARING

FLANGE, bearing

2шт.

5/16 x 1 crg bolt w/nut

6шт.

5/16 lockwasher

6шт.

2

455102R11

COLLAR

W/SET SCREW ASSY, locking

2шт.

83-1254

SET SCREW,Hex Soc, 1/4"-20 x 1/4"

1/4 x 1/4 cup-pt set screw

2шт.

3

455965R91

BALL BEARING,1.0005" ID x 52 mm OD x 15 mm

ball

2шт.

4

564037R1

STIFFENER, feeder pivot support seal

2шт.

1/4 x 3/4 mach bolt w/nut

1шт.

1/4 lockwasher

1шт.

5

634206R92

SUPPORT W/BOX ASSY, feeder pivot

1шт.

3/8 x 1-1/4 mach bolt w/nut

2шт.

1/2 x 1-1/2 mach bolt w/nut

1шт.

1/2 x 1-3/4 mach bolt w/nut

1шт.

935736R1

NUT, WING

5/16 wing nut

1шт.

3/8 lockwasher

2шт.

1/2 lockwasher

1шт.

575807R1

WASHER

13/32 x 1 x 11 ga washer

2шт.

17/32 x 1 x 11 ga washer

1шт.

6

634230R1

SEAL, feeder pivot support

2шт.

7

634212R1

SHAFT, feed beater

1шт.

1-1/32 x 1-3/4 x 16 ga washer

2шт.

936727R1

WASHER,26.16mm ID x 56.9mm OD x 6.35mm Thk

1-1/32 x 2-1/4 x 1/4 washer

1шт.

8

634221R91

BEATER W/BLADE ASSY, feed

1шт.

9

634570R1

STRIP, feeder extension cover seal

2шт.

1/4 x 3/4 mach bolt w/nut

6шт.

1/4 lockwasher

6шт.

10

634569R1

SEAL, feeder extension cover

2шт.

11

634215R91

COVER W/HANDLE, feeder extension

1шт.

12

634371R1

DEFLECTOR, feed beater

1шт.

13

634545R91

SPROCKET ASSY.

SPROCKET W/HUB, feeder jackshaft drive, 35T

1шт.

14

Q1497

KEY,Gib, 3/8" Sq x 2"

3/8 x 2 gib

2шт.

15

634191R91

SPROCKET ASSY.

SPROCKET W/HUB, feed beater driven, 22T, Serial no., Serial Range: 501-4803

1шт.

15

936327R91

SPROCKET W/HUB, feed beater driven, 22T, Serial no. 4804 & above

1шт.

16

Q3932

KEY,Gib, 5/16" Sq x 2"

5/16 x 2 gib

1шт.

17

582389R91

DRIVE SPROCKET

SPROCKET ASSY, feed beater drive chain tightener, 15T

1шт.

5/8 x 3-1/4 crg bolt w/nut

1шт.

5/8 lockwasher

1шт.

10629P

21/32 x 1-1/2 x 16 ga washer

3шт.

21/32 x 1-1/4 x 12 ga sq-hole washer

1шт.

575810R1

WASHER

21/32 x 1-1/2 x 11 ga washer

1шт.

18

CHAIN, feed beater drive roller, Use 69 links of 3/4 pitch stock roller chain standard from a 10 ft. roll marked 1793D, connecting link, 1317D and (1) offset connecting lin, 1318D

1шт.

19

634545R91

SPROCKET ASSY.

SPROCKET W/HUB, feed beater drive, 35T, SErial no., Serial Range: 501-4806

1шт.

19

936325R91

SPROCKET ASSY.

SPROCKET W/HUB, feed beater drive, 35T, Serial no. 4807 & above

1шт.

20

634187R1

CLIP, stone retarder door

4шт.

21

7422T

SPRING

stone retarder door clip

4шт.

5/16 x 2-1/4 crg bolt w/nut

1шт.

5/16 lockwasher

1шт.

22

564973R1

JACKSHAFT, feeder

1шт.

23

634224R91

DOOR W/HINGE, stone retarder

1шт.

24

455104R11

COLLAR

W/SET SCREW ASSY, locking, Serial no. 3693 & below

2шт.

102592

SET SCREW,Hex Skt, 3/8" - 16 x 3/8"

3/8 x 3/8 cup-pt set screw

2шт.

25

565672R91

BALL BEARING,1.25" ID x 72 mm OD x 1.53125"

ball, Serial no. 3693 & below

2шт.

26

634541R1

SEAL, stone retarder door

2шт.

1/4 x 3/4 mach bolt w/nut

6шт.

1/4 lockwasher

6шт.

27

634542R1

STRIP, stone retarder door seal

2шт.

28

631633R1

CAGE

BOX, feeder jackshaft bearing, Serial no. 3693 & below

2шт.

29

564493R1

HUB, feeder driven sheave

1шт.

5/16 x 2 mach bolt w/nut

4шт.

5/16 lockwasher

4шт.

30

240

KEY,Gib, 3/8" Sq x 2 1/2"

3/8 x 2-1/2 gib

1шт.

31

454252R1

NO LONGER SERVICED

FLANGE, bearing

2шт.

32

20048K

ROD, stone retarder door hinge

1шт.

33

634218R91

RETARDER W/HINGE, stone

1шт.

3/8 x 1 no. 3 plow bolt w/nut

4шт.

3/8 lockwasher

4шт.

34

634309R91

BEATER W/FINGER, cylinder, Serial no. 2750 & below

1шт.

35

634313R91

COVER W/CLAMP, cylinder beater finger, Serial no. 2750 & below

1шт.

5/16 x 3/4 mach bolt w/nut

24шт.

115548

LOCK WASHER,Int Tooth, 5/16"

WASHER, LOCK, Int Tooth, 5/16"

24шт.

11/32 x 3/4 x 16 ga washer

24шт.

36

634141R1

HUB, cylinder beater, Serial no. 2750 & below

1шт.

3/8 x 1 mach bolt w/nut

12шт.

115549

LOCK WASHER,Int Tooth, 3/8"

WASHER, LOCK, Int Tooth, 3/8"

12шт.

37

634207R1

EXTENSION, feed plate

1шт.

38

M73125

SPACER,1" Pipe x 3/8"

feed beater shaft

2шт.

39

617863R1

FLANGED BEARING

feed jackshaft bearing, Serial no. 3694 & above

4шт.

3/8 x 3/4 crg bolt w/nut

6шт.

3/8 lockwasher

6шт.

40

455104R11

COLLAR

W/SET SCREW ASSY, locking, Serial no. 3694 & above

2шт.

102592

SET SCREW,Hex Skt, 3/8" - 16 x 3/8"

3/8 x 3/8 cup-pt set screw

2шт.

41

455103R91

BEARING

ball, Serial no. 3694 & above

2шт.

42

617863R1

FLANGED BEARING

feeder jackshaft bearing, field improvement package

4шт.

3/8 x 1 crg bolt w/nut

6шт.

3/8 lockwasher

6шт.

43

455104R11

COLLAR

W/SET SCREW ASSY, locking, field improvement package

2шт.

102592

SET SCREW,Hex Skt, 3/8" - 16 x 3/8"

3/8 x 3/8 cup-pt set screw

2шт.

44

455103R91

BEARING

ball, field improvement package

2шт.

45

935607R91

BRACKET W/CHANNEL ASSY, feeder jackshaft bearing support LH

1шт.

45

935608R91

BRACKET W/CHANNEL ASSY, feeder jackshaft bearing support RH

1шт.

3/8 x 1 crg bolt w/nut

5шт.

3/8 lockwasher

5шт.

46

575098R1

SPACER,16.7mm ID x 22.23mm OD x 15.9mm L

feed beater drive chain tightener sprocket, Serial no. 4807 & above

1шт.

47

156171C1

BAR, feeder pivot bracket upper right

1шт.

48

156172C1

BAR, feeder pivot bracket lower right

1шт.

49

156173C1

BAR, feeder pivot support angle rear left

1шт.

50

156174C1

BLOCK, feeder pivot rear support angle stiffener right

1шт.

362441R1

SCREW,Hex, 7/16"-14 x 1 1/2", G8

7/16 x 1-1/2 cap

1шт.

425-107

NUT,7/16"-14, G5

7/16 hex

1шт.

103322

LOCK WASHER,7/16"

WASHER, LOCK, 7/16"

1шт.

51

156175C1

BAR, feeder pivot support angle rear right

1шт.

Выбрано товаров: 101