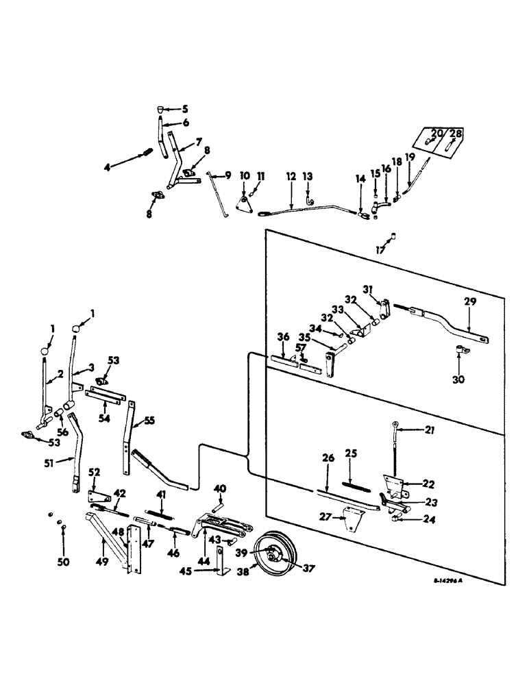
Запчасти Case IH 303 (135) - SEPARATOR DRIVE CLUTCH AND THROTTLE CONTROLS, SERIAL NO.7278 AND ABOVE (72) - SEPARATION

Схема запчастей Case IH 303 - (135) - SEPARATOR DRIVE CLUTCH AND THROTTLE CONTROLS, SERIAL NO.7278 AND ABOVE (72) - SEPARATION
5
8
12
32
42
27
8
44
18
54
14
3
6
50
4
2
47
17
9
31
13
28
1
19
53
34
38
45
22
10
52
41
24
35
1
46
51
16
40
25
48
29
7
49
30
20
43
39
26
15
56
37
11
23
36
32
57
33
21
53
55
FIT
1:1
100%

Артикул

Название

Примечание

Количество

1

559577R1

KNOB

feeder and separator drive clutch lever, Serial no. 11553 & below

2шт.

1

163574C1

KNOB

feeder and separator drive clutch lever, Serial no. 11554 & above

2шт.

2

938839R91

LEVER ASSY, feeder drive clutch

1шт.

3

938843R91

LEVER ASSY, separator drive clutch

1шт.

4

NOT USED

1шт.

5

611975R1

KNOB, throttle lever

1шт.

6

938835R1

LEVER, throttle

1шт.

7

938836R91

LEVER ASSY, throttle control

1шт.

8

938814R91

BEARING

ASSY, throttle control

2шт.

14994R1

CARRIAGE BOLT,Sq Nk, 5/16" - 18 x 3/4", Gr 2

BOLT, CARRIAGE, , w/Nut Short NK, 5/16"-18 x 3/4", G2

4шт.

103320

LOCK WASHER,5/16"

WASHER, LOCK, 5/16"

4шт.

9

938816R1

ROD, vertical

1шт.

103385

COTTER PIN,1/8" x 1"

PIN, SPLIT (COTTER), 1/8" x 1"

2шт.

10

627498R91

BELLCRANK ASSY, throttle

1шт.

11

628758R1

SPACER, throttle bellcrank

1шт.

17446R1

BOLT,3/8" - 16 x 1 1/4", Gr 2

3/8 x 1-1/4 mach bolt w/nut

1шт.

103321

LOCK WASHER,3/8"

WASHER, LOCK, 3/8"

1шт.

12

628753R91

ROD ASSY, throttle rear

1шт.

103373

COTTER PIN,3/32" x 3/4"

Pin, Split (Cotter), 3/32" x 3/4"

1шт.

103496

CLEVIS PIN,3/8" x 1.060"

3/8 x 2-1/2 rod end pin

1шт.

60530H

CLEVIS PIN,3/8" x 1"

3/8 x 1 rod end pin

1шт.

13

634461R1

GUIDE, throttle rod

1шт.

14

104038

ADJUSTABLE CLEVIS,3/8"-24 x 2 1/2"

CLEVIS, 3/8

1шт.

3/32 x 3/4 cotter pin

1шт.

103496

CLEVIS PIN,3/8" x 1.060"

3/8 x 1-3/32 rod end pin

1шт.

15

568921R1

BUSHING,15.9mm ID x 19.02mm OD x 22.23mm L

1шт.

16

150156C91

LEVER ASSY, rear pivot

1шт.

17496R1

BOLT,Hex, 3/8" - 16 x 1 3/4"

3/8 x 1-3/4 mach bolt w/nut

1шт.

103321

LOCK WASHER,3/8"

WASHER, LOCK, 3/8"

1шт.

Q1505

WASHER

13/32 x 1 x 16 ga washer

1шт.

17

156064C1

SPACER

rear pivot lever

1шт.

18

104037

CLEVIS

5/16

1шт.

103373

COTTER PIN,3/32" x 3/4"

Pin, Split (Cotter), 3/32" x 3/4"

1шт.

327-5094

CLEVIS PIN,5/16" x .940"

5/16 x 31/32 rod end pin

1шт.

Q397

WASHER

17/32 x 3/4 x 16 ga washer

1шт.

19

939299R1

ROD, governor control

1шт.

114492

JAM NUT,Jam, 1/4"-28, G5

1шт.

20

NOT USED

1шт.

21

588785R1

ROD

separator drive clutch rear pivot arm

1шт.

120378

NUT,Hex, 1/2" - 13, Gr 5

NUT, 1/2"-13, G5

2шт.

22

588791R92

SUPPORT ASSY, separator drive clutch rear pivot

1шт.

14995R1

BOLT

3/8 x 3/4 crg bolt w/nut

2шт.

80280503

CARRIAGE BOLT,Sht Sq Nk, 3/8" - 16 x 1", Gr 5, Full Thd

3/8 x 1 crg bolt w/nut

2шт.

103386

COTTER PIN,1/8" x 1 1/4"

Pin, Split (Cotter), 1/8" x 1 1/4"

1шт.

103321

LOCK WASHER,3/8"

WASHER, LOCK, 3/8"

4шт.

578274R1

WASHER

21/32 x 1 x 11 ga washer

3шт.

23

628174R1

ARM, separator drive clutch support

1шт.

24

56530R1

TRUNNION, separator clutch rear pivot arm

1шт.

103049

SPARE PART

3/16 x 1-1/2 cotter

1шт.

21/32 x 1 x 16 ga washer

1шт.

25

55934D

SPRING

separator drive clutch control

1шт.

26

938824R91

BAR ASSY, separator drive clutch front control

1шт.

27

628305R1

SUPPORT, separator drive clutch rear pivot stud

1шт.

15009R1

CARRIAGE BOLT,Short Sq Nk, 7/16" - 14 x 1", Gr 2

BOLT, CARRIAGE, , w/Nut Short NK, 7/16"-14 x 1", G2, Full Thd

2шт.

103322

LOCK WASHER,7/16"

WASHER, LOCK, 7/16"

2шт.

28

305185R1

COUPLING, governor control rod, gasoline and LP gas engines

1шт.

29

NOT USED

1шт.

30

NOT USED

1шт.

31

NOT USED

1шт.

32

NOT USED

1шт.

33

NOT USED

1шт.

34

NOT USED

1шт.

35

NOT USED

1шт.

36

NOT USED

1шт.

37

632591R11

HUB

ASSY, feeder drive clutch pulley, Consists of

1шт.

632592R1

BUSHING

RACE

1шт.

ST1302

BEARING

1шт.

M23538

WASHER

1шт.

17426R1

BOLT,Hex, 3/8" - 16 x 1", Gr 2

3/8 x 1 mach bolt w/nut

3шт.

103321

LOCK WASHER,3/8"

WASHER, LOCK, 3/8"

3шт.

38

568941R11

PULLEY

ASSY, feeder drive clutch

1шт.

39

109461

LUBE NIPPLE,1/8"-27 x .66 lg

NIPPLE, LUBE, 1/8"-27 x .66 lg

1шт.

40

627477R1

SPACER

feeder drive clutch arm

1шт.

41

55934D

SPRING

feeder drive clutch return arm

1шт.

42

627467R91

ROD ASSY, feeder drive clutch upper

1шт.

103373

COTTER PIN,3/32" x 3/4"

Pin, Split (Cotter), 3/32" x 3/4"

1шт.

103496

CLEVIS PIN,3/8" x 1.060"

3/8 x 1-3/32 rod end pin

1шт.

43

627479R1

BUSHING

feeder drive idler pulley

1шт.

44

627476R1

ARM, feeder drive clutch

1шт.

17768R1

BOLT,Hex, 1/2" - 13 x 4 1/2", Gr 2

1/2 x 4-1/2 mach bolt

1шт.

413-1064

BOLT,Hex, 5/8" - 11 x 4", Gr 5

5/8 x 4 cap screw, Course Threads

1шт.

103323

LOCK WASHER,1/2"

WASHER, LOCK, 1/2"

1шт.

103325

LOCK WASHER,5/8"

WASHER, LOCK, 5/8"

1шт.

45

627478R1

RETAINER, feeder drive clutch belt

1шт.

46

628756R91

ROD ASSY, feeder drive clutch lower

1шт.

114505

JAM NUT,Jam, 1/2"-13, G5

1шт.

103373

COTTER PIN,3/32" x 3/4"

Pin, Split (Cotter), 3/32" x 3/4"

1шт.

103496

CLEVIS PIN,3/8" x 1.060"

3/8 x 1-3/32 rod end pin

1шт.

115551

LOCK WASHER,Int Tooth, 1/2"

WASHER, LOCK, Int Tooth, 1/2"

1шт.

47

628698R1

TURNBUCKLE

feeder drive clutch rod

1шт.

48

627470R1

SUPPORT, feeder drive clutch pivot RH

1шт.

48

627471R1

SUPPORT, feeder drive clutch pivot LH

1шт.

49

634460R1

BRACE, feeder drive clutch LH support

1шт.

17412R1

BOLT,Hex, 3/8" - 16 x 3/4", Gr 2

3/8 x 3/4 mach bolt w/nut

1шт.

103321

LOCK WASHER,3/8"

WASHER, LOCK, 3/8"

1шт.

510579R1

WASHER

13/32 x 1-1/4 x 16 ga washer

1шт.

50

NOT USED

1шт.

51

938819R91

SUPPORT

STRAP ASSY, feeder drive clutch

1шт.

103373

COTTER PIN,3/32" x 3/4"

Pin, Split (Cotter), 3/32" x 3/4"

1шт.

129307H

3/8 x 1 rod end pin

1шт.

52

938826R91

PLATE ASSY, feeder drive clutch

1шт.

103384

COTTER PIN,1/8" x 3/4"

Pin, Split (Cotter), 1/8" x 3/4"

1шт.

Q1331

HEADED PIN,3/8" x 2"

3/8 x 2 dld pin

1шт.

53

938814R91

BEARING

ASSY, feeder drive clutch lever

2шт.

14994R1

CARRIAGE BOLT,Sq Nk, 5/16" - 18 x 3/4", Gr 2

BOLT, CARRIAGE, , w/Nut Short NK, 5/16"-18 x 3/4", G2

4шт.

103320

LOCK WASHER,5/16"

WASHER, LOCK, 5/16"

4шт.

54

938817R1

STRAP, separator drive clutch lower connector

2шт.

103373

COTTER PIN,3/32" x 3/4"

Pin, Split (Cotter), 3/32" x 3/4"

2шт.

129307H

3/8 x 1 rod end pin

2шт.

55

938818R1

STRAP, separator drive clutch lever

1шт.

103373

COTTER PIN,3/32" x 3/4"

Pin, Split (Cotter), 3/32" x 3/4"

1шт.

129307H

3/8 x 1 rod end pin

1шт.

56

938847R91

BEARING, needle

1шт.

57

NOT USED

1шт.

Выбрано товаров: 114