Запчасти Case IH 303 (152) - GRAIN TANK UNLOADER AUGER DRIVE (80) - CROP STORAGE/UNLOADING

Схема запчастей Case IH 303 - (152) - GRAIN TANK UNLOADER AUGER DRIVE (80) - CROP STORAGE/UNLOADING
28
12
11
29
10
15
23
24
18
5
19
26
13
9
18
7
21
8
6
16
4
2
20
30
14
1
22
25
3
17
27
FIT
1:1
100%

Артикул

Название

Примечание

Количество

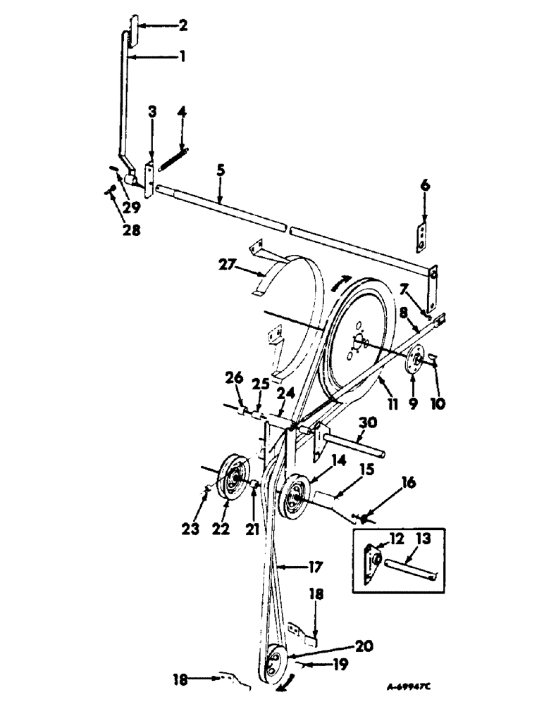
1

631658R91

LEVER W/HUB, unloader, Serial no. 7277 & below

1шт.

1

938883R91

LEVER ASSY, unloader control, Serial no. 7278 & above

1шт.

2

632519R1

GRIP

unloader control lever, Serial no. 7277 & below

1шт.

2

938885R1

GRIP

unloader control lever, Serial no. 7278 & above

1шт.

3

629561R1

BRACKET, unloader front control pipe LH

1шт.

3/8 x 1 mach bolt w/nut

1шт.

3/8 lockwasher

1шт.

4

580107R1

SPRING

unloader lever return

1шт.

3/16 x 1 cotter pin

1шт.

5

631654R91

PIPE W/SHAFT, unloader front control, Serial no. 7277 & below

1шт.

5

938896R1

PIPE ASSY, unloader front control, Serial no. 7278 & above

1шт.

3/16 x 1-3/4 cotter pin

1шт.

1-1/32 x 1-1/2 x 16 ga washer

8шт.

1-3/32 x 1-3/4 x 16 ga washer

4шт.

6

634308R1

PLATE, unloader front control pipe RH pivot

1шт.

3/8 x 1 crg bolt w/nut

2шт.

3/8 lockwasher

2шт.

13/32 x 1 x 16 ga washer

2шт.

7

556587R1

SPACER

unloader control rear pipe

1шт.

8

627909R91

PIPE W/STUD, unloader control rear

1шт.

3/8 x 1-1/4 mach bolt w/nut

1шт.

5/8 nut

2шт.

3/8 lockwasher

1шт.

13/32 x 1 x 16 ga washer

1шт.

575810R1

WASHER

21/32 x 1-1/2 x 11 ga washer

2шт.

9

632539R1

INTAKE ASSY

HUB, unloader auger driven sheave

1шт.

5/16 x 1 mach bolt w/nut

5шт.

5/16 lockwasher

5шт.

10

117977

WOODRUFF KEY

KEY, 5/16 x 1 in Woodruff

1шт.

11

22784KA

PULLEY

SHEAVE W/RING, unloader driven

1шт.

12

631324R92

PLATE W/HUB, unloader drive tightener sheave, Serial no., Serial Range: 501-2750

1шт.

3/8 x 1 crg bolt w/nut

2шт.

3/8 lockwasher

2шт.

13

631325R1

SHAFT, unloader drive tightener sheave pivot, Serial no., Serial Range: 501-2750

1шт.

3/16 x 1-3/4 cotter pin

1шт.

1-1/32 x 1-1/2 x 16 ga washer

1шт.

14

154742C91

PULLEY

ASSY, unloader drive tightener sheave outer

1шт.

5/8 x 1-1/4 mach bolt w/nut

1шт.

21/32 x 1-1/4 x 11 ga washer

7шт.

551177R1

WASHER

21/32 x 1-1/4 x 16 ga washer

2шт.

15

629542R1

SUPPORT, unloader pivot drive belt retainer

1шт.

16

574237R1

WASHER, unloader drive tightener pivot shaft

1шт.

17

562655R1

V-BELT,0.88" W

Unloader drive 0.88" W

1шт.

18

631344R1

GUIDE, unloader belt lower

2шт.

5/16 x 3/4 crg bolt w/nut

4шт.

5/16 lockwasher

4шт.

11/32 x 3/4 x 16 ga washer

4шт.

19

117977

WOODRUFF KEY

KEY, 5/16 x 1 in. Woodruff

1шт.

20

627895R1

PULLEY

SHEAVE, unloader drive

1шт.

21

575098R1

SPACER,16.7mm ID x 22.23mm OD x 15.9mm L

unloader drive tightener sheave

1шт.

22

570265R91

PULLEY

SHEAVE ASSY, unloader drive tightener inner

1шт.

23

576015R1

SPACER,7/8" Tube x 11/16"

unloader drive control rod pivot arm

1шт.

24

631332R91

ARM W/BUSHING ASSY, unloader drive tightener sheave, Includes ref. no. 25

1шт.

25

559317R1

BUSHING,25.55mm ID x 28.6mm OD x 38.1mm L

2шт.

26

583345R1

SPACER, unloader drive tightener sheave pivot shaft

1шт.

27

631336R91

GUIDE W/SUPPORT, unloader drive belt upper

1шт.

5/16 x 1/2 crg bolt w/nut

2шт.

5/16 x 3/4 crg bolt w/nut

2шт.

5/16 lockwasher

4шт.

28

623167R1

BOLT, unloader control lever stop

1шт.

3/8 nut

2шт.

29

Q26

KEY,1/4" Sq x 1 1/4", Par

1/4 x 1-1/4 square

1шт.

30

631324R92

SHAFT W/PLATE ASSY, unloader drive tightener shaft, Serial no. 2751 & above

1шт.

3/8 x 1 crg bolt w/nut

2шт.

3/8 lockwasher

2шт.

1-1/32 x 1-1/2 x 16 ga washer

8шт.

Выбрано товаров: 66