Запчасти Case IH 303 (100) - OPERATORS SEAT, SERIAL NO. 7277 AND BELOW (90) - PLATFORM, CAB, BODYWORK AND DECALS

Схема запчастей Case IH 303 - (100) - OPERATORS SEAT, SERIAL NO. 7277 AND BELOW (90) - PLATFORM, CAB, BODYWORK AND DECALS
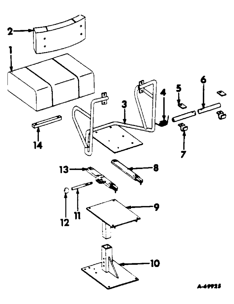
2
13
8
12
1
14
9
4
6
3
7
5
10
11
FIT
1:1
100%

Артикул

Название

Примечание

Количество

1

631730R91

CUSHION ASSY, seat

1шт.

5/16 x 1 mach bolt w/nut

2шт.

5/16 lockwasher

2шт.

2

631729R91

CUSHION ASSY, seat back rest

1шт.

1/4 x 3/4 cd-pltd mach bolt

4шт.

1/4 lockwasher

4шт.

3

631721R91

FRAME W/CLIP, seat back rest

1шт.

5/16 x 3/4 crg bolt w/nut

4шт.

5/16 lockwasher

4шт.

4

627221R1

SPRING, seat

1шт.

5

632704R1

SPACER, seat pivot

2шт.

6

632706R1

SHAFT, seat cross support

1шт.

5/16 x 1-1/2 mach bolt w/nut

2шт.

3/8 x 1-3/8 cap screw

2шт.

5/16 lockwasher

2шт.

3/8 lockwasher

2шт.

7

632703R1

CLAMP

PIVOT, seat

2шт.

8

631731R91

TRACK CHAIN

SLIDE ASSY, seat cushion

1шт.

5/16 x 3/4 crg bolt w/nut

2шт.

5/16 lockwasher

2шт.

9

631709R91

BASE W/TUBE, seat upper

1шт.

10

631710R92

BASE W/TUBE, seat lower

1шт.

5/16 x 3/4 mach bolt w/nut

4шт.

LC175

PIN

1/2 x 2-1/2 dld pin

1шт.

520175R1

CLIP

QUICK ATTACHABLE COTTER PIN

1шт.

5/16 lockwasher

1шт.

11

631733R1

HANDLE, seat cushion slide

1шт.

3/16 x 3/4 cotter pin

2шт.

12

NOT USED

1шт.

13

631732R91

TRACK CHAIN

SLIDE W/LATCH AND SPRING ASSY, seat cushion

1шт.

5/16 x 3/4 crg bolt w/nut

2шт.

5/16 lockwasher

2шт.

14

939226R1

STOP, seat, Bostrom only

1шт.

113916

SCREW

5/16 x 1-1/4 slt-fl-hd screw

2шт.

14

632447R1

STOP, seat, Sears only

1шт.

114663

SCREW,Sl Flat Hd, 5/16" - 18 x 3/4"

5/16 x 3/4 slt-fl-hd screw

2шт.

Выбрано товаров: 0